Номер по Госреестру СИ: 88151-23
88151-23 Система автоматизированная информационно-измерительная коммерческого учета электроэнергии (АИИС КУЭ) ООО "РУСЭНЕРГОСБЫТ" для энергоснабжения ОАО "РЖД" в границах Красноярской железной дороги - филиала ОАО "РЖД"
(Обозначение отсутствует)
Назначение средства измерений:
Система автоматизированная информационно-измерительная коммерческого учета электроэнергии (АИИС КУЭ) ООО «РУСЭНЕРГОСБЫТ» для энергоснабжения ОАО «РЖД» в границах Красноярской железной дороги - филиала ОАО «РЖД» (далее по тексту - АИИС КУЭ) предназначена для измерений активной и реактивной электроэнергии, соотнесения результатов измерений к национальной шкале координированного времени Российской Федерации UTC(SU), а также для автоматизированного сбора, обработки, хранения, формирования отчетных документов и передачи полученной информации заинтересованным организациям в рамках согласованного регламента.
Общие сведения
Дата публикации - 03.02.2023
Срок свидетельства -
Номер записи - 190156
ID в реестре СИ - 1405665
Тип производства - единичное
Описание типа
Поверка
Интервал между поверками по ОТ - 4 года
Наличие периодической поверки - Да
Методика поверки
Модификации СИ
-,
Производитель
Изготовитель - Общество с ограниченной ответственностью "РУСЭНЕРГОСБЫТ" (ООО "РУСЭНЕРГОСБЫТ")
Страна - РОССИЯ
Населенный пункт - г. Москва
Уведомление о начале осуществления предпринимательской деятельности - Да
Махачкала - город на юге России, расположенный на берегу Каспийского моря. Столица Республики Дагестан. Третий по величине город в Северо-Кавказском регионе и крупнейший город в Северо-Кавказском федеральном округе. Махачкала - самый густонаселенный город Северо-Кавказского федерального округа, один из немногих растущих и самый быстрорастущий из крупнейших российских городов, многие из которых в постсоветское время имели отрицательную динамику численности населения.
Современная Махачкала - крупный экономический, административный, политический, научный и культурный центр Юга России. Это единственный незамерзающий российский морской порт на Каспии. Город является крупным промышленным центром Южного федерального округа. Его предприятия специализируются на производстве оборонной, лесной, металлообрабатывающей, электронной, рыбоперерабатывающей и другой продукции. За последние 4 года объем промышленного производства увеличился более чем в 5 раз.
Отчет "Анализ рынка поверки в Махачкале" предоставляет исчерпывающую информацию по деятельности организаций, аккредитованных в Национальной системе аккредитации на право поверки средств измерений в городе Махачкала.
При проведении исследований были введены следующие ограничения:
- в отчете присутствуют организации с первичными или периодическими поверками от 100 шт. с 2017 года и действующими аттестатами аккредитации на текущий год;
- на первом и втором этапах фильтром отсекаются типы СИ с менее чем 10 поверками в год на организацию;
- на первом и втором этапах фильтром отсекаются типы СИ с менее чем 10 поверками в год на организацию;
- место регистрации или осуществления деятельности организаций должно совпадать с выбранным городом;
- топ типов СИ ограничен 500 позициями по каждой организации (сортировка по убыванию количества поверок);
- топ типов СИ ограничен 100 позициями по каждой организации при поиске по видам измерений (сортировка по убыванию количества поверок).
Содержание отчета:
- Список организаций-поверителей, осуществляющих поверку в городе Москва по данным ФСА и ФГИС АРШИН.
- Объемы первичных и периодических поверок за период с 2017г. по н.в.
- Информация о местах осуществления деятельности организаций-поверителей.
- Доля рынка поверок в % среди всех организаций, исследуемого города (предоставление информации в графическом и табличном видах).
- Детальный анализ по каждой из организации, работающей в выбранном городе.
- Анализ деятельности в разрезе первичных, периодических поверок и видов измерений.
- Количество поверок по типам СИ в динамике по годам.
- Индикация импортных аналогов средств поверки (в соответствии с ПЕРЕЧЕНЕМ СИ ОТЕЧЕСТВЕННОГО ПРОИЗВОДСТВА, АНАЛОГИЧНЫХ СРЕДСТВАМ ИЗМЕРЕНИЙ ИМПОРТНОГО ПРОИЗВОДСТВА от 09.2022г)
- Индикация типов СИ по ПП РФ №250 от 20.04.2010 г.
- Быстрый анализ контрагентов организаций-поверителей.
- Анализ цен на поверку СИ по Фед. округу.
Статистика
Кол-во поверок - 4
Выдано извещений - 0
Кол-во периодических поверок - 0
Кол-во средств измерений - 2
Кол-во владельцев - 3
Усредненный год выпуска СИ - 0
МПИ по поверкам - 1386 дн.
Приказы РСТ, где упоминается данный тип СИ
№247 от 2023.02.03 ПРИКАЗ_Об утверждении типов средств измерений (15)
Наличие аналогов СИ: Система автоматизированная информационно-измерительная коммерческого учета электроэнергии (АИИС КУЭ) ООО "РУСЭНЕРГОСБЫТ" для энергоснабжения ОАО "РЖД" в границах Красноярской железной дороги - филиала ОАО "РЖД" (Обозначение отсутствует)
| ИМПОРТНОЕ СИ № в реестре, наименование СИ, обозначение, изголовитель |
ОТЕЧЕСТВЕННЫЙ АНАЛОГ № в реестре, наименование СИ, обозначение, изголовитель |
|---|
Все средства измерений Общество с ограниченной ответственностью "РУСЭНЕРГОСБЫТ" (ООО "РУСЭНЕРГОСБЫТ")
|
№ в реестре cрок св-ва |
Наименование СИ, обозначение, изголовитель | ОТ, МП | МПИ |
|---|---|---|---|
|
79434-20 |
Система автоматизированная информационно-измерительная коммерческого учета электроэнергии (АИИС КУЭ) ООО "РУСЭНЕРГОСБЫТ" для энергоснабжения ОАО "РЖД" в границах Новосибирской области, Общество с ограниченной ответственностью "РУСЭНЕРГОСБЫТ" (ООО "РУСЭНЕРГОСБЫТ") (РОССИЯ г. Москва) |
ОТ МП |
4 года |
|
79732-20 |
Система автоматизированная информационно-измерительная коммерческого учета электроэнергии (АИИС КУЭ) ООО "РУСЭНЕРГОСБЫТ" для энергоснабжения ОАО "РЖД" в границах Самарской области, Общество с ограниченной ответственностью "РУСЭНЕРГОСБЫТ" (ООО "РУСЭНЕРГОСБЫТ") (РОССИЯ г. Москва) |
ОТ МП |
4 года |
|
79731-20 |
Система автоматизированная информационно-измерительная коммерческого учета электроэнергии (АИИС КУЭ) ООО "РУСЭНЕРГОСБЫТ" для энергоснабжения ЗАО "ЧЗМК", Общество с ограниченной ответственностью "РУСЭНЕРГОСБЫТ" (ООО "РУСЭНЕРГОСБЫТ") (РОССИЯ г. Москва) |
ОТ МП |
4 года |
|
79730-20 |
Система автоматизированная информационно-измерительная коммерческого учета электроэнергии (АИИС КУЭ) ООО "РУСЭНЕРГОСБЫТ" для энергоснабжения потребителей ООО "ФС Елабуга", Общество с ограниченной ответственностью "РУСЭНЕРГОСБЫТ" (ООО "РУСЭНЕРГОСБЫТ") (РОССИЯ г. Москва) |
ОТ МП |
4 года |
|
79726-20 |
Система автоматизированная информационно-измерительная коммерческого учета электроэнергии (АИИС КУЭ) ООО "РУСЭНЕРГОСБЫТ" для энергоснабжения ОАО "РЖД" в границах Ленинградской области, Общество с ограниченной ответственностью "РУСЭНЕРГОСБЫТ" (ООО "РУСЭНЕРГОСБЫТ") (РОССИЯ г. Москва) |
ОТ МП |
4 года |
|
79797-20 |
Система автоматизированная информационно-измерительная коммерческого учета электроэнергии (АИИС КУЭ) ООО "РУСЭНЕРГОСБЫТ" для энергоснабжения ОАО "РЖД" в границах Свердловской области, Общество с ограниченной ответственностью "РУСЭНЕРГОСБЫТ" (ООО "РУСЭНЕРГОСБЫТ") (РОССИЯ г. Москва) |
ОТ МП |
4 года |
|
80058-20 |
Система автоматизированная информационноизмерительная коммерческого учета электроэнергии (АИИС КУЭ) ООО "РУСЭНЕРГОСБЫТ" для энергоснабжения ОАО "РЖД" в границах Ульяновской области, Общество с ограниченной ответственностью "РУСЭНЕРГОСБЫТ" (ООО "РУСЭНЕРГОСБЫТ") (РОССИЯ г. Москва) |
ОТ МП |
4 года |
|
79728-20 |
Система автоматизированная информационно-измерительная коммерческого учета электроэнергии (АИИС КУЭ) ООО "РУСЭНЕРГОСБЫТ" для энергоснабжения ОАО "РЖД" в границах Иркутской области, Общество с ограниченной ответственностью "РУСЭНЕРГОСБЫТ" (ООО "РУСЭНЕРГОСБЫТ") (РОССИЯ г. Москва) |
ОТ МП |
4 года |
|
79727-20 |
Система автоматизированная информационно-измерительная коммерческого учета электроэнергии (АИИС КУЭ) ООО "РУСЭНЕРГОСБЫТ" для энергоснабжения потребителей (10 очередь), Общество с ограниченной ответственностью "РУСЭНЕРГОСБЫТ" (ООО "РУСЭНЕРГОСБЫТ") (РОССИЯ г. Москва) |
ОТ МП |
4 года |
|
80631-20 |
Система автоматизированная информационно-измерительная коммерческого учета электроэнергии АИИС КУЭ ООО "РУСЭНЕРГОСБЫТ" для энергоснабжения ОАО "РЖД" в границах Республики Дагестан, Общество с ограниченной ответственностью "РУСЭНЕРГОСБЫТ" (ООО "РУСЭНЕРГОСБЫТ") (РОССИЯ г. Москва) |
ОТ МП |
4 года |
|
80901-21 |
Система автоматизированная информационно-измерительная коммерческого учета электроэнергии (АИИС КУЭ) ООО "РУСЭНЕРГОСБЫТ" для энергоснабжения ОАО "РЖД" в границах Свердловской железной дороги, Общество с ограниченной ответственностью "РУСЭНЕРГОСБЫТ" (ООО "РУСЭНЕРГОСБЫТ") (РОССИЯ г. Москва) |
ОТ МП |
4 года |
|
80900-21 |
Система автоматизированная информационно-измерительная коммерческого учета электроэнергии (АИИС КУЭ) ООО "РУСЭНЕРГОСБЫТ" для энергоснабжения ОАО "РЖД" в границах Республики Татарстан, Общество с ограниченной ответственностью "РУСЭНЕРГОСБЫТ" (ООО "РУСЭНЕРГОСБЫТ") (РОССИЯ г. Москва) |
ОТ МП |
4 года |
|
80899-21 |
Система автоматизированная информационно-измерительная коммерческого учета электроэнергии (АИИС КУЭ) ООО "РУСЭНЕРГОСБЫТ" для энергоснабжения ОАО "РЖД" в границах Республики Чувашия, Общество с ограниченной ответственностью "РУСЭНЕРГОСБЫТ" (ООО "РУСЭНЕРГОСБЫТ") (РОССИЯ г. Москва) |
ОТ МП |
4 года |
|
80898-21 |
Система автоматизированная информационно-измерительная коммерческого учета электроэнергии (АИИС КУЭ) ООО "РУСЭНЕРГОСБЫТ" для энерго-снабжения ОАО "РЖД" в границах Октябрьской железной дороги, Общество с ограниченной ответственностью "РУСЭНЕРГОСБЫТ" (ООО "РУСЭНЕРГОСБЫТ") (РОССИЯ г. Москва) |
ОТ МП |
4 года |
|
80972-21 |
Система автоматизированная информационно-измерительная коммерческого учета электроэнергии (АИИС КУЭ) ООО "РУСЭНЕРГОСБЫТ" для энергоснабжения потребителей в границах Волгоградской области, Общество с ограниченной ответственностью "РУСЭНЕРГОСБЫТ" (ООО "РУСЭНЕРГОСБЫТ") (РОССИЯ г. Москва) |
ОТ МП |
4 года |
|
80971-21 |
Система автоматизированная информационно-измерительная коммерческого учета электроэнергии (АИИС КУЭ) ООО "РУСЭНЕРГОСБЫТ" для энергоснабжения ОАО "РЖД" в границах Томской области, Общество с ограниченной ответственностью "РУСЭНЕРГОСБЫТ" (ООО "РУСЭНЕРГОСБЫТ") (РОССИЯ г. Москва) |
ОТ МП |
4 года |
|
80970-21 |
Система автоматизированная информационно-измерительная коммерческого учета электроэнергии (АИИС КУЭ) ООО "РУСЭНЕРГОСБЫТ" для энергоснабжения ОАО "РЖД" в границах Тамбовской области, Общество с ограниченной ответственностью "РУСЭНЕРГОСБЫТ" (ООО "РУСЭНЕРГОСБЫТ") (РОССИЯ г. Москва) |
ОТ МП |
4 года |
|
80969-21 |
Система автоматизированная информационно-измерительная коммерческого учета электроэнергии (АИИС КУЭ) ООО "РУСЭНЕРГОСБЫТ" для энергоснабжения ОАО "РЖД" в границах Кировской области, Общество с ограниченной ответственностью "РУСЭНЕРГОСБЫТ" (ООО "РУСЭНЕРГОСБЫТ") (РОССИЯ г. Москва) |
ОТ МП |
4 года |
|
81439-21 |
Система автоматизированная информационно-измерительная коммерческого учета электроэнергии (АИИС КУЭ) ООО "ИКЕА Индастри Новгород" и ООО "ИКЕА Индастри Тихвин", 1, 8, 0, 6, 6, 0 Общество с ограниченной ответственностью "РУСЭНЕРГОСБЫТ" (ООО "РУСЭНЕРГОСБЫТ") (РОССИЯ г. Москва) |
ОТ МП |
4 года |
|
81450-21 |
Система автоматизированная информационно-измерительная коммерческого учета электроэнергии (АИИС КУЭ) ООО "РУСЭНЕРГОСБЫТ" для энергоснабжения ОАО "РЖД" в границах Мурманской области, Нет данных Общество с ограниченной ответственностью "РУСЭНЕРГОСБЫТ" (ООО "РУСЭНЕРГОСБЫТ") (РОССИЯ г. Москва) |
ОТ МП |
4 года |
|
81449-21 |
Система автоматизированная информационно-измерительная коммерческого учета электроэнергии (АИИС КУЭ) ООО "РУСЭНЕРГОСБЫТ" для энергоснабжения ОАО "РЖД" в границах Смоленской области, Нет данных Общество с ограниченной ответственностью "РУСЭНЕРГОСБЫТ" (ООО "РУСЭНЕРГОСБЫТ") (РОССИЯ г. Москва) |
ОТ МП |
4 года |
|
81922-21 |
Система автоматизированная информационно-измерительная коммерческого учета электроэнергии (АИИС КУЭ) ООО "РУСЭНЕРГОСБЫТ" для энергоснабжения ОАО "РЖД" в границах Республики Северная Осетия - Алания, 1, 8, 1, 1, 7, 3 Общество с ограниченной ответственностью "РУСЭНЕРГОСБЫТ" (ООО "РУСЭНЕРГОСБЫТ") (РОССИЯ г. Москва) |
ОТ МП |
4 года |
|
81962-21 |
Система автоматизированная информационно-измерительная коммерческого учета электроэнергии (АИИС КУЭ) ООО "РУСЭНЕРГОСБЫТ" для энергоснабжения ОАО "РЖД" в границах Кабардино-Балкарской Республики, 1, 8, 3, 4, 3, 1 Общество с ограниченной ответственностью "РУСЭНЕРГОСБЫТ" (ООО "РУСЭНЕРГОСБЫТ") (РОССИЯ г. Москва) |
ОТ МП |
4 года |
|
81961-21 |
Система автоматизированная информационно-измерительная коммерческого учета электроэнергии (АИИС КУЭ) ООО "РУСЭНЕРГОСБЫТ" для энергоснабжения ОАО "РЖД" в границах Костромской области, 1, 8, 3, 4, 3, 2 Общество с ограниченной ответственностью "РУСЭНЕРГОСБЫТ" (ООО "РУСЭНЕРГОСБЫТ") (РОССИЯ г. Москва) |
ОТ МП |
4 года |
|
82204-21 |
Система автоматизированная информационно-измерительная коммерческого учета электроэнергии (АИИС КУЭ) ООО "РУСЭНЕРГОСБЫТ" для энергоснабжения ОАО "РЖД" в границах Липецкой области, Общество с ограниченной ответственностью "РУСЭНЕРГОСБЫТ" (ООО "РУСЭНЕРГОСБЫТ") (РОССИЯ г. Москва) |
ОТ МП |
4 года |
|
82203-21 |
Система автоматизированная информационно-измерительная коммерческого учета электроэнергии (АИИС КУЭ) ООО "РУСЭНЕРГОСБЫТ" для энергоснабжения ОАО "РЖД" в границах Саратовской области, Общество с ограниченной ответственностью "РУСЭНЕРГОСБЫТ" (ООО "РУСЭНЕРГОСБЫТ") (РОССИЯ г. Москва) |
ОТ МП |
4 года |
|
82386-21 |
Система автоматизированная информационно-измерительная коммерческого учета электроэнергии (АИИС КУЭ) ООО "РУСЭНЕРГОСБЫТ" для энергоснабжения ОАО "РЖД" (11 очередь), 1, 8, 3, 7, 4, 0 Общество с ограниченной ответственностью "РУСЭНЕРГОСБЫТ" (ООО "РУСЭНЕРГОСБЫТ") (РОССИЯ г. Москва) |
ОТ МП |
4 года |
|
82583-21 |
Система автоматизированная информационно-измерительная коммерческого учета электроэнергии (АИИС КУЭ) ООО "РУСЭНЕРГОСБЫТ" для энергоснабжения ОАО "РЖД" в границах Амурской области, 1, 8, 3, 8, 3, 0 Общество с ограниченной ответственностью "РУСЭНЕРГОСБЫТ" (ООО "РУСЭНЕРГОСБЫТ") (РОССИЯ г. Москва) |
ОТ МП |
4 года |
|
82397-21 |
Система автоматизированная информационно-измерительная коммерческого учета электроэнергии (АИИС КУЭ) ООО "РУСЭНЕРГОСБЫТ" для энергоснабжения ОАО "РЖД" в границах Республики Мордовия, 1, 8, 3, 8, 3, 3 Общество с ограниченной ответственностью "РУСЭНЕРГОСБЫТ" (ООО "РУСЭНЕРГОСБЫТ") (РОССИЯ г. Москва) |
ОТ МП |
4 года |
|
82655-21 |
Система автоматизированная информационно-измерительная коммерческого учета электроэнергии (АИИС КУЭ) ООО "РУСЭНЕРГОСБЫТ" для энергоснабжения ОАО "РЖД" в границах Пензенской области, 1, 8, 3, 9, 1, 5 Общество с ограниченной ответственностью "РУСЭНЕРГОСБЫТ" (ООО "РУСЭНЕРГОСБЫТ") (РОССИЯ г. Москва) |
ОТ МП |
4 года |
|
82775-21 |
Система автоматизированная информационно-измерительная коммерческого учета электроэнергии (АИИС КУЭ) ООО "РУСЭНЕРГОСБЫТ" для энергоснабжения ОАО "РЖД" в границах Дальневосточной железной дороги, Обозначение отсутствует Общество с ограниченной ответственностью "РУСЭНЕРГОСБЫТ" (ООО "РУСЭНЕРГОСБЫТ") (РОССИЯ г. Москва) |
ОТ МП |
4 года |
|
82771-21 |
Система автоматизированная информационно-измерительная коммерческого учета электроэнергии (АИИС КУЭ) ООО "РУСЭНЕРГОСБЫТ" для энергоснабжения ОАО "РЖД" в границах Западно-Сибирской железной дороги, Обозначение отсутствует Общество с ограниченной ответственностью "РУСЭНЕРГОСБЫТ" (ООО "РУСЭНЕРГОСБЫТ") (РОССИЯ г. Москва) |
ОТ МП |
4 года |
|
82727-21 |
Система автоматизированная информационно-измерительная коммерческого учета электроэнергии (АИИС КУЭ) ООО "РУСЭНЕРГОСБЫТ" для энергоснабжения ОАО "РЖД" в границах Ростовской области, Обозначение отсутствует Общество с ограниченной ответственностью "РУСЭНЕРГОСБЫТ" (ООО "РУСЭНЕРГОСБЫТ") (РОССИЯ г. Москва) |
ОТ МП |
4 года |
|
82710-21 |
Система автоматизированная информационно-измерительная коммерческого учета электроэнергии (АИИС КУЭ) ООО "РУСЭНЕРГОСБЫТ" для энергоснабжения ОАО "РЖД" в границах Воронежской области, Обозначение отсутствует Общество с ограниченной ответственностью "РУСЭНЕРГОСБЫТ" (ООО "РУСЭНЕРГОСБЫТ") (РОССИЯ г. Москва) |
ОТ МП |
4 года |
|
82705-21 |
Система автоматизированная информационно-измерительная коммерческого учета электроэнергии (АИИС КУЭ) ООО "РУСЭНЕРГОСБЫТ" для энергоснабжения ОАО "РЖД" в границах Республики Башкортостан, Обозначение отсутствует Общество с ограниченной ответственностью "РУСЭНЕРГОСБЫТ" (ООО "РУСЭНЕРГОСБЫТ") (РОССИЯ г. Москва) |
ОТ МП |
4 года |
|
82916-21 |
Система автоматизированная информационно-измерительная коммерческого учета электроэнергии (АИИС КУЭ) ООО "РУСЭНЕРГОСБЫТ" для энергоснабжения ОАО "РЖД" в границах Тульской области, Обозначение отсутствует Общество с ограниченной ответственностью "РУСЭНЕРГОСБЫТ" (ООО "РУСЭНЕРГОСБЫТ") (РОССИЯ г. Москва) |
ОТ МП |
4 года |
|
84891-22 |
Система автоматизированная информационно-измерительная коммерческого учета электроэнергии (АИИС КУЭ) ООО "РУСЭНЕРГОСБЫТ" для энергоснабжения ОАО "РЖД" в границах Архангельской области, Обозначение отсутствует Общество с ограниченной ответственностью "РУСЭНЕРГОСБЫТ" (ООО "РУСЭНЕРГОСБЫТ") (РОССИЯ г. Москва) |
ОТ МП |
4 года |
|
84892-22 |
Система автоматизированная информационно-измерительная коммерческого учета электроэнергии (АИИС КУЭ) ООО "РУСЭНЕРГОСБЫТ" для энергоснабжения ОАО "РЖД" в границах Астраханской области, Обозначение отсутствует Общество с ограниченной ответственностью "РУСЭНЕРГОСБЫТ" (ООО "РУСЭНЕРГОСБЫТ") (РОССИЯ г. Москва) |
ОТ МП |
4 года |
|
85049-22 |
Система автоматизированная информационно-измерительная коммерческого учета электроэнергии (АИИС КУЭ) ООО "РУСЭНЕРГОСБЫТ" для энергоснабжения ОАО "РЖД" в границах города Москвы, Обозначение отсутствует Общество с ограниченной ответственностью "РУСЭНЕРГОСБЫТ" (ООО "РУСЭНЕРГОСБЫТ") (РОССИЯ г. Москва) |
ОТ МП |
4 года |
|
85025-22 |
Система автоматизированная информационно-измерительная коммерческого учета электроэнергии (АИИС КУЭ) ООО "РУСЭНЕРГОСБЫТ" для энергоснабжения потребителя ЗАО "Диэлектрические кабельные системы" в границах Тверской области, Обозначение отсутствует Общество с ограниченной ответственностью "РУСЭНЕРГОСБЫТ" (ООО "РУСЭНЕРГОСБЫТ") (РОССИЯ г. Москва) |
ОТ МП |
4 года |
|
85026-22 |
Система автоматизированная информационно-измерительная коммерческого учета электроэнергии (АИИС КУЭ) ООО "РУСЭНЕРГОСБЫТ" для энергоснабжения ОАО "РЖД" в границах Липецкой области, Обозначение отсутствует Общество с ограниченной ответственностью "РУСЭНЕРГОСБЫТ" (ООО "РУСЭНЕРГОСБЫТ") (РОССИЯ г. Москва) |
ОТ МП |
4 года |
|
85002-22 |
Система автоматизированная информационно-измерительная коммерческого учета электроэнергии (АИИС КУЭ) ООО "РУСЭНЕРГОСБЫТ" для энергоснабжения ОАО "РЖД" в границах Республики Чувашия, Обозначение отсутствует Общество с ограниченной ответственностью "РУСЭНЕРГОСБЫТ" (ООО "РУСЭНЕРГОСБЫТ") (РОССИЯ г. Москва) |
ОТ МП |
4 года |
|
85016-22 |
Система автоматизированная информационно-измерительная коммерческого учета электроэнергии (АИИС КУЭ) ООО "РУСЭНЕРГОСБЫТ" для энергоснабжения ОАО "РЖД" в границах Калужской области, Обозначение отсутствует Общество с ограниченной ответственностью "РУСЭНЕРГОСБЫТ" (ООО "РУСЭНЕРГОСБЫТ") (РОССИЯ г. Москва) |
ОТ МП |
4 года |
|
85078-22 |
Система автоматизированная информационно-измерительная коммерческого учета электроэнергии (АИИС КУЭ) ООО "РУСЭНЕРГОСБЫТ" для энергоснабжения ОАО "РЖД" в границах Тюменской области, Обозначение отсутствует Общество с ограниченной ответственностью "РУСЭНЕРГОСБЫТ" (ООО "РУСЭНЕРГОСБЫТ") (РОССИЯ г. Москва) |
ОТ МП |
4 года |
|
85065-22 |
Система автоматизированная информационно-измерительная коммерческого учета электроэнергии (АИИС КУЭ) ООО "РУСЭНЕРГОСБЫТ" для энергоснабжения ОАО "РЖД" в границах Тверской области, Обозначение отсутствует Общество с ограниченной ответственностью "РУСЭНЕРГОСБЫТ" (ООО "РУСЭНЕРГОСБЫТ") (РОССИЯ г. Москва) |
ОТ МП |
4 года |
|
85068-22 |
Система автоматизированная информационно-измерительная коммерческого учета электроэнергии (АИИС КУЭ) ООО "РУСЭНЕРГОСБЫТ" для энергоснабжения ОАО "РЖД" в границах Костромской области, Обозначение отсутствует Общество с ограниченной ответственностью "РУСЭНЕРГОСБЫТ" (ООО "РУСЭНЕРГОСБЫТ") (РОССИЯ г. Москва) |
ОТ МП |
4 года |
|
85098-22 |
Система автоматизированная информационно-измерительная коммерческого учета электроэнергии (АИИС КУЭ) ООО "РУСЭНЕРГОСБЫТ" для энергоснабжения ОАО "РЖД" в границах Республики Башкортостан, Обозначение отсутствует Общество с ограниченной ответственностью "РУСЭНЕРГОСБЫТ" (ООО "РУСЭНЕРГОСБЫТ") (РОССИЯ г. Москва) |
ОТ МП |
4 года |
|
85099-22 |
Система автоматизированная информационно-измерительная коммерческого учета электроэнергии (АИИС КУЭ) ООО "РУСЭНЕРГОСБЫТ" для энергоснабжения ОАО "РЖД" в границах Алтайского края, Обозначение отсутствует Общество с ограниченной ответственностью "РУСЭНЕРГОСБЫТ" (ООО "РУСЭНЕРГОСБЫТ") (РОССИЯ г. Москва) |
ОТ МП |
4 года |
|
85101-22 |
Система автоматизированная информационно-измерительная коммерческого учета электроэнергии (АИИС КУЭ) ООО "РУСЭНЕРГОСБЫТ" для энергоснабжения ОАО "РЖД" в границах Cмоленской области, Обозначение отсутствует Общество с ограниченной ответственностью "РУСЭНЕРГОСБЫТ" (ООО "РУСЭНЕРГОСБЫТ") (РОССИЯ г. Москва) |
ОТ МП |
4 года |
|
85102-22 |
Система автоматизированная информационно-измерительная коммерческого учета электроэнергии (АИИС КУЭ) ООО "РУСЭНЕРГОСБЫТ" для энергоснабжения ОАО "РЖД" в границах Брянской области, Обозначение отсутствует Общество с ограниченной ответственностью "РУСЭНЕРГОСБЫТ" (ООО "РУСЭНЕРГОСБЫТ") (РОССИЯ г. Москва) |
ОТ МП |
4 года |
|
85103-22 |
Система автоматизированная информационно-измерительная коммерческого учета электроэнергии (АИИС КУЭ) ООО "РУСЭНЕРГОСБЫТ" для энергоснабжения ОАО "РЖД" в границах Саратовской области, Обозначение отсутствует Общество с ограниченной ответственностью "РУСЭНЕРГОСБЫТ" (ООО "РУСЭНЕРГОСБЫТ") (РОССИЯ г. Москва) |
ОТ МП |
4 года |
|
85131-22 |
Система автоматизированная информационно-измерительная коммерческого учета электроэнергии (АИИС КУЭ) ООО "РУСЭНЕРГОСБЫТ" для энергоснабжения ОАО "РЖД" в границах Воронежской области, Обозначение отсутствует Общество с ограниченной ответственностью "РУСЭНЕРГОСБЫТ" (ООО "РУСЭНЕРГОСБЫТ") (РОССИЯ г. Москва) |
ОТ МП |
4 года |
|
85133-22 |
Система автоматизированная информационно-измерительная коммерческого учета электроэнергии (АИИС КУЭ) ООО "РУСЭНЕРГОСБЫТ" для энергоснабжения ОАО "РЖД" в границах Республики Карелия, Обозначение отсутствует Общество с ограниченной ответственностью "РУСЭНЕРГОСБЫТ" (ООО "РУСЭНЕРГОСБЫТ") (РОССИЯ г. Москва) |
ОТ МП |
4 года |
|
85134-22 |
Система автоматизированная информационно-измерительная коммерческого учета электроэнергии (АИИС КУЭ) ООО "РУСЭНЕРГОСБЫТ" для энергоснабжения ОАО "РЖД" в границах Тамбовской области, Обозначение отсутствует Общество с ограниченной ответственностью "РУСЭНЕРГОСБЫТ" (ООО "РУСЭНЕРГОСБЫТ") (РОССИЯ г. Москва) |
ОТ МП |
4 года |
|
85150-22 |
Система автоматизированная информационно-измерительная коммерческого учета электроэнергии (АИИС КУЭ) ООО "РУСЭНЕРГОСБЫТ" для энергоснабжения ОАО "РЖД" в границах Томской области, Обозначение отсутствует Общество с ограниченной ответственностью "РУСЭНЕРГОСБЫТ" (ООО "РУСЭНЕРГОСБЫТ") (РОССИЯ г. Москва) |
ОТ МП |
4 года |
|
85151-22 |
Система автоматизированная информационно-измерительная коммерческого учета электроэнергии (АИИС КУЭ) ООО "РУСЭНЕРГОСБЫТ" для энергоснабжения ОАО "РЖД" в границах Волгоградской области, Обозначение отсутствует Общество с ограниченной ответственностью "РУСЭНЕРГОСБЫТ" (ООО "РУСЭНЕРГОСБЫТ") (РОССИЯ г. Москва) |
ОТ МП |
4 года |
|
85170-22 |
Система автоматизированная информационно-измерительная коммерческого учета электроэнергии (АИИС КУЭ) ООО "РУСЭНЕРГОСБЫТ" для энергоснабжения ОАО "РЖД" в границах Курской области, Обозначение отсутствует Общество с ограниченной ответственностью "РУСЭНЕРГОСБЫТ" (ООО "РУСЭНЕРГОСБЫТ") (РОССИЯ г. Москва) |
ОТ МП |
4 года |
|
85171-22 |
Система автоматизированная информационно-измерительная коммерческого учета электроэнергии (АИИС КУЭ) ООО "РУСЭНЕРГОСБЫТ" для энергоснабжения ОАО "РЖД" в границах Республики Северная Осетия - Алания, Обозначение отсутствует Общество с ограниченной ответственностью "РУСЭНЕРГОСБЫТ" (ООО "РУСЭНЕРГОСБЫТ") (РОССИЯ г. Москва) |
ОТ МП |
4 года |
|
85193-22 |
Система автоматизированная информационно-измерительная коммерческого учета электроэнергии (АИИС КУЭ) ООО "РУСЭНЕРГОСБЫТ" для энергоснабжения ОАО "РЖД" в границах Вологодской области, Обозначение отсутствует Общество с ограниченной ответственностью "РУСЭНЕРГОСБЫТ" (ООО "РУСЭНЕРГОСБЫТ") (РОССИЯ г. Москва) |
ОТ МП |
4 года |
|
85363-22 |
Система автоматизированная информационно-измерительная коммерческого учета электроэнергии (АИИС КУЭ) ООО "РУСЭНЕРГОСБЫТ" для энергоснабжения ОАО "РЖД" в границах Кабардино-Балкарской Республики, Обозначение отсутствует Общество с ограниченной ответственностью "РУСЭНЕРГОСБЫТ" (ООО "РУСЭНЕРГОСБЫТ") (РОССИЯ г. Москва) |
ОТ МП |
4 года |
|
85364-22 |
Система автоматизированная информационно-измерительная коммерческого учета электроэнергии (АИИС КУЭ) ООО "РУСЭНЕРГОСБЫТ" для энергоснабжения ОАО "РЖД" в границах Республики Удмуртия, Обозначение отсутствует Общество с ограниченной ответственностью "РУСЭНЕРГОСБЫТ" (ООО "РУСЭНЕРГОСБЫТ") (РОССИЯ г. Москва) |
ОТ МП |
4 года |
|
85365-22 |
Система автоматизированная информационно-измерительная коммерческого учета электроэнергии (АИИС КУЭ) ООО "РУСЭНЕРГОСБЫТ" для энергоснабжения ОАО "РЖД" в границах Республики Татарстан, Обозначение отсутствует Общество с ограниченной ответственностью "РУСЭНЕРГОСБЫТ" (ООО "РУСЭНЕРГОСБЫТ") (РОССИЯ г. Москва) |
ОТ МП |
4 года |
|
85380-22 |
Система автоматизированная информационно-измерительная коммерческого учета электроэнергии (АИИС КУЭ) ООО "РУСЭНЕРГОСБЫТ" для энергоснабжения ОАО "РЖД" в границах Пензенской области, Обозначение отсутствует Общество с ограниченной ответственностью "РУСЭНЕРГОСБЫТ" (ООО "РУСЭНЕРГОСБЫТ") (РОССИЯ г. Москва) |
ОТ МП |
4 года |
|
85556-22 |
Система автоматизированная информационно-измерительная коммерческого учета электроэнергии (АИИС КУЭ) ООО "РУСЭНЕРГОСБЫТ" для энергоснабжения ОАО "РЖД" в границах Кемеровской области, Обозначение отсутствует Общество с ограниченной ответственностью "РУСЭНЕРГОСБЫТ" (ООО "РУСЭНЕРГОСБЫТ") (РОССИЯ г. Москва) |
ОТ МП |
4 года |
|
85502-22 |
Система автоматизированная информационно-измерительная коммерческого учета электроэнергии (АИИС КУЭ) ООО "РУСЭНЕРГОСБЫТ" для энергоснабжения ОАО "РЖД" в границах Новгородской области, Обозначение отсутствует Общество с ограниченной ответственностью "РУСЭНЕРГОСБЫТ" (ООО "РУСЭНЕРГОСБЫТ") (РОССИЯ г. Москва) |
ОТ МП |
4 года |
|
85509-22 |
Система автоматизированная информационно-измерительная коммерческого учета электроэнергии (АИИС КУЭ) ООО "РУСЭНЕРГОСБЫТ" для энергоснабжения ОАО "РЖД" в границах Республики Мордовия, Обозначение отсутствует Общество с ограниченной ответственностью "РУСЭНЕРГОСБЫТ" (ООО "РУСЭНЕРГОСБЫТ") (РОССИЯ г. Москва) |
ОТ МП |
4 года |
|
85510-22 |
Система автоматизированная информационно-измерительная коммерческого учета электроэнергии (АИИС КУЭ) ООО "РУСЭНЕРГОСБЫТ" для энергоснабжения ОАО "РЖД" в границах Тульской области, Обозначение отсутствует Общество с ограниченной ответственностью "РУСЭНЕРГОСБЫТ" (ООО "РУСЭНЕРГОСБЫТ") (РОССИЯ г. Москва) |
ОТ МП |
4 года |
|
85493-22 |
Система автоматизированная информационно-измерительная коммерческого учета электроэнергии (АИИС КУЭ) ООО "РУСЭНЕРГОСБЫТ" для энергоснабжения ОАО "РЖД" в границах Ростовской области, Обозначение отсутствует Общество с ограниченной ответственностью "РУСЭНЕРГОСБЫТ" (ООО "РУСЭНЕРГОСБЫТ") (РОССИЯ г. Москва) |
ОТ МП |
4 года |
|
85495-22 |
Система автоматизированная информационно-измерительная коммерческого учета электроэнергии (АИИС КУЭ) ООО "РУСЭНЕРГОСБЫТ" для энергоснабжения ОАО "РЖД" в границах Республики Дагестан, Обозначение отсутствует Общество с ограниченной ответственностью "РУСЭНЕРГОСБЫТ" (ООО "РУСЭНЕРГОСБЫТ") (РОССИЯ г. Москва) |
ОТ МП |
4 года |
|
85598-22 |
Система автоматизированная информационно-измерительная коммерческого учета электроэнергии (АИИС КУЭ) ООО "РУСЭНЕРГОСБЫТ" для энергоснабжения ОАО "РЖД" в границах Забайкальского края, Обозначение отсутствует Общество с ограниченной ответственностью "РУСЭНЕРГОСБЫТ" (ООО "РУСЭНЕРГОСБЫТ") (РОССИЯ г. Москва) |
ОТ МП |
4 года |
|
85599-22 |
Система автоматизированная информационно-измерительная коммерческого учета электроэнергии (АИИС КУЭ) ООО "РУСЭНЕРГОСБЫТ" для энергоснабжения ОАО "РЖД" в границах Пермского края, Обозначение отсутствует Общество с ограниченной ответственностью "РУСЭНЕРГОСБЫТ" (ООО "РУСЭНЕРГОСБЫТ") (РОССИЯ г. Москва) |
ОТ МП |
4 года |
|
85600-22 |
Система автоматизированная информационно-измерительная коммерческого учета электроэнергии (АИИС КУЭ) ООО "РУСЭНЕРГОСБЫТ" для энергоснабжения ОАО "РЖД" в границах Амурской области, Обозначение отсутствует Общество с ограниченной ответственностью "РУСЭНЕРГОСБЫТ" (ООО "РУСЭНЕРГОСБЫТ") (РОССИЯ г. Москва) |
ОТ МП |
4 года |
|
85692-22 |
Система автоматизированная информационно-измерительная коммерческого учета электроэнергии (АИИС КУЭ) ООО "РУСЭНЕРГОСБЫТ" для энергоснабжения ОАО "РЖД" в границах Ульяновской области, Обозначение отсутствует Общество с ограниченной ответственностью "РУСЭНЕРГОСБЫТ" (ООО "РУСЭНЕРГОСБЫТ") (РОССИЯ г. Москва) |
ОТ МП |
4 года |
|
85746-22 |
Система автоматизированная информационно-измерительная коммерческого учета электроэнергии (АИИС КУЭ) ООО "РУСЭНЕРГОСБЫТ" для энергоснабжения ОАО "РЖД" в границах Кировской области, Обозначение отсутствует Общество с ограниченной ответственностью "РУСЭНЕРГОСБЫТ" (ООО "РУСЭНЕРГОСБЫТ") (РОССИЯ г. Москва) |
ОТ МП |
4 года |
|
85811-22 |
Система автоматизированная информационно-измерительная коммерческого учета электроэнергии (АИИС КУЭ) ООО "РУСЭНЕРГОСБЫТ" для энергоснабжения ОАО "РЖД" в границах Самарской области, Обозначение отсутствует Общество с ограниченной ответственностью "РУСЭНЕРГОСБЫТ" (ООО "РУСЭНЕРГОСБЫТ") (РОССИЯ г. Москва) |
ОТ МП |
4 года |
|
85861-22 |
Система автоматизированная информационно-измерительная коммерческого учета электроэнергии (АИИС КУЭ) ООО "РУСЭНЕРГОСБЫТ" для энергоснабжения ОАО "РЖД" в границах Еврейской автономной области, Обозначение отсутствует Общество с ограниченной ответственностью "РУСЭНЕРГОСБЫТ" (ООО "РУСЭНЕРГОСБЫТ") (РОССИЯ г. Москва) |
ОТ МП |
4 года |
|
85863-22 |
Система автоматизированная информационно-измерительная коммерческого учета электроэнергии (АИИС КУЭ) ООО "РУСЭНЕРГОСБЫТ" для энергоснабжения потребителя ПАО "КАМАЗ", Обозначение отсутствует Общество с ограниченной ответственностью "РУСЭНЕРГОСБЫТ" (ООО "РУСЭНЕРГОСБЫТ") (РОССИЯ г. Москва) |
ОТ МП |
4 года |
|
86040-22 |
Система автоматизированная информационно-измерительная коммерческого учета электроэнергии (АИИС КУЭ) ООО "РУСЭНЕРГОСБЫТ" для энергоснабжения ОАО "РЖД" в границах Республики Бурятия (Байкало-Амурская магистраль), Обозначение отсутствует Общество с ограниченной ответственностью "РУСЭНЕРГОСБЫТ" (ООО "РУСЭНЕРГОСБЫТ") (РОССИЯ г. Москва) |
ОТ МП |
4 года |
|
86041-22 |
Система автоматизированная информационно-измерительная коммерческого учета электроэнергии (АИИС КУЭ) ООО "РУСЭНЕРГОСБЫТ" для энергоснабжения ОАО "РЖД" в границах Хабаровского края, Обозначение отсутствует Общество с ограниченной ответственностью "РУСЭНЕРГОСБЫТ" (ООО "РУСЭНЕРГОСБЫТ") (РОССИЯ г. Москва) |
ОТ МП |
4 года |
|
86117-22 |
Система автоматизированная информационно-измерительная коммерческого учета электроэнергии (АИИС КУЭ) ООО "РУСЭНЕРГОСБЫТ" для энергоснабжения потребителей: ООО "ЭНЕРГОПРОМСТРОЙ-Сервис", ООО "Кондратьевский", ЗАО "Соломенский лесозавод", ЗАО "Гостиница "Туррис", Обозначение отсутствует Общество с ограниченной ответственностью "РУСЭНЕРГОСБЫТ" (ООО "РУСЭНЕРГОСБЫТ") (РОССИЯ г. Москва) |
ОТ МП |
4 года |
|
86303-22 |
Система автоматизированная информационно-измерительная коммерческого учета электроэнергии (АИИС КУЭ) ООО "РУСЭНЕРГОСБЫТ" для энергоснабжения ОАО "РЖД" в границах Иркутской области, Обозначение отсутствует Общество с ограниченной ответственностью "РУСЭНЕРГОСБЫТ" (ООО "РУСЭНЕРГОСБЫТ") (РОССИЯ г. Москва) |
ОТ МП |
4 года |
|
86302-22 |
Система автоматизированная информационно-измерительная коммерческого учета электроэнергии (АИИС КУЭ) ООО "РУСЭНЕРГОСБЫТ" для энергоснабжения ОАО "РЖД" в границах Приморского края, Обозначение отсутствует Общество с ограниченной ответственностью "РУСЭНЕРГОСБЫТ" (ООО "РУСЭНЕРГОСБЫТ") (РОССИЯ г. Москва) |
ОТ МП |
4 года |
|
86566-22 |
Система автоматизированная информационно-измерительная коммерческого учета электроэнергии (АИИС КУЭ) ООО "РУСЭНЕРГОСБЫТ" для энергоснабжения ОАО "РЖД" в границах Владимирской области, Обозначение отсутствует Общество с ограниченной ответственностью "РУСЭНЕРГОСБЫТ" (ООО "РУСЭНЕРГОСБЫТ") (РОССИЯ г. Москва) |
ОТ МП |
4 года |
|
86638-22 |
Система автоматизированная информационно-измерительная коммерческого учета электроэнергии (АИИС КУЭ) ООО "РУСЭНЕРГОСБЫТ" для энергоснабжения ОАО "РЖД" в границах Ярославской области, Обозначение отсутствует Общество с ограниченной ответственностью "РУСЭНЕРГОСБЫТ" (ООО "РУСЭНЕРГОСБЫТ") (РОССИЯ г. Москва) |
ОТ МП |
4 года |
|
86645-22 |
Система автоматизированная информационно-измерительная коммерческого учета электроэнергии (АИИС КУЭ) ООО "РУСЭНЕРГОСБЫТ" для энергоснабжения ОАО "РЖД" в границах Калининградской области, Обозначение отсутствует Общество с ограниченной ответственностью "РУСЭНЕРГОСБЫТ" (ООО "РУСЭНЕРГОСБЫТ") (РОССИЯ г. Москва) |
ОТ МП |
4 года |
|
86844-22 |
Система автоматизированная информационно-измерительная коммерческого учета электроэнергии (АИИС КУЭ) ООО "РУСЭНЕРГОСБЫТ" для энергоснабжения ОАО "РЖД" (13 очередь), Обозначение отсутствует Общество с ограниченной ответственностью "РУСЭНЕРГОСБЫТ" (ООО "РУСЭНЕРГОСБЫТ") (РОССИЯ г. Москва) |
ОТ МП |
4 года |
|
86847-22 |
Система автоматизированная информационно-измерительная коммерческого учета электроэнергии (АИИС КУЭ) ООО "РУСЭНЕРГОСБЫТ" для энергоснабжения ОАО "РЖД" в границах Рязанской области, Обозначение отсутствует Общество с ограниченной ответственностью "РУСЭНЕРГОСБЫТ" (ООО "РУСЭНЕРГОСБЫТ") (РОССИЯ г. Москва) |
ОТ МП |
4 года |
|
86938-22 |
Система автоматизированная информационно-измерительная коммерческого учета электроэнергии (АИИС КУЭ) ООО "РУСЭНЕРГОСБЫТ" для энергоснабжения ОАО "РЖД" в границах Пермского края, Обозначение отсутствует Общество с ограниченной ответственностью "РУСЭНЕРГОСБЫТ" (ООО "РУСЭНЕРГОСБЫТ") (РОССИЯ г. Москва) |
ОТ МП |
4 года |
|
87005-22 |
Система автоматизированная информационно-измерительная коммерческого учета электроэнергии (АИИС КУЭ) ООО "РУСЭНЕРГОСБЫТ" для энергоснабжения ОАО "РЖД" (12 очередь), Обозначение отсутствует Общество с ограниченной ответственностью "РУСЭНЕРГОСБЫТ" (ООО "РУСЭНЕРГОСБЫТ") (РОССИЯ г. Москва) |
ОТ МП |
4 года |
|
87110-22 |
Система автоматизированная информационно-измерительная коммерческого учета электроэнергии (АИИС КУЭ) ООО "РУСЭНЕРГОСБЫТ" для энергоснабжения ОАО "РЖД" в границах Новосибирской области, Обозначение отсутствует Общество с ограниченной ответственностью "РУСЭНЕРГОСБЫТ" (ООО "РУСЭНЕРГОСБЫТ") (РОССИЯ г. Москва) |
ОТ МП |
4 года |
|
87331-22 |
Система автоматизированная информационно-измерительная коммерческого учета электроэнергии (АИИС КУЭ) ООО "РУСЭНЕРГОСБЫТ" для энергоснабжения ОАО "РЖД" в границах Курганской области, Обозначение отсутствует Общество с ограниченной ответственностью "РУСЭНЕРГОСБЫТ" (ООО "РУСЭНЕРГОСБЫТ") (РОССИЯ г. Москва) |
ОТ МП |
4 года |
|
87345-22 |
Система автоматизированная информационно-измерительная коммерческого учета электроэнергии (АИИС КУЭ) ООО "РУСЭНЕРГОСБЫТ" для энергоснабжения ОАО "РЖД" (17 очередь), Обозначение отсутствует Общество с ограниченной ответственностью "РУСЭНЕРГОСБЫТ" (ООО "РУСЭНЕРГОСБЫТ") (РОССИЯ г. Москва) |
ОТ МП |
4 года |
|
88151-23 |
Система автоматизированная информационно-измерительная коммерческого учета электроэнергии (АИИС КУЭ) ООО "РУСЭНЕРГОСБЫТ" для энергоснабжения ОАО "РЖД" в границах Красноярской железной дороги - филиала ОАО "РЖД", Обозначение отсутствует Общество с ограниченной ответственностью "РУСЭНЕРГОСБЫТ" (ООО "РУСЭНЕРГОСБЫТ") (РОССИЯ г. Москва) |
ОТ МП |
4 года |
|
89071-23 |
Система автоматизированная информационно-измерительная коммерческого учета электроэнергии (АИИС КУЭ) ООО "РУСЭНЕРГОСБЫТ" для энергоснабжения ОАО "РЖД" (18 очередь), Обозначение отсутствует Общество с ограниченной ответственностью "РУСЭНЕРГОСБЫТ" (ООО "РУСЭНЕРГОСБЫТ") (РОССИЯ г. Москва) |
ОТ МП |
4 года |
|
89076-23 |
Система автоматизированная информационно-измерительная коммерческого учета электроэнергии (АИИС КУЭ) ООО "РУСЭНЕРГОСБЫТ" для энергоснабжения ОАО "РЖД" в границах Пензенской области, Обозначение отсутствует Общество с ограниченной ответственностью "РУСЭНЕРГОСБЫТ" (ООО "РУСЭНЕРГОСБЫТ") (РОССИЯ г. Москва) |
ОТ МП |
4 года |
|
89177-23 |
Система автоматизированная информационно-измерительная коммерческого учета электроэнергии (АИИС КУЭ) ООО "РУСЭНЕРГОСБЫТ" для энергоснабжения потребителей (14 очередь), Обозначение отсутствует Общество с ограниченной ответственностью "РУСЭНЕРГОСБЫТ" (ООО "РУСЭНЕРГОСБЫТ") (РОССИЯ г. Москва) |
ОТ МП |
4 года |
|
89511-23 |
Система автоматизированная информационно-измерительная коммерческого учета электроэнергии (АИИС КУЭ) ООО "РУСЭНЕРГОСБЫТ" для энергоснабжения потребителей (15 очередь), Обозначение отсутствует Общество с ограниченной ответственностью "РУСЭНЕРГОСБЫТ" (ООО "РУСЭНЕРГОСБЫТ") (РОССИЯ г. Москва) |
ОТ МП |
4 года |
|
90110-23 |
Система автоматизированная информационно-измерительная коммерческого учета электроэнергии (АИИС КУЭ) ООО "РУСЭНЕРГОСБЫТ" для энергоснабжения потребителей (16 очередь), Обозначение отсутствует Общество с ограниченной ответственностью "РУСЭНЕРГОСБЫТ" (ООО "РУСЭНЕРГОСБЫТ") (РОССИЯ г. Москва) |
ОТ МП |
4 года |
|
90111-23 |
Система автоматизированная информационно-измерительная коммерческого учета электроэнергии (АИИС КУЭ) ООО "РУСЭНЕРГОСБЫТ" для энергоснабжения ОАО "РЖД" в границах ОАО "Ленэнерго", Мурманской области, Обозначение отсутствует Общество с ограниченной ответственностью "РУСЭНЕРГОСБЫТ" (ООО "РУСЭНЕРГОСБЫТ") (РОССИЯ г. Москва) |
ОТ МП |
4 года |
|
90332-23 |
Система автоматизированная информационно-измерительная коммерческого учета электроэнергии (АИИС КУЭ) ООО "РУСЭНЕРГОСБЫТ" для энергоснабжения ОАО "РЖД" в границах Московской области, Обозначение отсутствует Общество с ограниченной ответственностью "РУСЭНЕРГОСБЫТ" (ООО "РУСЭНЕРГОСБЫТ") (РОССИЯ г. Москва) |
ОТ МП |
4 года |
|
91060-24 |
Система автоматизированная информационно-измерительная коммерческого учета электроэнергии (АИИС КУЭ) ООО "РУСЭНЕРГОСБЫТ" для энергоснабжения ОАО "РЖД" в границах Новгородской области, Обозначение отсутствует Общество с ограниченной ответственностью "РУСЭНЕРГОСБЫТ" (ООО "РУСЭНЕРГОСБЫТ") (РОССИЯ г. Москва) |
ОТ МП |
4 года |
|
91103-24 |
Система автоматизированная информационно-измерительная коммерческого учета электроэнергии (АИИС КУЭ) ООО "РУСЭНЕРГОСБЫТ" для энергоснабжения ОАО "РЖД" в границах Кемеровской области, Обозначение отсутствует Общество с ограниченной ответственностью "РУСЭНЕРГОСБЫТ" (ООО "РУСЭНЕРГОСБЫТ") (РОССИЯ г. Москва) |
ОТ МП |
4 года |
|
91104-24 |
Система автоматизированная информационно-измерительная коммерческого учета электроэнергии (АИИС КУЭ) ООО "РУСЭНЕРГОСБЫТ" для энергоснабжения ОАО "РЖД" в границах Свердловской области, Обозначение отсутствует Общество с ограниченной ответственностью "РУСЭНЕРГОСБЫТ" (ООО "РУСЭНЕРГОСБЫТ") (РОССИЯ г. Москва) |
ОТ МП |
4 года |
|
91105-24 |
Система автоматизированная информационно-измерительная коммерческого учета электроэнергии (АИИС КУЭ) ООО "РУСЭНЕРГОСБЫТ" для энергоснабжения ОАО "РЖД" в границах Московской области, Обозначение отсутствует Общество с ограниченной ответственностью "РУСЭНЕРГОСБЫТ" (ООО "РУСЭНЕРГОСБЫТ") (РОССИЯ г. Москва) |
ОТ МП |
4 года |
|
91106-24 |
Система автоматизированная информационно-измерительная коммерческого учета электроэнергии (АИИС КУЭ) ООО "РУСЭНЕРГОСБЫТ" для энергоснабжения ОАО "РЖД" в границах Пензенской области, Обозначение отсутствует Общество с ограниченной ответственностью "РУСЭНЕРГОСБЫТ" (ООО "РУСЭНЕРГОСБЫТ") (РОССИЯ г. Москва) |
ОТ МП |
4 года |
|
91108-24 |
Система автоматизированная информационно-измерительная коммерческого учета электроэнергии (АИИС КУЭ) ООО "РУСЭНЕРГОСБЫТ" для энергоснабжения потребителя ПАО "КАМАЗ", Обозначение отсутствует Общество с ограниченной ответственностью "РУСЭНЕРГОСБЫТ" (ООО "РУСЭНЕРГОСБЫТ") (РОССИЯ г. Москва) |
ОТ МП |
4 года |
|
91258-24 |
Система автоматизированная информационно-измерительная коммерческого учета электроэнергии (АИИС КУЭ) ООО "РУСЭНЕРГОСБЫТ" для энергоснабжения ОАО "РЖД" в границах Ставропольского края, Обозначение отсутствует Общество с ограниченной ответственностью "РУСЭНЕРГОСБЫТ" (ООО "РУСЭНЕРГОСБЫТ") (РОССИЯ г. Москва) |
ОТ МП |
4 года |
|
91542-24 |
Система автоматизированная информационно-измерительная коммерческого учета электроэнергии (АИИС КУЭ) ООО "РУСЭНЕРГОСБЫТ" (ООО "Энергосервис и ремонт" в границах Красноярского края), Обозначение отсутствует Общество с ограниченной ответственностью "РУСЭНЕРГОСБЫТ" (ООО "РУСЭНЕРГОСБЫТ") (РОССИЯ г. Москва) |
ОТ МП |
4 года |
|
91560-24 |
Система автоматизированная информационно-измерительная коммерческого учета электроэнергии (АИИС КУЭ) ООО "РУСЭНЕРГОСБЫТ" для энергоснабжения ОАО "РЖД" в границах Забайкальской железной дороги - филиала ОАО "РЖД", Обозначение отсутствует Общество с ограниченной ответственностью "РУСЭНЕРГОСБЫТ" (ООО "РУСЭНЕРГОСБЫТ") (РОССИЯ г. Москва) |
ОТ МП |
4 года |
|
91569-24 |
Система автоматизированная информационно-измерительная коммерческого учета электроэнергии (АИИС КУЭ) ООО "РУСЭНЕРГОСБЫТ" для энергоснабжения ОАО "РЖД" в границах Челябинской области, Свердловской области, Пермского края, Оренбургской области, Обозначение отсутствует Общество с ограниченной ответственностью "РУСЭНЕРГОСБЫТ" (ООО "РУСЭНЕРГОСБЫТ") (РОССИЯ г. Москва) |
ОТ МП |
4 года |
|
91672-24 |
Система автоматизированная информационно-измерительная коммерческого учета электроэнергии (АИИС КУЭ) ООО "РУСЭНЕРГОСБЫТ" для энергоснабжения потребителя АО "Мир цветов РМ", Обозначение отсутствует Общество с ограниченной ответственностью "РУСЭНЕРГОСБЫТ" (ООО "РУСЭНЕРГОСБЫТ") (РОССИЯ г. Москва) |
ОТ МП |
4 года |
|
91702-24 |
Система автоматизированная информационно-измерительная коммерческого учета электроэнергии (АИИС КУЭ) ПАО "Павловский автобус", Обозначение отсутствует Общество с ограниченной ответственностью "РУСЭНЕРГОСБЫТ" (ООО "РУСЭНЕРГОСБЫТ") (РОССИЯ г. Москва) |
ОТ МП |
4 года |
|
91767-24 |
Система автоматизированная информационно-измерительная коммерческого учета электроэнергии (АИИС КУЭ) ООО "РУСЭНЕРГОСБЫТ" для энергоснабжения ОАО "РЖД" в границах Забайкальского края (Южный ход), Обозначение отсутствует Общество с ограниченной ответственностью "РУСЭНЕРГОСБЫТ" (ООО "РУСЭНЕРГОСБЫТ") (РОССИЯ г. Москва) |
ОТ МП |
4 года |
|
91952-24 |
Система автоматизированная информационно-измерительная коммерческого учета электроэнергии (АИИС КУЭ) ООО "РУСЭНЕРГОСБЫТ" для энергоснабжения ОАО "РЖД" в границах ПАО "Ленэнерго" (ТП Высоцк), Обозначение отсутствует Общество с ограниченной ответственностью "РУСЭНЕРГОСБЫТ" (ООО "РУСЭНЕРГОСБЫТ") (РОССИЯ г. Москва) |
ОТ МП |
4 года |
|
92018-24 |
Система автоматизированная информационно-измерительная коммерческого учета электроэнергии (АИИС КУЭ) ООО "РУСЭНЕРГОСБЫТ" для энергоснабжения потребителей ЗАО "Соломенский лесозавод" завод пеллет, ОАО "Севкабель" Кожевенная, ОАО "Хлебный дом" Смоленское, Обозначение отсутствует Общество с ограниченной ответственностью "РУСЭНЕРГОСБЫТ" (ООО "РУСЭНЕРГОСБЫТ") (РОССИЯ г. Москва) |
ОТ МП |
4 года |
|
92120-24 |
Система автоматизированная информационно-измерительная коммерческого учета электроэнергии (АИИС КУЭ) ООО "РУСЭНЕРГОСБЫТ" для энергоснабжения ОАО "РЖД" в границах Ярославской области, Обозначение отсутствует Общество с ограниченной ответственностью "РУСЭНЕРГОСБЫТ" (ООО "РУСЭНЕРГОСБЫТ") (РОССИЯ г. Москва) |
ОТ МП |
4 года |
|
92123-24 |
Система автоматизированная информационно-измерительная коммерческого учета электроэнергии (АИИС КУЭ) ООО "РУСЭНЕРГОСБЫТ" для энергоснабжения ОАО "РЖД" в границах Свердловской области, Обозначение отсутствует Общество с ограниченной ответственностью "РУСЭНЕРГОСБЫТ" (ООО "РУСЭНЕРГОСБЫТ") (РОССИЯ г. Москва) |
ОТ МП |
4 года |
|
92199-24 |
Система автоматизированная информационно-измерительная коммерческого учета электроэнергии (АИИС КУЭ) ООО "РУСЭНЕРГОСБЫТ" для энергоснабжения ОАО "РЖД" в границах Нижегородской области, Обозначение отсутствует Общество с ограниченной ответственностью "РУСЭНЕРГОСБЫТ" (ООО "РУСЭНЕРГОСБЫТ") (РОССИЯ г. Москва) |
ОТ МП |
4 года |
|
92209-24 |
Система автоматизированная информационно-измерительная коммерческого учета электроэнергии (АИИС КУЭ) ООО "РУСЭНЕРГОСБЫТ" для энергоснабжения ОАО "РЖД" в границах Ставропольского края, Обозначение отсутствует Общество с ограниченной ответственностью "РУСЭНЕРГОСБЫТ" (ООО "РУСЭНЕРГОСБЫТ") (РОССИЯ г. Москва) |
ОТ МП |
4 года |
|
92276-24 |
Система автоматизированная информационно-измерительная коммерческого учета электроэнергии (АИИС КУЭ) ООО "РУСЭНЕРГОСБЫТ" для энергоснабжения ОАО "РЖД" в границах Волгоградской области, Обозначение отсутствует Общество с ограниченной ответственностью "РУСЭНЕРГОСБЫТ" (ООО "РУСЭНЕРГОСБЫТ") (РОССИЯ г. Москва) |
ОТ МП |
4 года |
|
92277-24 |
Система автоматизированная информационно-измерительная коммерческого учета электроэнергии (АИИС КУЭ) ООО "РУСЭНЕРГОСБЫТ" для энергоснабжения ОАО "РЖД" в границах Краснодарского края, Обозначение отсутствует Общество с ограниченной ответственностью "РУСЭНЕРГОСБЫТ" (ООО "РУСЭНЕРГОСБЫТ") (РОССИЯ г. Москва) |
ОТ МП |
4 года |
|
92470-24 |
Система автоматизированная информационно-измерительная коммерческого учета электроэнергии (АИИС КУЭ) ООО "РУСЭНЕРГОСБЫТ" для энергоснабжения ОАО "РЖД" в границах Оренбургской области, Обозначение отсутствует Общество с ограниченной ответственностью "РУСЭНЕРГОСБЫТ" (ООО "РУСЭНЕРГОСБЫТ") (РОССИЯ г. Москва) |
ОТ МП |
4 года |
|
92924-24 |
Система автоматизированная информационно-измерительная коммерческого учета электроэнергии (АИИС КУЭ) ООО "РУСЭНЕРГОСБЫТ" для энергоснабжения ООО "Энергосервис и ремонт" (Горьевский ГОК), Обозначение отсутствует Общество с ограниченной ответственностью "РУСЭНЕРГОСБЫТ" (ООО "РУСЭНЕРГОСБЫТ") (РОССИЯ г. Москва) |
ОТ МП |
4 года |
|
92925-24 |
Система автоматизированная информационно-измерительная коммерческого учета электроэнергии (АИИС КУЭ) ООО "РУСЭНЕРГОСБЫТ" для энергоснабжения потребителя ООО "Русский Лесной Альянс", Обозначение отсутствует Общество с ограниченной ответственностью "РУСЭНЕРГОСБЫТ" (ООО "РУСЭНЕРГОСБЫТ") (РОССИЯ г. Москва) |
ОТ МП |
4 года |
|
92931-24 |
Система автоматизированная информационно-измерительная коммерческого учета электроэнергии (АИИС КУЭ) ООО "РУСЭНЕРГОСБЫТ" для энергоснабжения ОАО "РЖД" в границах Москвы, Обозначение отсутствует Общество с ограниченной ответственностью "РУСЭНЕРГОСБЫТ" (ООО "РУСЭНЕРГОСБЫТ") (РОССИЯ г. Москва) |
ОТ МП |
4 года |
|
92932-24 |
Система автоматизированная информационно-измерительная коммерческого учета электроэнергии (АИИС КУЭ) ООО "РУСЭНЕРГОСБЫТ" для энергоснабжения ОАО "РЖД" в границах Амурской области, Обозначение отсутствует Общество с ограниченной ответственностью "РУСЭНЕРГОСБЫТ" (ООО "РУСЭНЕРГОСБЫТ") (РОССИЯ г. Москва) |
ОТ МП |
4 года |
|
92966-24 |
Система автоматизированная информационно-измерительная коммерческого учета электроэнергии (АИИС КУЭ) ООО "РУСЭНЕРГОСБЫТ" для энергоснабжения АО "ЧЗМК", Обозначение отсутствует Общество с ограниченной ответственностью "РУСЭНЕРГОСБЫТ" (ООО "РУСЭНЕРГОСБЫТ") (РОССИЯ г. Москва) |
ОТ МП |
4 года |
|
92967-24 |
Система автоматизированная информационно-измерительная коммерческого учета электроэнергии (АИИС КУЭ) ООО "РУСЭНЕРГОСБЫТ" для энергоснабжения ОАО "РЖД" в границах Тверской области, Обозначение отсутствует Общество с ограниченной ответственностью "РУСЭНЕРГОСБЫТ" (ООО "РУСЭНЕРГОСБЫТ") (РОССИЯ г. Москва) |
ОТ МП |
4 года |
|
92924-24 |
Система автоматизированная информационно-измерительная коммерческого учета электроэнергии (АИИС КУЭ) ООО "РУСЭНЕРГОСБЫТ" для энергоснабжения ООО "Энергосервис и ремонт" (Горьевский ГОК), Обозначение отсутствует Общество с ограниченной ответственностью "РУСЭНЕРГОСБЫТ" (ООО "РУСЭНЕРГОСБЫТ") (РОССИЯ г. Москва) |
ОТ МП |
4 года |
|
92925-24 |
Система автоматизированная информационно-измерительная коммерческого учета электроэнергии (АИИС КУЭ) ООО "РУСЭНЕРГОСБЫТ" для энергоснабжения потребителя ООО "Русский Лесной Альянс", Обозначение отсутствует Общество с ограниченной ответственностью "РУСЭНЕРГОСБЫТ" (ООО "РУСЭНЕРГОСБЫТ") (РОССИЯ г. Москва) |
ОТ МП |
4 года |
|
92931-24 |
Система автоматизированная информационно-измерительная коммерческого учета электроэнергии (АИИС КУЭ) ООО "РУСЭНЕРГОСБЫТ" для энергоснабжения ОАО "РЖД" в границах Москвы, Обозначение отсутствует Общество с ограниченной ответственностью "РУСЭНЕРГОСБЫТ" (ООО "РУСЭНЕРГОСБЫТ") (РОССИЯ г. Москва) |
ОТ МП |
4 года |
|
92932-24 |
Система автоматизированная информационно-измерительная коммерческого учета электроэнергии (АИИС КУЭ) ООО "РУСЭНЕРГОСБЫТ" для энергоснабжения ОАО "РЖД" в границах Амурской области, Обозначение отсутствует Общество с ограниченной ответственностью "РУСЭНЕРГОСБЫТ" (ООО "РУСЭНЕРГОСБЫТ") (РОССИЯ г. Москва) |
ОТ МП |
4 года |
|
92966-24 |
Система автоматизированная информационно-измерительная коммерческого учета электроэнергии (АИИС КУЭ) ООО "РУСЭНЕРГОСБЫТ" для энергоснабжения АО "ЧЗМК", Обозначение отсутствует Общество с ограниченной ответственностью "РУСЭНЕРГОСБЫТ" (ООО "РУСЭНЕРГОСБЫТ") (РОССИЯ г. Москва) |
ОТ МП |
4 года |
|
92967-24 |
Система автоматизированная информационно-измерительная коммерческого учета электроэнергии (АИИС КУЭ) ООО "РУСЭНЕРГОСБЫТ" для энергоснабжения ОАО "РЖД" в границах Тверской области, Обозначение отсутствует Общество с ограниченной ответственностью "РУСЭНЕРГОСБЫТ" (ООО "РУСЭНЕРГОСБЫТ") (РОССИЯ г. Москва) |
ОТ МП |
4 года |
|
93215-24 |
Система автоматизированная информационно-измерительная коммерческого учета электроэнергии (АИИС КУЭ) ООО "РУСЭНЕРГОСБЫТ" для энергоснабжения ОАО "РЖД" в границах Липецкой области (ТП Чириково), Обозначение отсутствует Общество с ограниченной ответственностью "РУСЭНЕРГОСБЫТ" (ООО "РУСЭНЕРГОСБЫТ") (РОССИЯ г. Москва) |
ОТ МП |
4 года |
|
93483-24 |
Система автоматизированная информационно-измерительная коммерческого учета электроэнергии (АИИС КУЭ) ООО "РУСЭНЕРГОСБЫТ" для энергоснабжения ОАО "РЖД" в границах Республики Мордовия, Обозначение отсутствует Общество с ограниченной ответственностью "РУСЭНЕРГОСБЫТ" (ООО "РУСЭНЕРГОСБЫТ") (РОССИЯ г. Москва) |
ОТ МП |
4 года |
|
93484-24 |
Система автоматизированная информационно-измерительная коммерческого учета электроэнергии (АИИС КУЭ) ООО "РУСЭНЕРГОСБЫТ" для энергоснабжения Северо-Кавказской железной дороги - филиала ОАО "РЖД", Обозначение отсутствует Общество с ограниченной ответственностью "РУСЭНЕРГОСБЫТ" (ООО "РУСЭНЕРГОСБЫТ") (РОССИЯ г. Москва) |
ОТ МП |
4 года |
|
93582-24 |
Система автоматизированная информационно-измерительная коммерческого учета электроэнергии (АИИС КУЭ) ООО "РУСЭНЕРГОСБЫТ" для энергоснабжения ОАО "РЖД" в границах Дальневосточной железной дороги - филиала ОАО "РЖД", Обозначение отсутствует Общество с ограниченной ответственностью "РУСЭНЕРГОСБЫТ" (ООО "РУСЭНЕРГОСБЫТ") (РОССИЯ г. Москва) |
ОТ МП |
4 года |
|
93707-24 |
Система автоматизированная информационно-измерительная коммерческого учета электроэнергии (АИИС КУЭ) ООО "РУСЭНЕРГОСБЫТ" для энергоснабжения потребителя ПАО "КАМАЗ", Обозначение отсутствует Общество с ограниченной ответственностью "РУСЭНЕРГОСБЫТ" (ООО "РУСЭНЕРГОСБЫТ") (РОССИЯ г. Москва) |
ОТ МП |
4 года |
|
93696-24 |
Система автоматизированная информационно-измерительная коммерческого учета электроэнергии (АИИС КУЭ) ООО "РУСЭНЕРГОСБЫТ" для энергоснабжения ОАО "РЖД" в границах Оренбургской области, Обозначение отсутствует Общество с ограниченной ответственностью "РУСЭНЕРГОСБЫТ" (ООО "РУСЭНЕРГОСБЫТ") (РОССИЯ г. Москва) |
ОТ МП |
4 года |
|
93763-24 |
Система автоматизированная информационно-измерительная коммерческого учета электроэнергии (АИИС КУЭ) ООО "РУСЭНЕРГОСБЫТ" для энергоснабжения ОАО "РЖД" в границах Свердловской железной дороги - филиала ОАО "РЖД", Обозначение отсутствует Общество с ограниченной ответственностью "РУСЭНЕРГОСБЫТ" (ООО "РУСЭНЕРГОСБЫТ") (РОССИЯ г. Москва) |
ОТ МП |
4 года |
|
93766-24 |
Система автоматизированная информационно-измерительная коммерческого учета электроэнергии (АИИС КУЭ) ООО "РУСЭНЕРГОСБЫТ" для энергоснабжения ОАО "РЖД" в границах Октябрьской железной дороги - филиала ОАО "РЖД", Обозначение отсутствует Общество с ограниченной ответственностью "РУСЭНЕРГОСБЫТ" (ООО "РУСЭНЕРГОСБЫТ") (РОССИЯ г. Москва) |
ОТ МП |
4 года |
|
94571-25 |
Система автоматизированная информационно-измерительная коммерческого учета электроэнергии (АИИС КУЭ) ООО "РУСЭНЕРГОСБЫТ" для энергоснабжения ОАО "РЖД" в границах Кемеровской области, Обозначение отсутствует Общество с ограниченной ответственностью "РУСЭНЕРГОСБЫТ" (ООО "РУСЭНЕРГОСБЫТ") (РОССИЯ г. Москва) |
ОТ МП |
4 года |
|
94628-25 |
Система автоматизированная информационно-измерительная коммерческого учета электроэнергии (АИИС КУЭ) ООО "РУСЭНЕРГОСБЫТ" для энергоснабжения ОАО "РЖД" в границах Тульской области, Обозначение отсутствует Общество с ограниченной ответственностью "РУСЭНЕРГОСБЫТ" (ООО "РУСЭНЕРГОСБЫТ") (РОССИЯ г. Москва) |
ОТ МП |
4 года |
|
94660-25 |
Система автоматизированная информационно-измерительная коммерческого учета электроэнергии (АИИС КУЭ) ООО "РУСЭНЕРГОСБЫТ" для энергоснабжения потребителя АО "Смоленская фабрика "НАШЕ", Обозначение отсутствует Общество с ограниченной ответственностью "РУСЭНЕРГОСБЫТ" (ООО "РУСЭНЕРГОСБЫТ") (РОССИЯ г. Москва) |
ОТ МП |
4 года |
|
94752-25 |
Система автоматизированная информационно-измерительная коммерческого учета электроэнергии (АИИС КУЭ) ООО "РУСЭНЕРГОСБЫТ" для энергоснабжения ОАО "РЖД" в границах Рязанской области (2-ая очередь), Обозначение отсутствует Общество с ограниченной ответственностью "РУСЭНЕРГОСБЫТ" (ООО "РУСЭНЕРГОСБЫТ") (РОССИЯ г. Москва) |
ОТ МП |
4 года |
|
94761-25 |
Система автоматизированная информационно-измерительная коммерческого учета электроэнергии (АИИС КУЭ) ООО "РУСЭНЕРГОСБЫТ" для энергоснабжения ОАО "РЖД" в границах ПАО "Ленэнерго" (ТПС Земляничная, ТПС Луговая, ТПС Скальная, ТПС Лосиная), Обозначение отсутствует Общество с ограниченной ответственностью "РУСЭНЕРГОСБЫТ" (ООО "РУСЭНЕРГОСБЫТ") (РОССИЯ г. Москва) |
ОТ МП |
4 года |
|
94763-25 |
Система автоматизированная информационно-измерительная коммерческого учета электроэнергии (АИИС КУЭ) ООО "РУСЭНЕРГОСБЫТ" для энергоснабжения ОАО "РЖД" в границах Краснодарского края, Обозначение отсутствует Общество с ограниченной ответственностью "РУСЭНЕРГОСБЫТ" (ООО "РУСЭНЕРГОСБЫТ") (РОССИЯ г. Москва) |
ОТ МП |
4 года |
|
95065-25 |
Система автоматизированная информационно-измерительная коммерческого учета электроэнергии (АИИС КУЭ) ООО "РУСЭНЕРГОСБЫТ" для энергоснабжения ОАО "РЖД" (18 очередь), Обозначение отсутствует Общество с ограниченной ответственностью "РУСЭНЕРГОСБЫТ" (ООО "РУСЭНЕРГОСБЫТ") (РОССИЯ г. Москва) |
ОТ МП |
4 года |
|
95067-25 |
Система автоматизированная информационно-измерительная коммерческого учета электроэнергии (АИИС КУЭ) ООО "РУСЭНЕРГОСБЫТ" для энергоснабжения ОАО "РЖД" в границах Москвы (2-ая очередь), Обозначение отсутствует Общество с ограниченной ответственностью "РУСЭНЕРГОСБЫТ" (ООО "РУСЭНЕРГОСБЫТ") (РОССИЯ г. Москва) |
ОТ МП |
4 года |
|
95070-25 |
Система автоматизированная информационно-измерительная коммерческого учета электроэнергии (АИИС КУЭ) ООО "РУСЭНЕРГОСБЫТ" для энергоснабжения ОАО "РЖД" в границах Мурманской области (2-ая очередь), Обозначение отсутствует Общество с ограниченной ответственностью "РУСЭНЕРГОСБЫТ" (ООО "РУСЭНЕРГОСБЫТ") (РОССИЯ г. Москва) |
ОТ МП |
4 года |
|
95085-25 |
Система автоматизированная информационно-измерительная коммерческого учета электроэнергии (АИИС КУЭ) ООО "РУСЭНЕРГОСБЫТ" для энергоснабжения потребителей в границах Волгоградской области (2-ая очередь), Обозначение отсутствует Общество с ограниченной ответственностью "РУСЭНЕРГОСБЫТ" (ООО "РУСЭНЕРГОСБЫТ") (РОССИЯ г. Москва) |
ОТ МП |
4 года |
|
95089-25 |
Система автоматизированная информационно-измерительная коммерческого учета электроэнергии (АИИС КУЭ) ООО "РУСЭНЕРГОСБЫТ" для энергоснабжения ОАО "РЖД" (19 очередь), Обозначение отсутствует Общество с ограниченной ответственностью "РУСЭНЕРГОСБЫТ" (ООО "РУСЭНЕРГОСБЫТ") (РОССИЯ г. Москва) |
ОТ МП |
4 года |
|
95090-25 |
Система автоматизированная информационно-измерительная коммерческого учета электроэнергии (АИИС КУЭ) ООО "РУСЭНЕРГОСБЫТ" для энергоснабжения потребителей АО "АБ ИнБев Эфес" г. Волжский, АО "АБ ИнБев Эфес" г. Иваново, АО "АБ ИнБев Эфес" г. Саранск, Обозначение отсутствует Общество с ограниченной ответственностью "РУСЭНЕРГОСБЫТ" (ООО "РУСЭНЕРГОСБЫТ") (РОССИЯ г. Москва) |
ОТ МП |
4 года |
|
95243-25 |
Система автоматизированная информационно-измерительная коммерческого учета электроэнергии (АИИС КУЭ) ООО "РУСЭНЕРГОСБЫТ" для энергоснабжения АО "ЧЗМК", Обозначение отсутствует Общество с ограниченной ответственностью "РУСЭНЕРГОСБЫТ" (ООО "РУСЭНЕРГОСБЫТ") (РОССИЯ г. Москва) |
ОТ МП |
4 года |
|
95212-25 |
Система автоматизированная информационно-измерительная коммерческого учета электроэнергии (АИИС КУЭ) ООО "РУСЭНЕРГОСБЫТ" для энергоснабжения ОАО "РЖД" в границах Иркутской области (1-ая очередь), Обозначение отсутствует Общество с ограниченной ответственностью "РУСЭНЕРГОСБЫТ" (ООО "РУСЭНЕРГОСБЫТ") (РОССИЯ г. Москва) |
ОТ МП |
4 года |
|
95283-25 |
Система автоматизированная информационно-измерительная коммерческого учета электроэнергии (АИИС КУЭ) ООО "РУСЭНЕРГОСБЫТ" для энергоснабжения ОАО "РЖД" в границах Кемеровской области (ПС Беловская), Обозначение отсутствует Общество с ограниченной ответственностью "РУСЭНЕРГОСБЫТ" (ООО "РУСЭНЕРГОСБЫТ") (РОССИЯ г. Москва) |
ОТ МП |
4 года |
|
95474-25 15.05.2030 |
Системы автоматизированные информационно-измерительные коммерческого учета электроэнергии (АИИС КУЭ) для энергоснабжения потребителей ООО "РУСЭНЕРГОСБЫТ", Обозначение отсутствует Общество с ограниченной ответственностью "РУСЭНЕРГОСБЫТ" (ООО "РУСЭНЕРГОСБЫТ") (РОССИЯ г. Москва) |
ОТ МП |
4 года |
|
95547-25 |
Система автоматизированная информационно-измерительная коммерческого учета электроэнергии (АИИС КУЭ) ООО "РУСЭНЕРГОСБЫТ" для энергоснабжения ОАО "РЖД" (20 очередь), Обозначение отсутствует Общество с ограниченной ответственностью "РУСЭНЕРГОСБЫТ" (ООО "РУСЭНЕРГОСБЫТ") (РОССИЯ г. Москва) |
ОТ МП |
4 года |
Справочник является модернизированной копией реестра "Утверждённые типы средств измерений" (https://fgis.gost.ru/fundmetrology/registry/4) и содержит сведения о типах СИ, применяемых в сфере обеспечения единства измерений.
В отличии от официального Реестра справочник имеет систему предварительных фильтров:
- по типу производства (серийное или единичное);
- по группам стран (отечественные, импортные или все типы СИ);
- по наличию поверок в ФГИС АРШИН;
- по областям измерений.
Данные выводятся одной таблицей без необходимости "проваливаться" в каждую из записей для уточнения сведений. При наличии ОТ и МП приводится ссылка на ФГИС АРШИН. В таблице реализована система поиска и сортировки по любому из полей.
Справочник содержит более 100 тыс. записей и актуализируется не реже 1 раза в месяц.
Бесплатный
Кто поверяет Система автоматизированная информационно-измерительная коммерческого учета электроэнергии (АИИС КУЭ) ООО "РУСЭНЕРГОСБЫТ" для энергоснабжения ОАО "РЖД" в границах Красноярской железной дороги - филиала ОАО "РЖД" (Обозначение отсутствует)
| Наименование организации | Cтатус | Поверенные модификации | Кол-во поверок | Поверок в 2026 году | Первичных поверок | Периодических поверок | Извещений | Для юриков | Для юриков первичные | Для юриков периодические |
|---|---|---|---|---|---|---|---|---|---|---|
| ООО ИИГ "КАРНЕОЛ" (RA.RU.312601) | 3 | 3 | 0 | 0 | 3 | 3 | 0 | |||
| ООО "ЭНЕРГОКОМПЛЕКС" (RA.RU.311677) | 1 | 1 | 0 | 0 | 0 | 0 | 0 |
Стоимость поверки Система автоматизированная информационно-измерительная коммерческого учета электроэнергии (АИИС КУЭ) ООО "РУСЭНЕРГОСБЫТ" для энергоснабжения ОАО "РЖД" в границах Красноярской железной дороги - филиала ОАО "РЖД" (Обозначение отсутствует)
| Организация, регион | Стоимость, руб | Средняя стоимость |
|---|
Программное обеспечение
Идентификационные данные метрологически значимой части ПО представлены в таблицах 1 - 3.
Таблица 1 - Идентификационные данные ПО «Энергия Альфа 2»
|
Идентификационные данные (признаки) |
Значение |
|
Идентификационное наименование ПО |
Энергия Альфа 2 |
|
Номер версии (идентификационный номер) ПО |
не ниже 2.0.0.2 |
|
Цифровой идентификатор ПО (MD 5, enalpha.exe) |
17e63d59939159ef304b8ff63121df60 |
Таблица 2 - Идентификационные данные ПО «АльфаЦЕНТР»
|
Идентификационные данные (признаки) |
Значение |
|
Идентификационное наименование ПО |
АльфаЦЕНТР |
|
Номер версии (идентификационный номер) ПО |
не ниже 12.01 |
|
Цифровой идентификатор ПО (MD 5, ac metrology.dll ) |
3E736B7F380863F44CC8E6F7BD211C54 |
|
Таблица 3 - Идентификационные данные ПО «ГО |
РИЗОНТ» |
|
Идентификационные данные (признаки) |
Значение |
|
Идентификационное наименование ПО |
ГОРИЗОНТ |
|
Номер версии (идентификационный номер) ПО |
не ниже 1.13 |
|
Цифровой идентификатор ПО |
54 bO a6 5f cd d6 b7 13 b2 Of ff 43 65 5d a8 1b |
Уровень защиты ПО «АльфаЦЕНТР» от непреднамеренных и преднамеренных изменений соответствует уровню «средний» в соответствии с Р 50.2.077-2014.
Уровень защиты ПО «Энергия Альфа 2», ПО «ГОРИЗОНТ» от непреднамеренных и преднамеренных изменений соответствует уровню «высокий» в соответствии с Р 50.2.077-2014.
Конструкция средства измерений исключает возможность несанкционированного влияния на ПО и измерительную информацию.
Знак утверждения типа
Знак утверждения типананосится на титульные листы эксплуатационной документации на АИИС КУЭ типографским способом.
Сведения о методиках измерений
Сведения о методиках (методах) измеренийприведены в документе «Методика измерений электрической энергии с использованием системы автоматизированной информационно-измерительной коммерческого учета электроэнергии (АИИС КУЭ) ООО «РУСЭНЕРГОСБЫТ» для энергоснабжения ОАО «РЖД» в границах Красноярской железной дороги - филиала ОАО «РЖД», аттестованном ООО «РусЭнергоПром», аттестат аккредитации № RA.RU.312149 от 04.05.2017 г.
Нормативные и технические документы
Нормативные документы, устанавливающие требования к системе автоматизированной информационно-измерительной коммерческого учета электроэнергии (АИИС КУЭ) ООО «РУСЭНЕРГОСБЫТ» для энергоснабжения ОАО «РЖД» в границах Красноярской железной дороги - филиала ОАО «РЖД»
ГОСТ 22261-94 Средства измерений электрических и магнитных величин. Общие технические условия;
ГОСТ 34.601-90 Информационная технология. Комплекс стандартов на автоматизированные системы. Автоматизированные системы. Стадии создания;
ГОСТ Р 8.596-2002 ГСИ. Метрологическое обеспечение измерительных систем. Основные положения.
ПравообладательОбщество с ограниченной ответственностью «РУСЭНЕРГОСБЫТ»
(ООО «РУСЭНЕРГОСБЫТ»)
ИНН 7706284124
Адрес: 119048, г. Москва, Комсомольский пр-т, д. 42, стр. 3
Телефон: +7 (495) 926-99-00
Факс: +7 (495) 287-81-92
Испытательный центр
Общество с ограниченной ответственностью ИНВЕСТИНИОННО-ИНЖИНИРИНГОВАЯ ГРУППА «КАРНЕОЛ» (ООО ИИГ «КАРНЕОЛ»)Адрес: 455038, Челябинская обл., г. Магнитогорск, пр-т Ленина, д. 124, оф. 15
Телефон: +7 (982) 282-82-82
Факс: +7 (982) 282-82-82
Е-mail: carneol@bk.ru
АИИС КУЭ представляет собой многофункциональную, многоуровневую автоматизированную измерительную систему с централизованным управлением, распределенной функцией измерения.
АИИС КУЭ состоит из трех уровней:
-
1- й уровень - измерительно-информационный комплекс (ИИК) включает в себя измерительные трансформаторы тока (ТТ), измерительные трансформаторы напряжения (ТН), многофункциональные счетчики активной и реактивной электрической энергии (счетчики), вторичные измерительные цепи и технические средства приема-передачи данных;
-
2- й уровень - информационно-вычислительный комплекс электроустановки (ИВКЭ) включает устройства сбора и передачи данных (УСПД) ОАО «РЖД» (основные и/или резервные);
-
3- й уровень - информационно-вычислительный комплекс (ИВК) включает в себя сервер ОАО «РЖД» (основной и/или резервный), сервер ООО «РУСЭНЕРГОСБЫТ», устройства синхронизации системного времени (УССВ), каналообразующую аппаратуру, технические средства для организации локальной вычислительной сети и разграничения прав доступа к информации, АРМ.
Основной сервер ОАО «РЖД» создан на базе программного обеспечения (ПО) «ГОРИЗОНТ», резервный сервер ОАО «РЖД» создан на базе ПО «Энергия Альфа 2». ИВК в части сервера ОАО «РЖД» единомоментно работает либо на основном сервере, либо на резервном.
Сервер ООО «РУСЭНЕРГОСБЫТ» создан на базе ПО «АльфаЦЕНТР» и ПО «Энергия Альфа 2».
Первичные токи и напряжения преобразуются измерительными трансформаторами в сигналы, которые по вторичным измерительным цепям поступают на измерительные входы счетчика. По мгновенным значениям силы электрического тока и напряжения в микропроцессоре счетчика вычисляются соответствующие мгновенные значения активной, реактивной и полной мощности. Электрическая энергия, как интеграл по времени от мощности, вычисляется для интервалов времени 30 минут. Счетчики электрической энергии сохраняют в регистрах памяти фиксируемые события с привязкой к шкале времени UTC(SU).
Цифровой сигнал с выходов счетчиков при помощи технических средств приёма-передачи данных поступает на входы УСПД ОАО «РЖД» (основные типа ЭКОМ-3000 и/или резервные типа RTU-327), где осуществляется формирование и хранение информации. Допускается опрос счетчиков любым УСПД в составе АИИС КУЭ с сохранением настроек опроса. ИВКЭ единомоментно работает либо на основном УСПД, либо на резервном.
Далее данные с УСПД ОАО «РЖД» передаются на сервер ОАО «РЖД», где осуществляется оформление отчетных документов. Цикличность сбора информации - не реже одного раза в сутки.
Передача информации об энергопотреблении от сервера ОАО «РЖД» на сервер ООО «РУСЭНЕРГОСБЫТ» производится автоматически, путем межсерверного обмена.
Обработка измерительной информации (умножение на коэффициенты трансформации ТТ и ТН) происходит автоматически в счетчике, либо в УСПД, либо в ИВК.
Формирование и передача данных прочим участникам и инфраструктурным организациям оптового и розничного рынков электроэнергии и мощности (ОРЭМ) за электронно-цифровой подписью ООО «РУСЭНЕРГОСБЫТ» в виде макетов XML формата 80020, а также в иных согласованных форматах в соответствии с регламентами ОРЭМ осуществляется сервером по коммутируемым телефонным линиям, каналу связи Internet через интернет-провайдера или сотовой связи.
Сервер ООО «РУСЭНЕРГОСБЫТ» также обеспечивает сбор/передачу данных по электронной почте Internet (E-mail) при взаимодействии с АИИС КУЭ третьих лиц и смежных субъектов ОРЭМ в виде макетов XML формата 80020, а также в иных согласованных форматах в соответствии с регламентами ОРЭМ.
АИИС КУЭ оснащена системой обеспечения единого времени (СОЕВ), которая охватывает все уровни системы. СОЕВ выполняет законченную функцию измерений времени, имеет нормированные метрологические характеристики и обеспечивает автоматическую синхронизацию времени с допускаемой погрешностью не более, указанной в таблице 5. СОЕВ включает в себя сервер синхронизации времени ССВ-1Г, устройство синхронизации времени УСВ-3, серверы точного времени Метроном-50М, часы сервера ОАО «РЖД», часы сервера ООО «РУСЭНЕРГОСБЫТ», часы УСПД и счётчиков. Сервер синхронизации времени ССВ-1Г, серверы точного времени Метроном-50М, устройство синхронизации времени УСВ-3 осуществляют прием и обработку сигналов времени, по которым осуществляют синхронизацию собственных часов со шкалой координированного времени Российской Федерации UTC(SU).
Сервер ООО «РУСЭНЕРГОСБЫТ» оснащён УССВ на базе серверов точного времени (основного и резервного) типа Метроном-50М. Периодичность сравнения показаний часов осуществляется не реже 1 раза в сутки. Корректировка времени компонентов АИИС КУЭ происходит при превышении уставки коррекции времени (величины расхождения времени корректируемого и корректирующего компонентов). Уставка коррекции времени сервера равна ±1 с (параметр программируемый).
Основной сервер ОАО «РЖД» оснащен сервером синхронизации времени ССВ-1Г. Периодичность сравнения показаний часов между основным сервером ОАО «РЖД» и ССВ-1Г осуществляется посредством ntp-сервера не реже 1 раза в сутки. Резервным источником сигналов точного времени является УСВ-3. Корректировка времени происходит при превышении уставки коррекции времени. Уставка коррекции времени настраивается с учетом обеспечения допускаемой погрешности СОЕВ АИИС КУЭ и не должна превышать величину ±1 с (параметр программируемый).
Резервный сервер ОАО «РЖД» оснащен устройством синхронизации времени УСВ-3. Периодичность сравнения показаний часов осуществляется не реже 1 раза в сутки. Корректировка времени происходит при превышении уставки коррекции времени. Уставка коррекции времени настраивается с учетом обеспечения допускаемой погрешности СОЕВ АИИС КУЭ и не должна превышать величину ±1 с (параметр программируемый).
Основные УСПД ОАО «РЖД» синхронизируются от сервера ССВ-1Г посредством ntp-сервера. Периодичность сравнения показаний часов осуществляется не реже 1 раза в сутки. Корректировка времени компонентов АИИС КУЭ происходит при превышении уставки коррекции времени. Уставка коррекции времени настраивается с учетом обеспечения допускаемой погрешности СОЕВ АИИС КУЭ и не должна превышать величину ±2 с (параметр программируемый).
Резервные УСПД ОАО «РЖД» синхронизируются от резервного сервера ОАО «РЖД». Периодичность сравнения показаний часов осуществляется не реже 1 раза в сутки. Корректировка времени компонентов АИИС КУЭ происходит при превышении уставки коррекции времени. Уставка коррекции времени настраивается с учетом обеспечения допускаемой погрешности СОЕВ АИИС КУЭ и не должна превышать величину ±2 с (параметр программируемый).
Счетчики синхронизируются от УСПД (основных и/или резервных) ОАО «РЖД». Сравнение показаний часов счетчиков и УСПД происходит при каждом сеансе связи «счетчик -УСПД». Корректировка времени компонентов АИИС КУЭ происходит при превышении уставки коррекции времени. Уставка коррекции времени настраивается с учетом обеспечения допускаемой погрешности СОЕВ АИИС КУЭ и не должна превышать величину ±2 с (параметр программируемый).
Журналы событий счетчиков, УСПД и серверов отображают факты коррекции времени с обязательной фиксацией времени до и после коррекции и (или) величины коррекции времени, на которую был скорректирован компонент.
Знак поверки наносится на свидетельство о поверке. Заводской номер средства измерений наносится в формуляр АИИС КУЭ типографским способом.
Комплектность АИИС КУЭ представлена в таблице 7.
Таблица 7 -
|
Наименование |
Обозначение |
Количество |
|
1 |
2 |
3 |
|
Трансформаторы тока |
ТПЛ-10-М |
4 шт. |
|
Трансформаторы тока |
ТОЛ-НТЗ-10 |
3 шт. |
|
Трансформаторы тока |
ТРГ-110 II* |
6 шт. |
|
Трансформаторы тока |
ТГФМ-110 II* |
6 шт. |
|
Трансформаторы напряжения |
НАМИ-10-95 УХЛ2 |
1 шт. |
|
Трансформаторы напряжения |
НТМИ-10-66У3 |
1 шт. |
|
Трансформаторы напряжения |
НАМИ-110 УХЛ1 |
12 шт. |
|
Счетчики электрической энергии многофункциональные |
Альфа |
2 шт. |
|
Счетчики электрической энергии трехфазные многофункциональные |
Альфа А1800 |
5 шт. |
Продолжение таблицы 7
|
1 |
2 |
3 |
|
Устройства сбора и передачи данных |
RTU-327 |
1 шт. |
|
Устройства сбора и передачи данных |
ЭКОМ-3000 |
1 шт. |
|
Устройства синхронизации времени |
УСВ-3 |
1 шт. |
|
Серверы точного времени |
Метроном-50М |
2 шт. |
|
Серверы синхронизации времени |
ССВ-1Г |
1 шт. |
|
Формуляр |
13526821.4611.241.ЭД.ФО |
1 экз. |
Состав ИК АИИС КУЭ, метрологические и технические характеристики ИК АИИС КУЭ приведены в таблицах 4 - 6.
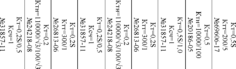
Таблица 4 - Состав ИК АИИС КУЭ, основные метрологические и технические характеристики ИК АИИС КУЭ
|
Номер ИК |
Наименование объекта учета |
Состав ИК АИИС КУЭ | |||||
|
Вид СИ, класс точности, коэффициент трансформации, регистрационный номер в Федеральном информационном фонде по обеспечению единства измерений (рег. №) |
Обозначение, тип |
УСПД |
УССВ | ||||
|
1 |
2 |
3 |
4 |
5 |
6 | ||
|
1 |
ПС 220 кВ Курагино тяговая, Ввод 10 кВ ТРП- 1 |
н н |
Кт=0,5 Ктт=400/5 №22192-03 |
А |
ТПЛ-10-М |
RTU-327 Рег. № 19495-03 ЭКОМ-3000 Рег. № 17049-14 |
УСВ-3 Рег. № 51644-12 Метроном-50М Рег. № 68916-17 ССВ-1Г Рег. № 58301-14 |
|
В |
- | ||||||
|
С |
ТПЛ-10-М | ||||||
|
К н |
Кт=0,5 Ктн=10000/100 №20186-05 |
А В С |
НАМИ-10-95 УХЛ2 | ||||
|
Счетчик |
Кт=0,58/1,0 Ксч=1 №14555-02 |
A2R-3-0L-C25-T+ | |||||
|
2 |
ПС 220 кВ Курагино тяговая, Ввод 10 кВ ТРП- 2 |
н н |
Кт=0,5 Ктт=400/5 №22192-03 |
А |
ТПЛ-10-М | ||
|
В |
- | ||||||
|
С |
ТПЛ-10-М | ||||||
|
К н |
Кт=0,5 Ктн=10000/100 №831-69 |
А В С |
НТМИ-10-66У3 | ||||
|
Счетчик |
Кт=0,58/1,0 Ксч=1 №14555-02 |
A2R-3-0L-C25-T+ | |||||

-U

ПС 110 кВ Запань тяговая, ОРУ-110 кВ, 2 СШ 110 кВ, отпайка ВЛ-110 кВ Тайшет - Кварцит тяговая с отпайкой на ПС
Запань тяговая (С-46)
Счетчик TH ТТ
ПС 110 кВ Запань тяговая, ОРУ-ИО кВ, 1 СШ 110 кВ, отпайка ВЛ
110 кВ Абакумовка тяговая - Тайшет с отпайкой на ПС Запань тяговая (С-43)
Счетчик TH ТТ
ПС 220 кВ Курагино тяговая, Ф. 10 кВ №3
Счетчик TH ТТ


|
О |
W |
> |
О |
W |
> |
|
н |
н |
н | |||
|
ч |
ч |
ч | |||
|
и |
ч |
ч | |||
|
_L |
_L |
_L | |||
|
о |
о |
о |
о |
о |
о |
|
НН НН |
НН НН |
НН НН | |||
|
X |
X |
X |
* |
* |
* |
|
о |
W |
> |
О |
W |
> |
|
н |
н |
н | |||
|
ч |
ч |
ч | |||
|
ч |
ч |
ч | |||
|
_L |
_L |
_L | |||
|
о |
о |
о |
о |
о |
о |
|
НН НН |
НН НН |
НН НН | |||
|
X |
X |
X |
* |
* |
* |

Продолжение таблицы 4

|
ч |
Ч | ||
|
л> |
О |
О | |
|
i? |
X О |
io* |
X н |
|
g |
а | ||
|
-J |
t > ■» | ||
|
о |
ьэ |
-U |
к л |
|
-U |
о | ||
|
<о |
о |
■--J | |
|
л_ |
о |
о | |
|
4^ | |||
|
ч |
ч |
Ч | ||
|
о |
о |
л> | ||
|
Л> | ||||
|
io* |
о о |
io* |
н ч о |
i? |
|
W |
О'. |
д |
LZ1 | |
|
00 |
00 |
о | ||
|
I—1 |
2 |
о> | ||
|
о |
ч |
1—1 |
1 |
-U |
|
сл |
У1 о |
-U | ||
|
-U |
5», |
ьэ | ||

О'.
Cd о о
о
ьэ О'.
Продолжение таблицы 4
|
1 |
2 |
3 |
4 |
5 |
6 | ||
|
6 |
ПС 110 кВ Кварцит тяговая, ОРУ-110 кВ, 1 СШ 110 кВ, ВЛ-110 кВ Кварцит тяговая -Нагорная (С-44) |
н н |
Kr=0,2S Ктт=600/1 №36672-08 |
А |
ТГФМ-110 II* |
RTU-327 Рег. № 19495-03 ЭКОМ-3000 Рег. № 17049-14 |
УСВ-3 Рег. № 51644-12 Метроном-50М Рег. № 68916-17 ССВ-1Г Рег. № 58301-14 |
|
В |
ТГФМ-110 II* | ||||||
|
С |
ТГФМ-110 II* | ||||||
|
К н |
Кт=0,2 Ктн=110000/^3/100/^3 №24218-08 |
А |
НАМИ-110 УХЛ1 | ||||
|
В |
НАМИ-110 УХЛ1 | ||||||
|
С |
НАМИ-110 УХЛ1 | ||||||
|
Счетчик |
Kr=0,2S/0,5 Ксч=1 №31857-06 |
A1802RALQ-P4GB-DW-4 | |||||
|
7 |
ПС 110 кВ Кварцит тяговая, ОРУ-110 кВ, 2 СШ 110 кВ, ВЛ-110 кВ Тайшет - Кварцит тяговая с отпайкой на ПС Запань тяговая (С-46) |
н н |
Kr=0,2S Ктт=600/1 №36672-08 |
А |
ТГФМ-110 II* | ||
|
В |
ТГФМ-110 II* | ||||||
|
С |
ТГФМ-110 II* | ||||||
|
К н |
Кт=0,2 Ктн=110000/^3/100/^3 №24218-08 |
А |
НАМИ-110 УХЛ1 | ||||
|
В |
НАМИ-110 УХЛ1 | ||||||
|
С |
НАМИ-110 УХЛ1 | ||||||
|
Счетчик |
Kr=0,2S/0,5 Ксч=1 №31857-06 |
A1802RALQ-P4GB-DW-4 | |||||
|
Примечания:
| |||||||
Таблица 5 - Основные метрологические характеристики ИК
|
Номера ИК |
Вид электроэнер гии |
Границы основной погрешности (±6), % |
Границы погрешности в рабочих условиях (±6), % |
|
Активная |
1,2 |
5,7 | |
|
1, 2 |
Реактивная |
2,5 |
3,5 |
|
3 |
Активная |
1,2 |
5,1 |
|
Реактивная |
2,5 |
4,0 | |
|
Активная |
0,5 |
2,0 | |
|
4, 5 |
Реактивная |
1,1 |
2,0 |
|
Активная |
0,5 |
2,0 | |
|
6, 7 |
Реактивная |
1,1 |
2,1 |
|
Пределы допускаемой погрешности СОЕВ, с |
±5 | ||
|
Примечания: | |||
| |||
|
соответствующие P = 0,95. | |||
|
3 Погрешность в рабочих условиях указана для тока 2(5)% 1№м, cosф = 0,5инд и | |||
|
температуры окружающего воздуха в месте расположения счетчиков электроэнергии от +5 до | |||
|
+35°С. | |||
Таблица 6 - Основные технические характеристики ИК
|
Наименование характеристики |
Значение |
|
1 |
2 |
|
Нормальные условия: параметры сети:
ГОСТ 31819.22-2012, ГОСТ Р 52323-2005, ГОСТ 30206-94
ГОСТ 31819.23-2012, ТУ 4228-011-29056091-11 ГОСТ 26035-83 |
от 99 до 101 от 100 до 120 0,87 от +21 до +25 от +21 до +25 от +18 до +22 |
|
Условия эксплуатации: параметры сети:
|
от 90 до 110 от 2(5) до 120 от 0,5 до 1,0 |
Продолжение таблицы 6
|
1 |
2 |
|
- диапазон рабочих температур окружающей среды, °C: | |
|
- для ТТ и ТН |
от -40 до +40 |
|
- для счетчиков |
от -40 до +55 |
|
- для УСПД RTU-327 |
от 0 до +75 |
|
- для УСПД ЭКОМ-3000 |
от 0 до +40 |
|
- для УСВ-3 |
от -25 до +60 |
|
- для Метроном-50М |
от +15 до +30 |
|
- для ССВ-1Г |
от +5 до +40 |
|
Надежность применяемых в АИИС КУЭ компонентов: | |
|
счетчики электроэнергии Альфа: | |
|
- среднее время наработки на отказ, ч, не менее |
35000 |
|
- среднее время восстановления работоспособности, ч, не более счетчики электроэнергии Альфа А1800: |
72 |
|
- среднее время наработки на отказ, ч, не менее |
120000 |
|
- среднее время восстановления работоспособности, ч, не более |
72 |
|
УСПД RTU-327: | |
|
- среднее время наработки на отказ, ч, не менее |
40000 |
|
- среднее время восстановления работоспособности, ч, не более |
24 |
|
УСПД ЭКОМ-3000: | |
|
- среднее время наработки на отказ, ч, не менее |
100000 |
|
- среднее время восстановления работоспособности, ч, не более |
24 |
|
ИВК: | |
|
- коэффициент готовности, не менее |
0,99 |
|
- среднее время восстановления работоспособности, ч, не более |
1 |
|
Глубина хранения информации ИИК: | |
|
- счетчики электроэнергии: | |
|
- тридцатиминутный профиль нагрузки в двух направлениях, сут, | |
|
не менее |
45 |
|
ИВКЭ: | |
|
- УСПД: | |
|
- суточные данные о тридцатиминутных приращениях | |
|
электроэнергии по каждому каналу и электроэнергии, потребленной за месяц, сут, не менее |
45 |
|
ИВК: | |
|
- результаты измерений, состояние объектов и средств | |
|
измерений, лет, не менее |
3,5 |
Надежность системных решений:
-
- защита от кратковременных сбоев питания сервера, УСПД с помощью источника бесперебойного питания;
-
- резервирование каналов связи: информация о результатах измерений может передаваться в организации-участники оптового рынка электроэнергии с помощью электронной почты и сотовой связи.
В журналах событий фиксируются факты:
-
- журнал счётчика:
-
- параметрирования;
-
- пропадания напряжения;
-
- коррекции времени в счетчике;
- журнал УСПД:
- параметрирования;
- пропадания напряжения;
- коррекции времени в счетчике и УСПД;
- пропадание и восстановление связи со счетчиком;
Защищённость применяемых компонентов:
- механическая защита от несанкционированного доступа и пломбирование:
- электросчётчика;
- промежуточных клеммников вторичных цепей напряжения;
- испытательной коробки;
- УСПД;
- серверов;
- защита на программном уровне информации при хранении, передаче, параметрировании:
- установка пароля на счетчики электрической энергии;
- установка пароля на УСПД;
- установка пароля на серверы.
Возможность коррекции времени в:
- счетчиках электрической энергии (функция автоматизирована);
- УСПД (функция автоматизирована);
- сервере ИВК (функция автоматизирована).
Возможность сбора информации:
- о состоянии средств измерений (функция автоматизирована).
Цикличность:
- измерений 30 мин (функция автоматизирована);
- сбора 30 мин (функция автоматизирована).

