Номер по Госреестру СИ: 92936-24
92936-24 Комплексы измерительные
(Суперфлоу 23СГ)
Назначение средства измерений:
Комплексы измерительные Суперфлоу 23СГ (далее — комплексы) предназначены для измерений объема природного газа, приведенного к стандартным условиям по ГОСТ 2939-63.

Внешний вид.
Комплексы измерительные
Рисунок № 1

Внешний вид.
Комплексы измерительные
Рисунок № 2

Внешний вид.
Комплексы измерительные
Рисунок № 3
Программное обеспечение
Корректоры, входящие в состав комплексов, содержат встроенное программное обеспечение (ПО) и энергонезависимую память для хранения данных заводских настроек. Преобразование измеряемых величин и обработка измерительных данных выполняется с использованием внутренних аппаратных и программных средств. ПО располагается в энергонезависимой памяти микроконтроллера, обеспечивающего аппаратную защиту от считывания ПО или его части с целью копирования, или внесения изменений. Встроенные средства для программирования или изменения ПО отсутствуют. Защита от преднамеренных и непреднамеренных изменений достигается путём установки специальной крышки, препятствующей демонтажу платы и скрывающей элементы, обеспечивающие возможность
корректировки градуировочной характеристики измерительных каналов и загрузку встроенного ПО. Защитная крышка опечатывается и содержит предупредительную надпись «Не вскрывать! Опломбировано изготовителем».
Метрологические характеристики комплекса
нормированы
с учетом влияния программного обеспечения. Корректор обеспечивает идентификацию встроенного ПО посредством индикации номера версии.
В счетчиках газа турбинных СГ16МТ отсутствует ПО. Идентификационные данные ПО корректоров приведены в таблице 2.
Таблица 2 -
данные ПО
|
Идентификационные данные (признаки) |
Значение |
|
Идентификационное наименование ПО |
- |
|
Номер версии (идентификационный номер) ПО |
1.x |
|
Цифровой идентификатор ПО |
- |
Уровень защиты программного обеспечения корректоров от преднамеренных и непреднамеренных изменений соответствует уровню «высокий» по P 50.2.077-2014.
Знак утверждения типа
Знак утверждения типананосится на титульный лист паспорта, а также на маркировочную табличку, расположенной на соединительном кронштейне, изготовленную методом лазерной гравировки на самоклеящейся пластиковой плёнке.
Сведения о методиках измерений
Сведения о методиках (методах) измеренийприведены в документе «Государственная система обеспечения единства измерений. Расход и объем природного газа. Методика измерений с помощью турбинных, ротационных и вихревых расходомеров и счетчиков газа», аттестованным ООО "ГАЗПРОМ ВНИИГАЗ", свидетельство об аттестации методики (метода) измерений № 101/РОСС RU.0001.310294-2022, регистрационный номер в Федеральном информационном фонде по обеспечению единства измерений ФР.1.29.2023.45191.
Нормативные и технические документы
Нормативные документы, устанавливающие требования к средству измеренийГОСТ Р 8.740-2011 ГСИ. Расход и количество газа. Методика измерений с помощью турбинных, ротационных и вихревых расходомеров и счетчиков;
СНАГ.407221.001 ТУ. Комплекс измерительный «Суперфлоу 23СГ». Технические условия.
Правообладатель«Газпром
автоматизация»
Публичное акционерное общество
(ПАО «Газпром автоматизация») ИНН 7704028125
Юридический адрес: 117405, г. Москва, вн. тер. г. муниципальный округ Чертаново Южное, ул. Кирпичные Выемки, д. 3, помещ. VI, ком. 21
Телефон: (499) 580-41-40
Web-сайт: www.gazprom-auto.ru
E-mail: gazauto@gazprom-auto.ru
Изготовитель
«Газпромавтоматизация»
Публичное акционерное общество
(ПАО «Газпром автоматизация»)
ИНН 7704028125
Юридический адрес: 117405, г. Москва, вн. тер. г. муниципальный округ Чертаново Южное, ул. Кирпичные Выемки, д. 3, помещ. VI, ком. 21
Адрес места осуществления деятельности по изготовлению продукции: 117405, г. Москва, ул. Кирпичные выемки, д. 3
Телефон: (499) 580-41-40
Web-сайт: www.gazprom-auto.ru
E-mail: gazauto@gazprom-auto.ru
Испытательный центр
Федеральное государственное бюджетное учреждение «Всероссийский научноисследовательский институт метрологической службы» (ФГБУ «ВНИИМС»)Адрес: 119361, г. Москва, вн. тер. г. муниципальный округ Очаково-Матвеевское, ул. Озерная, д. 46
Телефон: (495) 437-55-77
Факс: (495) 437-56-66
E-mail: office@vniims.ru
Web-сайт: www.vniims.ru
Правообладатель
«Газпромавтоматизация»
Публичное акционерное общество
(ПАО «Газпром автоматизация») ИНН 7704028125
Юридический адрес: 117405, г. Москва, вн. тер. г. муниципальный округ Чертаново Южное, ул. Кирпичные Выемки, д. 3, помещ. VI, ком. 21
Телефон: (499) 580-41-40
Web-сайт: www.gazprom-auto.ru
E-mail: gazauto@gazprom-auto.ru
Принцип действия комплексов основан на измерении абсолютного давления и температуры газа, измерении объёма газа при рабочих условиях и вычислении объёма газа при стандартных условиях с учетом условно-постоянных параметров: плотности газа при стандартных условиях и компонентного состава газа. Расчет коэффициента сжимаемости газа и плотности газа выполняется по ГОСТ 30319.2-2015. Приведение объема газа к стандартным условиям выполняется по ГОСТ Р 8.740-2011.
Конструктивно комплекс представляет собой корректор объема газа Суперфлоу 23 (номер в Федеральном информационном фонде 89873-23), закрепленный на счетчике газа турбинном СГ16МТ исполнения Р (номер в Федеральном информационном фонде 14124-14). Термопреобразователь корректора установлен в корпусе счетчика, измерение давления осуществляется при помощи встроенного или выносного преобразователя давления корректора. Импульсный выход счетчика подключен к счётно-импульсному входу корректора при помощи соединительного кабеля.
Комплекс может устанавливаться во взрывоопасных зонах класса 1, где возможно образование взрывоопасных смесей категории IIA групп Т1-Т3 по ГОСТ 31610.0-2019.
Условное обозначение комплекса состоит из:
-
- наименования Суперфлоу 23СГ;
-
- значения максимального расхода газа при рабочих условиях (Qmax), м3/ч;
-
- соотношения максимального (Qmax) и минимального расхода (Qmin);
-
- диаметра условного прохода счетчика газа, мм;
-
- верхнего предела измерений абсолютного давления, МПа;
-
- обозначения направления потока измеряемой среды относительно лицевой панели корректора и счетного механизма счетчика газа (Л - слева направо; П - справа нелево).
Пример обозначения комплекса: Суперфлоу 23СГ - 400/25/100 - 1,7 - Л. Характеристики комплексов измерительных Суперфлоу 23СГ приведены в таблице 1.
Таблица 1 - Характеристики комплексов
|
Обозначение комплекса |
Qmах м3/ч |
Qmin/ Qmах |
Qt/ Qmax |
Dу мм |
|
Суперфлоу 23СГ-65/10/50-Р-Л(П) |
65 |
1:10 |
1:5 |
50 |
|
Суперфлоу 23СГ-100/12,5/80-Р-Л(П) |
100 |
1:12,5 |
1:10 |
80 |
|
Суперфлоу 23СГ-100/10/80-Р-Л(П) |
100 |
1:10 |
1:5 |
80 |
|
Суперфлоу 23СГ-250/25/80-Р-Л(П) |
250 |
1:25 |
1:20 |
80 |
|
Суперфлоу 23СГ-250/20/80-Р-л(п) |
250 |
1:20 |
1:10 |
80 |
|
Суперфлоу 23СГ-400/25/100-Р-Л(П) |
400 |
1:25 |
1:20 |
100 |
|
Суперфлоу 23СГ-400/20/100-Р-л(п) |
400 |
1:20 |
1:10 |
100 |
|
Суперфлоу 23СГ-650/25/100-Р-Л(П) |
650 |
1:25 |
1:20 |
100 |
|
Суперфлоу 23СГ-650/20/100-Р-л(п) |
650 |
1:20 |
1:10 |
100 |
|
Суперфлоу 23СГ-800/30/150-Р-л(п) |
800 |
1:30 |
1:20 |
150 |
|
Суперфлоу 23СГ-800/20/150-Р-Л(П) |
800 |
1:20 |
1:10 |
150 |
|
Суперфлоу 23СГ-1000/30/150-Р-Л(П) |
1000 |
1:30 |
1:20 |
150 |
|
Суперфлоу 23СГ-1000/20/150-Р-Л(П) |
1000 |
1:20 |
1:10 |
150 |
|
Суперфлоу 23СГ-1600/30/200-Р-л(п) |
1600 |
1:30 |
1:20 |
200 |
|
Суперфлоу 23СГ-1600/20/200-Р-Л(П) |
1600 |
1:20 |
1:10 |
200 |
|
Суперфлоу 23СГ-2500/30/200-Р-л(п) |
2500 |
1:30 |
1:20 |
200 |
|
Суперфлоу 23СГ-2500/20/200-Р-л(п) |
2500 |
1:20 |
1:10 |
200 |
|
Суперфлоу 23СГ-4000/30/20-Р-Л(П) |
4000 |
1:30 |
1:20 |
200 |
|
Суперфлоу 23СГ-4000/20/200-Р-Л(П) |
4000 |
1:20 |
1:10 |
200 |
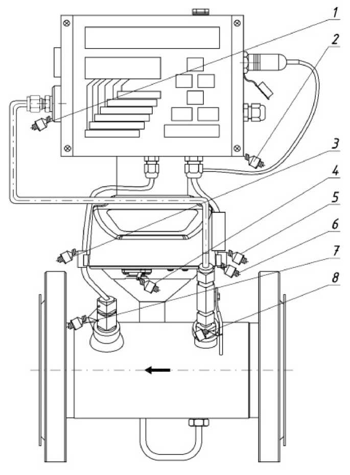
Заводской номер в виде цифрового кода наносится на маркировочную табличку корректора методом лазерной гравировки, устанавливаемую на соединительном кронштейне в соответствии с рисунком 1.
Общий вид комплексов представлен на рисунках 1 и 2. Общий вид комплексов может отличаться от представленных на рисунках 1 и 2 в зависимости от модификации комплекса и направления потока. На рисунке 3 приведена схема пломбировки от несанкционированного доступа и места нанесения знака поверки.
Рисунок 1 - Общий вид комплексов измерительных Суперфлоу 23СГ с указанием мест нанесения знака утверждения типа и заводского номера
Рисунок 2 - Общий вид комплексов измерительных Суперфлоу 23СГ
Схема пломбировки для защиты от несанкционированного доступа к элементам конструкции комплексов, обозначение мест нанесения пломб изготовителя представлены на рисунке 3 (1, 2, 7, 8 - пломбы с указанием квартала изготовления; 3, 4, 5, 6 - пломбы завода изготовителя счетчиков газа). Приведенная схема пломбировки применима ко всем исполнениям комплексов в рамках мест установки пломб.
Рисунок 3 - Схема пломбирования комплексов измерительных Суперфлоу 23СГ
Таблица 5 - Комплектность
|
Наименование |
Обозначение |
Количество, шт. |
|
Комплекс измерительный Суперфлоу 23СГ |
СНАГ.407221.001 |
1 |
|
Комплекс измерительный Суперфлоу 23СГ. Паспорт |
СНАГ.407221.001 ПС |
1 |
|
Корректор объема газа Суперфлоу 23. Руководство по эксплуатации |
СНАГ.407229.001 РЭ |
1 |
|
Корректор объема газа Суперфлоу 23. Паспорт. |
СНАГ.407229.001 ПС |
1 |
|
Счетчик газа СГ16МТ-Р. Руководство по эксплуатации |
ЛГФИ.407221.046 РЭ |
1 |
|
Счетчик газа СГ16МТ-Р. Паспорт |
ЛГФИ.407221.046 ПС |
1 |
Таблица 3 -
комплексов
|
Наименование |
Значение |
|
1 |
2 |
|
Пределы допускаемой основной относительной погрешности измерений объёма газа, приведенного к стандартным условиям, %: в диапазоне расходов от Qmax до Qt в диапазоне расходов менее Qt до Qmin |
±1,2 ±2,1 |
|
Пределы допускаемой относительной погрешности измерений объёма газа, приведенного к стандартным условиям, в рабочем диапазоне температуры окружающего воздуха,%: в диапазоне расходов от Qmax до Qt в диапазоне расходов менее Qt до Qmin |
±1,5 ±2,3 |
|
Пределы допускаемой относительной погрешности измерений объёма газа при рабочих условиях в рабочем диапазоне температуры окружающего воздуха,%: в диапазоне расходов от Qmax до Qt в диапазоне расходов менее Qt до Qmin |
±1,0 ±2,0 |
|
Пределы допускаемой относительной погрешности вычислений объема газа при стандартных условиях, обусловленные программной реализацией алгоритмов, % |
±0,01 |
|
Верхний предел измерений (ВПИ) абсолютного давления, МПа |
от 0,2 до 1,7 |
|
Рабочий диапазон измерений абсолютного давления, % ВПИ |
от 30 до 100 |
|
Пределы допускаемой основной относительной погрешности измерений абсолютного давления, % |
±0,45 |
|
Пределы допускаемой относительной погрешности измерений абсолютного давления в рабочем диапазоне температуры окружающего воздуха, % |
±0,9 |
|
Диапазон измерений термодинамической температуры, К (°C) |
от 243 до 343 (от -30 до +70) |
Продолжение таблицы 3
|
1 |
2 |
|
Пределы допускаемой относительной погрешности измерений термодинамической температуры в рабочем диапазоне температуры окружающего воздуха, % |
±0,1 |
|
Порог чувствительности, не более: для комплекса Суперфлоу 23СГ-65/10/50 |
3,3 м3/ч |
|
для остальных комплексов |
0,02Qmax |
|
Потеря давления на счетчике СГ16МТ-Р при максимальном |
1800 Па |
|
расходе, не более |
(180 мм вод.ст). |
Таблица 4 - Основные технические характеристики
|
Наименование характеристики |
Значение |
|
Маркировка взрывозащиты
|
Ex ib IIA T3 Gb Ex ib IIB T4 X |
|
Нормальные условия эксплуатации:
- атмосферное давление, кПа |
от +18 до +28 до 95 от 84 до 106,7 |
|
Рабочие условия эксплуатации:
- атмосферное давление, кПа |
от -30 до +50 до 95 от 84 до 106,7 |

