Номер по Госреестру СИ: 91259-24
91259-24 Резервуар стальной горизонтальный цилиндрический
(РГС-16)
Назначение средства измерений:
Резервуар стальной горизонтальный цилиндрический РГС-16 (далее - резервуар) предназначен для измерения объёма нефтепродуктов при приёме, хранении и отпуске.

Внешний вид.
Резервуар стальной горизонтальный цилиндрический
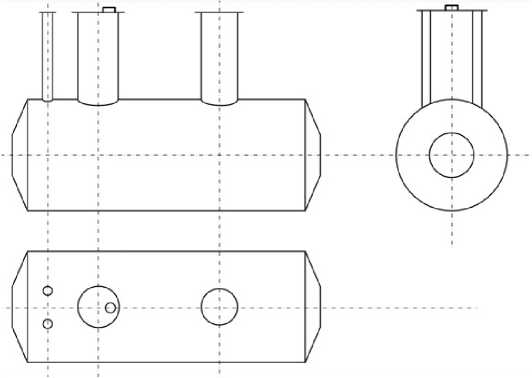
Рисунок № 1

Внешний вид.
Резервуар стальной горизонтальный цилиндрический
Рисунок № 2
Знак утверждения типа
Знак утверждения типананосится на титульный лист паспорта типографским способом.
Сведения о методиках измерений
Сведения о методиках (методах) измерений приведены в п.7.5 паспорта.Нормативные и технические документы
Нормативные документы, устанавливающие требования к средству измеренийПриказ Федерального агентства по техническому регулированию и метрологии от 26 сентября 2022 г. № 2356 «Об утверждении Государственной поверочной схемы для средств измерений массы и объёма жидкости в потоке, объёма жидкости и вместимости при статических измерениях, массового и объёмного расходов жидкости».
Правообладатель
Акционерное общество «Транснефть - Урал» (АО «Транснефть - Урал»)
ИНН 0278039018
Юридический адрес: 450008, Республика Башкортостан, г. Уфа, ул. Крупской, д. 10
Испытательный центр
Акционерное общество «Транснефть - Метрология» (АО «Транснефть - Метрология») ИНН 7723107453Адрес: 123112, г. Москва, Пресненская наб., д. 4, стр. 2
Телефон: +7 (495) 950-87-00
E-mail: cmo@cmo.transneft.ru
Правообладатель
Акционерное общество «Транснефть - Урал» (АО «Транснефть - Урал»)
ИНН 0278039018
Юридический адрес: 450008, Республика Башкортостан, г. Уфа, ул. Крупской, д. 10
Принцип действия резервуара основан на заполнении его продуктом до определённого уровня, соответствующего объёму согласно градуировочной таблицы.
Резервуар представляет собой стальную горизонтальную односекционную конструкцию цилиндрической формы с усеченно - конической формой днища, подземного расположения, номинальной вместимостью 16 м3.
Резервуар с заводским № 8 расположен на территории НПС «Субханкулово-ПП» Туймазинского НУ АО «Транснефть - Урал».
Заводской номер нанесен на маркировочную табличку типографским способом в виде цифрового кода.
Пломбирование резервуара не предусмотрено.
Нанесение знака поверки на средство измерений не предусмотрено
Фотография таблички, горловины и крышки замерного люка резервуара представлена на рисунке 1. Эскиз резервуара представлен на рисунке 2.
Рисунок 1 - Фотография таблички, горловины и крышки замерного люка резервуара
Таблица 1 - Метрологические характеристики
|
Наименование характеристики |
Значение |
|
Номинальная вместимость, м3 |
16 |
|
Пределы допускаемой относительной погрешности определения вместимости резервуара (объемный метод), % |
±0,25 |
Таблица 2 - Основные технические характеристики
|
Наименование характеристики |
Значение |
|
Условия эксплуатации:
|
от -50 до +50 от 84,0 до 106,7 |
|
Средний срок службы, лет, не менее |
50 |

