№2477 от 17.11.2025
Приказ Федерального агентства по техническому регулированию и метрологии (Росстандарт)
# 730956
ПРИКАЗ О внесении изменений в сведения об утвержденных типах СИ (1)
Приказы по основной деятельности по агентству Вн. Приказ № 2477 от 17.11.2025

МИНИСТЕРСТВО ПРОМЫШЛЕННОСТИ И ТОРГОВЛИ РОССИЙСКОЙ ФЕДЕРАЦИИ
ФЕДЕРАЛЬНОЕ АГЕНТСТВО ПО ТЕХНИЧЕСКОМУ РЕГУЛИРОВАНИЮ И МЕТРОЛОГИИ (Росстандарт)
ПРИКАЗ
17 ноября 2025 г. , 2477
Москва
О внесении изменений в сведения об утвержденном типе средства измерений
В соответствии с Административным регламентом по предоставлению Федеральным агентством по техническому регулированию и метрологии государственной услуги по утверждению типа стандартных образцов или типа средств измерений, утвержденным приказом Федерального агентства по техническому регулированию и метрологии от 12 ноября 2018 г. № 2346, п р и к а з ы в а ю:
-
1. Внести изменения в сведения об утвержденном типе средства измерений в части конструктивных изменений, влияющих на его метрологические характеристики, согласно приложению к настоящему приказу.
-
2. Утвердить измененное описание типа средства измерений, прилагаемое к настоящему приказу.
-
3. ФБУ «НИЦ ПМ - Ростест» внести сведения об утвержденном типе средства измерений согласно приложению к настоящему приказу в Федеральный информационный фонд по обеспечению единства измерений в соответствии с Порядком создания и ведения Федерального информационного фонда по обеспечению единства измерений, передачи сведений в него и внесения изменений в данные сведения, предоставления содержащихся в нем документов и сведений, утвержденным приказом Министерства промышленности и торговли Российской Федерации от 28 августа 2020 г. № 2906.
-
4. Контроль за исполнением настоящего приказа оставляю за собой.
Заместитель
/ \ Подлинник электронного документа, подписанного ЭП, хранится в системе электронного документооборота Федерального агентства по техническому
регулированию и метрологии
СВЕДЕНИЯ О СЕРТИФИКАТЕ ЭП
Е.Р. Лазаренко
Сертификат: 7B1801563EA497F787EAF40A918A8D6F
Кому выдан: Лазаренко Евгений Русланович
Действителен: с 19.05.2025 до 12.08.2026
\__________________/
ПРИЛОЖЕНИЕ
к приказу Федерального агентства
по техническому регулированию
I? иметрологии
от « » 2025 г. №
Сведения
об утвержденном типе средства измерений, подлежащие изменению
в части конструктивных изменений, влияющих на метрологические характеристики средства измерений
|
№ п/п |
Наименование типа |
Обозначение типа |
Заводской номер |
Регистрационный номер в ФИФ |
Правообладатель |
Отменяемая методика поверки |
Действие методики поверки сохраняется |
Устанавливаемая методика поверки |
Добавляемы й изготовитель |
Дата утверж дения акта испыта ний |
Заявитель |
Юридическо е лицо, проводившее испытания |
|
1 |
2 |
3 |
4 |
5 |
6 |
7 |
8 |
9 |
10 |
11 |
12 |
13 |
|
1. |
Расходомеры -счетчики газа ультразвуковые |
Turbo Flow UFG |
модификац ия Turbo Flow UFG-F исполнение C1TP зав. № 190328; модификац ия Turbo Flow UFG-Z исполнение C1TP зав. № 190563; модификац ия Turbo Flow UFG- H исполнение C1TP зав. № 190561 |
56432-14 |
МП 208-0552017; МП 208055-2017 с изменением №1; МП 208026-2023 |
МП 208-1122024 для вновь изготавливаем ых средств измерений в дополнение к МП 208-0552017; МП 208055-2017 с изменением №1; МП 208026-2023 |
16.07. 2025 |
Общество с ограниченно й ответственно стью НПО «Турбулентн ость-ДОН» (ООО НПО «Турбулентн ость-ДОН»), г. Москва, |
ФБУ «НИЦ ПМ - Ростест», г. Москва |
УТВЕРЖДЕНО приказом Федерального агентства по техническому регулированию и метрологии от «____» _________ 2025 г. № 2477
Лист № 1 Регистрационный № 56432-14 Всего листов 20
ОПИСАНИЕ ТИПА СРЕДСТВА ИЗМЕРЕНИЙ
Расходомеры - счетчики газа ультразвуковые Turbo Flow UFG Назначение средства измеренийРасходомеры - счетчики газа ультразвуковые Turbo Flow UFG (далее - расходомеры) предназначены для измерений объемного расхода и объема газа при рабочих условиях, в том числе природного газа по ГОСТ 5542-22 и вычислений объемного расхода и объема газа, приведенного к стандартным условиям в соответствии с ГОСТ 2939-63, а также для вычислений массового расхода и массы газов, в том числе природного и свободного нефтяного газа, сжигаемого на факелах.
Описание средства измеренийПринцип работы расходомеров основан на методе измерений разности между временем прохождения ультразвуковых импульсов по потоку и против потока газа. Измеренная разность времени пропорциональна скорости потока и объемному расходу газа. По измеренным значениям объемного расхода и объема при рабочих условиях, давления, температуры и плотности газа по стандартизованным алгоритмам вычисляют объемный расход и объем газа, приведенный к стандартным условиям, а также массовый расход и массу газа. Информация о плотности при стандартных условиях, составе и давлении измеряемой среды может быть задана в виде условно-постоянных параметров.
В зависимости от исполнения в состав расходомеров могут входить:
-
- преобразователь расхода ультразвуковой (далее - УПР) в корпусном или бескорпусном исполнении с установленными ультразвуковыми приемо-передатчиками;
-
- выносной или встроенный преобразователь температуры;
-
- выносной или встроенный преобразователь давления;
-
- преобразователь плотности газа Turbo Flow UDM (регистрационный номер 86699-22);
-
- электронный блок (далее - ЭБ), который осуществляет прием - передачу сигналов от ультразвуковых приемо-передатчиков, преобразователей давления, температуры, плотности, их преобразование, обработку и вычисление объемного и массового расхода газа, расчетного значения плотности, с последующим формированием цифровых выходных сигналов. ЭБ устанавливается на УПР или удаленно;
-
- вычислитель расхода (далее - ВР), который обрабатывает входные сигналы и вычисляет объем, объемный расход и объем газа, приведенный к стандартным условиям, а также массовый расход и массу газа, или корректор объема газа Суперфлоу 23 (регистрационный номер 89873-23). ВР может быть встроен в ЭБ или вынесен в расходомерный шкаф (далее - РШ).
Расходомеры изготавливаются по заказу в любой цветовой гамме.
В расходомерах возможно частичное или полное дублирование ультразвуковых приемо-передатчиков, ЭБ с ВР, преобразователей давления, преобразователей температуры.
Для возможности дистанционного считывания информации расходомер может быть укомплектован выносным терминалом (далее - ВТ или ВТ(М), либо РШ с промышленным компьютером (далее -РШ с ПК).
Расходомеры имеют модификации Turbo Flow UFG-Н, Turbo Flow UFG-F и Turbo Flow UFG-Z, которые отличаются конструкцией УПР, вариантами размещения ультразвуковых приемо-передатчиков на измерительном трубопроводе, диапазоном измерений объемного расхода газа, общепромышленным или взрывозащищенным исполнением. Расходомеры Turbo Flow UFG-Н опционально могут быть оснащены встроенным запорным клапаном. Расходомеры модификации Turbo Flow UFG-Z имеют одностороннее, двухстороннее и лубрикаторное исполнения, которые отличаются способом монтажа на измерительный трубопровод.
Расходомеры выпускаются в исполнениях С0, С1Т, С1ТР, С1ТР/2, С2ТР, С4, С5ТР, которые отличаются составом и выполняемыми функциями, указанными в таблице 1.
Расходомеры имеют исполнения А, Б, В, Г, Г1, Д, которые отличаются значениями допускаемой относительной погрешности, количеством пар приемопередатчиков и вариантом размещения на измерительном трубопроводе. При необходимости сокращения длин прямолинейных участков до и после расходомера для исполнений В, Г, Д в комплект поставки могут входить прямолинейные участки не менее 2DN до расходомера и не менее 1DN после расходомера с установленным в прямолинейный участок до расходомера или в корпус УПР устройством формирования потока УФП С1, изготовленные ООО НПО «Турбулентность-ДОН». В расходомерах модификации Turbo Flow UFG-H прямолинейные участки с устройством формирования потока могут быть интегрированы непосредственно в корпус расходомера, обеспечивая выполнение измерений с установленными метрологическими характеристиками без использования прямолинейных участков до и после расходомера.
В зависимости от диапазонов температуры окружающей и измеряемой среды расходомеры имеют исполнения М, М1, М2, М3, Х, К и Л.
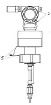
Знак утверждения типа наносится на маркировочную табличку, закрепленную на корпусе ЭБ и РШ (при наличии) методом аппликации или лазерной гравировки. Заводской номер, состоящий из шести арабских цифр, наносится на маркировочную табличку, закрепленную на корпусе ЭБ. Для расходомеров с частичным дублированием после заводского номера дополнительно указывается порядковый номер /1 или /2. При полном дублировании указываются два уникальных заводских номера. Формат и место нанесения заводского номера и знака утверждения типа представлены на рисунках 27 и 28.
Направления потока газа указаны на корпусе УПР для расходомеров модификаций Turbo Flow UFG-H и Turbo Flow UFG-F или на прямолинейном участке изготовителя для расходомеров модификации Turbo Flow UFG-Z.
Ограничение доступа к местам настройки (регулировки), расположенным в ЭБ, осуществляется путем нанесения свинцовых или мастичных пломб с изображением знака поверки на винтах крепления ЭБ к УПР. Схема пломбировки от несанкционированного доступа, обозначение мест нанесения знаков поверки представлены на рисунках 18 - 26.
Таблица - Исполнения расходомеров в зависимости от состава и выполняемых функций
|
Испол нение |
УПР, ЭБ |
Преобразователи |
ВР встроен в ЭБ |
ВР вынесен в РШ |
Корректор объема газа Суперфлоу 23 |
Преобразователь плотности UDM | |
|
Температуры |
Давления | ||||||
|
С0 |
+ |
- |
- |
- |
- |
- |
- |
|
С1Т |
+ |
+ |
- |
+ |
- |
- |
- |
|
C1TP |
+ |
+ |
+ |
+ |
- |
- |
- |
|
C1TP/2 |
+ |
+ |
+ |
+ |
- |
- |
- |
|
C2TP |
+ |
+ |
+ |
- |
+ |
- |
- |
|
C4 |
+ |
- |
- |
- |
- |
+ |
- |
|
C5TP |
+ |
+ |
+ |
+ |
- |
- |
+ |
|
Примечание: «+» - входит в состав расходомера, «-» - не входит в состав расходомера В модификациях Turbo Flow UFG-H и Turbo Flow UFG-Z применяются только исполнения С0, С1Т, С1ТР. | |||||||
В расходомерах предусмотрены:
- возможность замены попарно согласованных ультразвуковых приемопередатчиков, под рабочим давлением без остановки потока газа;
- автоматическая самодиагностика и проверка нулевых и контрольных значений измеряемых величин;
- возможность измерений расхода газа в прямом и в обратном направлении (реверсивный режим);
- выбор метода приведения объема (объемного расхода) газа к стандартным условиям:
«PT - пересчет» для исполнения С1Т по измеренным значениям объема (объемного расхода) при рабочих условиях, температуры и условно-постоянным данным по давлению и составу газа;
«PTZ - пересчет» для исполнений C1TP, C1TP/2, C2TP, С4, С5ТР по измеренным значениям объема (объемного расхода) при рабочих условиях, температуры и давления газа и условно-постоянным данным по составу газа;
«р - пересчет» для исполнений C1TP, C1TP/2, C2TP, С5ТР по измеренным значениям объема (объемного расхода) при рабочих условиях, плотности при рабочих и стандартных условиях;
-
- для исполнений C1TP, C1TP/2, C2TP возможность подключения преобразователей плотности;
-
- для исполнений C1TP, C1TP/2, C2TP по заказу доступна функция индикации рассчитанной плотности измеряемой среды в рабочих и стандартных условиях.
В зависимости от исполнения, расходомеры могут обеспечивать выполнение следующих функций:
-
- архивирование в энергонезависимой памяти и вывод на показывающее устройство результатов измерений и вычислений объема, расхода, температуры, давления, плотности, архивов событий и параметров функционирования;
-
- введение и регистрацию значений условно-постоянных величин;
-
- защиту от несанкционированного доступа к параметризации и архивам;
-
- передачу измеренных данных, параметров настройки и архивной информации;
-
- разделение и ограничение напряжения и тока в искробезопасных цепях;
-
- диагностическую функцию расчета плотности.
Расходомеры обеспечивают индикацию следующих параметров:
-
- отношение коэффициентов сжимаемости при рабочих и стандартных условиях1;
-
- текущего значения объемного расхода газа;
-
- текущего значения объемного расхода газа, приведенного к стандартным условиям2;
-
- текущего значения температуры измеряемой среды1;
-
- текущего значения давления измеряемой среды***;
-
- текущего значения скорости потока измеряемой среды;
-
- текущего значения скорости звука;
-
- текущего значения накопленного объема газа, приведенного к стандартным условиям2;
-
- текущего значения массового расхода газа2;
-
- текущего значения плотности газа***;
- текущего значения плотности газа при стандартных условиях1 2 3;
- текущих параметров даты и времени;
- суммарного накопленного рабочего объема, массы и объема газа, приведенного к стандартным условиям3;
- параметров функционирования расходомера.
Внешнее технологическое ПО «АРМ «UFG View» обеспечивает выполнение следующих функций:
- диагностическую функцию расчета плотности с помощью внешнего технологического ПО «АРМ «UFG View»;
- самодиагностика работы расходомера;
- определение загрязненности ультразвуковых датчиков;
- определение параметров состояния потока (завихрение, асимметрия)
-
- визуализация скоростей потока - построение эпюры скоростей;
-
- выгрузка архивных и диагностических данных, событий, внештатных ситуаций в виде отчета;
-
- встроенные инструменты для калибровки, поверки и настройки работы расходомера;
-
- подключение ПО к расходомеру с помощью проводного интерфейса - RS-485, беспроводного, GSM, Bluetooth.
Общий вид расходомеров представлен на рисунках 1 - 17.



Рисунок 1 - Рисунок 2 -
УПР в корпусе круглого сечения с УПР в корпусе прямоугольного сечения с совмещенными раздельными защитными защитными крышками
крышками
Рисунок 3 -
УПР в корпусе круглого сечения с защитным кожухом
Рисунок 4 -
Расходомерный шкаф с промышленным компьютером
Расходомерный шкаф
Рисунок 6 -
Выносной терминал (ВТ)
Рисунок 7 -
Выносной терминал в металлическом корпусе (ВТМ)
Расходомеры модификации Turbo Flow UFG-H с накидными гайками
Рисунок 9 -
Расходомеры модификации Turbo Flow UFG-H с фланцевым соединением
Рисунок 10 -
Расходомеры модификации Turbo Flow UFG-H с накидными гайками и комплектом монтажных частей для фланцевого соединения
Рисунок 11 - Расходомеры модификации Turbo Flow UFG-H с выходами под антенну
Рисунок 12 -
Расходомеры модификации Turbo Flow UFG-Z с креплением гайкой
Рисунок 13 -
Расходомеры модификации Turbo Flow UFG-Z с креплением фланцем
Рисунок 14 - Расходомеры модификации
Turbo Flow UFG-Z
с ЭБ установленным отдельно от корпуса
Рисунок 15 - Расходомеры модификации
Turbo Flow UFG-Z
с ЭБ установленным на УПР
Рисунок 16 - Расходомеры модификации Turbo Flow UFG-Z с ЭБ установленным на УПР
Рисунок 17 - Расходомеры модификации
Turbo Flow UFG-Z
лубрикаторного исполнения
Вид сверху Вид сбоку
Рисунок 18 - Корпус круглого сечения с раздельными защитными крышками
Вид сверху
Рисунок 19 - Корпус прямоугольного сечения с совмещенными защитными крышками
\о •-)
Вид сбоку

Вид сверху

Вид сбоку
Рисунок 20 - Корпус круглого сечения с защитным кожухом
Рисунок 21 - Расходомерный шкаф
О
Рисунок 22 - Расходомеры модификации
Turbo Flow UFG-H

Рисунок 24 - Выносной терминал в металлическом корпусе (ВТМ)
Рисунок 25 - Расходомеры модификации
Turbo Flow UFG-Z
4
Рисунок 26 - Электронный блок
-
1 - пломба свинцовая для нанесения знака поверки;
-
2 - пломба свинцовая предприятия-изготовителя;
-
3 - места для нанесения знака поверки способом давления на специальную мастику;
-
4 - пломбы предприятия-изготовителя способом давления на специальную мастику;
-
5 - отверстия для пломбирования газоснабжающими организациями;
-
6 - пломба свинцовая предприятия изготовителя, поставщика газа или организации, уполномоченной изготовителем, предотвращающая вскрытие кожуха и доступ к батарее питания.
Место нанесения заводского номера
Диаметр номинальный
Место нанесения знака утверждения типа
U/T ■ Максимальное избыточное <4 О мп л
У рабочее давление „1.0 МПа •_
Предел(ы) допускаемой л /4 о/ |
относительной погрешности: —
^190040 Изготовлен 10 .18 tnlfe
Рисунок 27 - Маркировочная табличка расходомеров модификаций
Turbo Flow UFG-F и Turbo Flow UFG-Z
1 Г\ ТУРБУЛЕНТНОСТЬ UUdohl---------—
Turbo Flow UFG-H
РАСХОДОМЕР-СЧЕТЧИН ГАЗА УЛЬТРАЗВУКОВОЙ
11.20Э4Г
IP65
Зав № 39002
0™=0,06м7ч =400 кПа
0_=150м7ч -3O6C<t._IC <+70°C
\ ГРСИ №56432-14 Q„X-O.O12 м7ч -30°C < t.,. ч < +70°C
\
Рисунок 28 - Маркировочная табличка расходомеров модификации
Turbo Flow UFG-H
Программное обеспечение (далее - ПО) расходомеров по аппаратному обеспечению является встроенным. Преобразование измеряемых величин и обработка измерительных данных выполняется с использованием внутренних аппаратных и программных средств. ПО хранится в энергонезависимой памяти. Программная среда постоянна, отсутствуют средства и пользовательская оболочка для программирования или изменения ПО.
Метрологические характеристики расходомеров нормированы с учетом влияния программного обеспечения.
Программное обеспечение разделено на:
- метрологически значимую часть;
- метрологически незначимую часть.
Разделение программного обеспечения выполнено внутри кода ПО на уровне языка программирования. К метрологически значимой части ПО относятся:
- программные модули, принимающие участие в обработке (расчетах) результатов измерений или влияющие на них;
- программные модули, осуществляющие отображение измерительной информации, ее хранение, передачу, идентификацию, защиту ПО и данных;
- параметры, участвующие в вычислениях и влияющие на результат измерений;
- компоненты защищенного интерфейса для обмена данными с внешними устройствами.
Примененные специальные средства защиты в достаточной мере исключают возможность несанкционированной модификации, обновления (загрузки), удаления и иных преднамеренных изменений метрологически значимой части ПО и измеренных (вычисленных) данных.
Уровень защиты программного обеспечения расходомеров от преднамеренных и непреднамеренных изменений - «средний» в соответствии с Р 50.2.077-2014.
Таблица 2 - Идентификационные данные программного обеспечения
|
Идентификационные данные (признаки) |
Значение | |
|
Turbo Flow UFG-Н |
Turbo Flow UFG-F, Turbo Flow UFG-Z | |
|
Идентификационное наименование ПО |
UFG.H |
UFG.F/Z |
|
Номер версии (идентификационный номер) ПО |
не ниже 2.00 |
не ниже 5.00 |
|
Цифровой идентификатор ПО |
0x26423682 |
0х978А00А1 |
|
Алгоритм вычисления цифрового идентификатора программного обеспечения |
CRC-32 |
CRC-32 |
Таблица 3 - Метрологические характеристики
|
Наименование характеристики |
Значение | ||||||
|
UFG-H |
UFG-F |
UFG-Z | |||||
|
Диапазон измерений объемного расхода газа в рабочих условиях, м3/ч |
от 0,016 до 1600 |
от 0,025 до 32000 |
от 300 до 150000 |
односторонняя врезка от 5,3 до 665000 двухсторонняя врезка от 1,41 до 665000 | |||
|
Скорость потока газа в обоих направлениях, м/с, не более |
60 |
45 |
35 |
120 | |||
|
Пределы допускаемой относительной погрешности измерений объемного расхода и объема газа при рабочих условиях, для комбинаций пар приемопередатчиков в диапазоне расходов^ |
Qmin<Q<Qt |
Qt <Q <Qmax |
Qmin<Q<Qt |
Qt <Q<Qmax |
Qmin<Q <Qmax |
Qmin<Q <Qt |
Qt <Q<Qmax |
|
где Qmin - минимальный расход, м3/ч1); Q - измеряемый расход, м3/ч; Qmax - максимальный расход, м3/ч1); Qt - переходное значение измеряемого расхода10) | |||||||
|
исполнение Д - 1 пара приемопередатчиков, % |
1 Г7 Q Qmin\ у Q Qmin \ ' Qt — Qmin' ' Qt — Qmin' |
±1,5/ 1,72) |
±3,0/3,22)(3,5)3) |
±1,5/1,72) (2,0)3) |
- |
±3,0/3,2 2) 9) |
±1,5/1,72) 9) |
|
исполнение Г - 2, 44) пары приемопередатчиков, % |
±(з,2 Q-Qmin)/(3,5 Q-Qmin)^ ' Qt Qmin) Qt Qmin) |
±1,0/ 1,22) |
±2,0/2,22)(2,5)3) |
±1,0/1,22) (1,5)3) |
- |
двухсторонняя врезка | |
|
±2,0/2,2 2) 9) |
±1,0/1,22) 9) | ||||||
|
исполнение Г1 - 2 пары приемопередатчиков, % |
±(з,0 Q-Qmin)/(3,2 Q-Qmin)^ ' Qt Qmin) Qt Qmin) |
±1,0/ 1,22) |
- |
- |
- |
- |
- |
|
исполнение В - 2, 4, 6, 8 пар приемопередатчиков, % |
- |
±1,0/1,22) (1,5)3) |
- | ||||
|
исполнение Б - 4, 6, 8 пар приемопередатчиков, % |
- |
±0,5/0,72) (1,0)3) |
- | ||||
|
исполнение А - 4, 6, 8, 128),168) пар приемо-передатчиков, % |
- |
±0,5/0,72)(0,7)3) |
- | ||||
|
Пределы допускаемой относительной погрешности измерений объемного расхода и объема газа, приведенного к стандартным условиям, без учета погрешности метода расчета коэффициента сжимаемости, плотности и погрешности определения компонентного состава, при преобразовании значения расхода газа в частотный выходной сигнал5) для исполнений C1TP, C1TP/2, C2TP, С5ТР, % для исполнения М |
±2-](1)+0-08 |
±2J(^+0-01 |
±2J(^ + 0.01 | |
|
для исполнения Х |
±2J(3) + 0'02 | |||
|
где 6 - предел допускаемой относительной погрешности измерений объемного расхода и объема газа при рабочих условиях | ||||
|
Повторяемость для исполнения С1ТР/2, в диапазонах измерений согласно таблице 5, % |
- |
0,1 |
- |
- |
|
Верхний предел измерений избыточного давления (ВПИ)5), МПа |
от 0,0025 до 0,6 |
от 0,0025 до 55 |
односторонняя врезка 10 двухсторонняя врезка от 0,0025 до 32 | |
|
Верхний предел измерений абсолютного давления (ВПИ)5), МПа |
от 0,1 до 0,7 |
от 0,1 до 55 |
односторонняя врезка 10 двухсторонняя врезка от 0,1 до 32 | |
|
Пределы допускаемой относи- |
±0,5 |
±(0,1+0,01-ВПИ/Р), | ||
|
тельной погрешности измерений давления5), % |
где P - измеряемое давление | ||
|
Рабочий диапазон измерений давления5), % ВПИ |
от 25 до 100 |
от 10 до 100 | |
|
Диапазоны измерений плотности газа в рабочих условиях преобразователя плотности газа для исполнения C5TP, кг/м3 |
- |
от 0,14 до 3506) | |
|
Пределы допускаемой относительной погрешности измерений плотности газа для исполнения C5TP7), % при рабочих условиях |
±0,14; ±0,3; ±0,5; ±1,5 | ||
|
при стандартных условиях |
±(|Х|+ 0,1 %), где Х - пределы допускаемой относительной погрешности измерений плотности газа в рабочих условиях | ||
|
Пределы допускаемой приведенной к диапазону измерений погрешности расходомера при преобразовании значения расхода газа в токовый выходной сигнал от 4 до 20 мА5), % |
- |
±0,1 | |
|
Пределы допускаемой относительной погрешности расходомера при преобразовании значения расхода газа в частотный выходной сигнал5), % |
±0,1 | ||
|
Диапазон измерений температуры газа5), °С | |||
|
для исполнения М |
от -30 до +70 | ||
|
для исполнения М1 |
от -10 до +50 |
- |
- |
|
для исполнения М2 |
от -15 до +50 |
- |
- |
|
для исполнения М3 |
от -25 до +50 |
- |
- |
|
для исполнения Х |
от -50 до +70 |
от -65 до +280 | |
|
для исполнения К |
- |
от -50 до +70 |
- |
|
для исполнения Л |
- |
от -50 до +150 |
- |
|
Пределы допускаемой абсолютной погрешности измерений температуры газа5), °С |
±(0,5 + 0,005-|t|) |
±(0,15 + 0,002-|t|) | |
|
где t - измеряемая температура | |||
|
Пределы допускаемой относительной погрешности вычислителя ВР, вычислений массового расхода и массы газа, объемного расхода и объема газа, приведенного к стандартным услови-ям5), % |
±0,01 | ||
| |||
Таблица 4 - Основные технические характеристики
|
Наименование характеристики |
Значение | |||
|
UFG-H |
UFG-F |
UFG-Z | ||
|
Диаметр номинальный DN |
от 15 до 100 |
от 15 до 500 |
от 600 до 1400 |
односторонняя врезка от 100 до 1400 двухсторонняя врезка от 50 до 5000 |
|
Порог чувствительности, м3/ч1) |
0,002Qном, где Qном=100Qmin | |||
|
Цифровые проводные интерфейсы |
протокол HART, протокол MODBUS RTU по интерфейсам RS-232, RS-232 TTL и RS-485, Namur | |||
|
Цифровые беспроводные интерфейсы |
GSM, GPRS, Bluetooth, IrDA (ИК-порт), Zig Bee, M2M 433/868 МГц, NB-IOT, NB-Fi, LoRa | |||
|
Маркировка взрывозащиты |
1Ex ib IIB T4 Gb X |
1Ex db ib [ia Ga] IIC T4 Gb 1Ex db [ia Ga] IIC T4 G 1Ex db ma ib [ia Ga] IIC T4 Gb 1Ex db ma [ia Ga] IIC T4 Gb |
1Ex db ma ^а Ga] IIC Т2 Gb | |
|
Степень защиты по ГОСТ 14254-2015 |
IP65 |
IP66; IP67 | ||
|
Параметры электрического питания, В: -от встроенной батареи -от внешнего блока питания |
3,6 от 12 до 24 |
от 12 до 24 | ||
|
Потребляемая мощность, Вт, не более |
10 | |||
|
Условия эксплуатации: - температура окружающего воздуха, °С | ||||
|
для исполнения М |
от -30 до +70 |
от -50 до +80 | ||
|
для исполнения М1 |
от -10 до +50 |
- |
- | |
|
для исполнения М2 |
от -15 до +50 |
- |
- | |
|
для исполнения М3 |
от -25 до +50 |
- |
- | |
|
для исполнения Х |
от -40 до +70 |
от -50 до +80 | |||
|
для исполнения К |
- |
от -70 до +80 |
- | ||
|
для исполнения Л |
- |
от -70 до +150 |
- | ||
|
- температура измеряемой среды, °С | |||||
|
для исполнения М |
от -30 до +70 |
от -30 до +70 |
от -65 до +280 | ||
|
для исполнения М1 |
от -10 до +50 |
- |
- | ||
|
для исполнения М2 |
от -15 до +50 |
- |
- | ||
|
для исполнения М3 |
от -25 до +50 |
- |
- | ||
|
для исполнения Х |
от -50 до +70 |
от -50 до +70 |
от -65 до +280 | ||
|
для исполнения К и Л |
- |
от -196 до +280 |
- | ||
|
- избыточное давление измеряемой среды, МПа, не более |
0,7 |
32 | |||
|
- относительная влажность | |||||
|
воздуха, %, |
до 95 | ||||
|
- атмосферное давление, кПа |
от 84,0 до 106,7 | ||||
|
Масса, кг |
от 0,7 до 40,0 |
от 12 до 25000 |
302) | ||
|
Габаритные размеры, мм, не более | |||||
|
- высота |
400 |
2400 |
3503) | ||
|
- ширина |
400 |
2200 |
3503) | ||
|
- длина |
1000 |
4200 |
20003) | ||
|
1) для расходомеров с отношением расходов Qmin к Qmax более 1 |
к 150; | ||||
|
2) без учета массы корпуса расходомера модификации Turbo Flow UFG-Z; | |||||
|
3 без учета габаритных размеров корпуса расходомера. | |||||
Таблица 5 - Диапазоны измерений расхода газа и скоростей потока газа, в которых обеспечивается , повторяемость для исполнения С1ТР/2
|
Диаметр номинальный |
Расход газа в рабочих условиях, м3/ч |
Скорость потока, м/с | ||
|
минимальное значение |
максимальное значение |
минимальное значение |
максимальное значение | |
|
DN50 |
14 |
280 |
2,0 |
40 |
|
DN65 |
23 |
440 |
2,0 |
37 |
|
DN80 |
36 |
700 |
2,0 |
39 |
|
DN100 |
56 |
1100 |
2,0 |
39 |
|
DN125 |
88 |
1750 |
2,0 |
39 |
|
DN150 |
127 |
2400 |
2,0 |
38 |
|
DN200 |
192 |
4400 |
1,7 |
39 |
|
DN250 |
300 |
6900 |
1,7 |
39 |
|
DN300 |
381 |
10000 |
1,5 |
39 |
|
DN350 |
519 |
12000 |
1,5 |
35 |
|
DN400 |
678 |
16000 |
1,5 |
35 |
|
DN450 |
858 |
20000 |
1,5 |
35 |
|
DN500 |
1060 |
25000 |
1,5 |
35 |
|
DN600 |
1526 |
30000 |
1,5 |
29 |
|
DN700 |
2078 |
40000 |
1,5 |
29 |
|
DN800 |
2714 |
50000 |
1,5 |
28 |
Таблица 6 - Показатели надежности
|
Наименование характеристики |
Значение |
|
Средняя наработка на отказ, ч, не менее |
70000 |
|
Средний срок службы, лет, не иенее |
15 |
наносится на маркировочную табличку, закрепленную на корпусе ЭБ и РШ (при наличии) методом аппликации или лазерной гравировки и на титульные листы руководства по эксплуатации и паспорта печатным способом.
Комплектность средства измеренийТаблица 7 - Комплектность средства . измерений
|
Наименование |
Обозначение |
Количество |
|
Расходомер - счетчик газа ультразвуковой |
Turbo Flow UFG-H Turbo Flow UFG-F Turbo Flow UFG-Z |
1 шт. |
|
Расходомеры - счетчики газа ультразвуковые Turbo Flow UFG. Руководство по эксплуатации |
ТУАС.407252.001 РЭ |
Доступно на сайте изготовителя |
|
Расходомеры - счетчики газа ультразвуковые Turbo Flow UFG. Паспорт |
ТУАС.407252.001 ПС |
1 экз. |
|
Эксплуатационная документация на корректор объема газа Суперфлоу-23 |
1 комплект (для исполнения С4) |
|
Наименование |
Обозначение |
Количество |
|
Эксплуатационная документация на преобразователь плотности газа Turbo Flow UDM |
Доступно на сайте изготовителя https://www.turbo-don.ru (для исполнения С5ТР) | |
|
Комплект монтажных частей |
1 комплект (по заказу) | |
|
Прямолинейные участки с устройством формирования потока УФП С1 |
1 комплект (по заказу) | |
|
ПО «АРМ «UFG View» |
Доступно на сайте изготовителя https://www.turbo-don.ru |
Приказ Росстандарта от 11.05.2022 № 1133 Об утверждении государственной поверочной схемы для средств измерений объемного и массового расходов газа
ГОСТ 8.611-2024 ГСИ. Расход и количество газа. Методика (метод) измерений с помощью ультразвуковых преобразователей расхода
ГОСТ 30319.2-2015 Газ природный. Методы расчета физических свойств. Вычисление физических свойств на основе данных о плотности при стандартных условиях и содержании азота и диоксида углерода
ГОСТ 30319.3-2015 Газ природный. Методы расчета физических свойств. Вычисление физических свойств на основе данных о компонентном составе
ГОСТ Р 70927-2023 Газ природный. Методы расчета физических свойств. Вычисление коэффициента сжимаемости в области низких температур
ГСССД МР 273-2018 Методика расчетного определения плотности, фактора сжимаемости, скорости звука, показателя адиабаты, коэффициента динамической вязкости влажных газовых смесей в диапазоне температур от 263 К до 500 К при давлениях до 30 МПа
ГСССД МР 118-2005 Расчет плотности, фактора сжимаемости, показателя адиабаты и коэффициента динамической вязкости умеренно сжатых газовых смесей
ГСССД МР 229-2014 Методика расчетного определения термодинамических свойств и коэффициента динамической вязкости природного газа при температурах 250...350 К и давлениях до 30 МПа на основе ГОСТ Р 8.662-2009 и ГОСТ Р 8.770-2011
ГСССД МР 134-2007 Расчет плотности, фактора сжимаемости, показателя адиабаты и коэффициента динамической вязкости азота, ацетилена, кислорода, диоксида углерода, аммиака, аргона и водорода в диапазоне температур 200 . 425 K и давлений до 10 МПа
ГСССД МР 277 - 2019 «Методика расчётного определения плотности гелиевого концентрата в диапазонах температур от -5° С до 45° С и абсолютных давлений от 0,1 МПа до 17 МПа»
ТУ 4213-012-70670506-2013 Расходомеры - счетчики газа ультразвуковые Turbo Flow UFG. Технические условия
ИзготовительОбщество с ограниченной ответственностью НПО «Турбулентность-ДОН» (ООО НПО «Турбулентность-ДОН»)
ИНН 6141021685
Юридический адрес: 129110, г. Москва, вн. тер. г. муниципальный округ Мещанский, ул. Щепкина, д. 47, стр. 1, офис V, ком. 11
Адрес места осуществления деятельности: 346815, Ростовская обл., Мясниковский м.р-н, Краснокрымское с.п., автодорога Ростов-на-Дону - Новошахтинск тер., 1-й км, зд. 6/8
Испытательный центрФедеральное бюджетное учреждение «Научно-исследовательский центр прикладной метрологии - Ростест» (ФБУ «НИЦ ПМ - Ростест»)
Юридический адрес: 117418, г. Москва, Нахимовский проспект, д. 31
Адрес места осуществления деятельности: 119361, г. Москва, ул. Озерная, д. 46 Телефон: +7 (495) 544-00-00
Web-сайт: www.rostest.ru
E-mail: info@rostest.ru
Уникальный номер записи в реестре аккредитованных лиц № 30004-13.
Сведения о методиках (методах) измерений приведены в разделе 2 «Использование по ТУАС.407252.001 РЭ
назначению» Руководства по эксплуатации
для всех исполнений кроме С0 и C4;
для всех исполнений кроме С0, С1Т и C4;
для исполнений C1TP, C1TP/2, C2TP и C5TP.

