Номер по Госреестру СИ: 74678-19
74678-19 Шаблоны путевые электронные
("НЕВА-1")
Назначение средства измерений:
Шаблоны путевые электронные «НЕВА-1» (далее по тексту - шаблоны) предназначены для измерения геометрических параметров железнодорожного и трамвайного путей шириной колеи 1520 мм: ширины колеи относительного возвышения рельсов (уровня), ординат переводных кривых расстояний «сердечник крестовины - контррельс», расстояния «контррельс - усовик», ширины желобов, размера бокового износа головки рельса, вертикального отклонения элементов рельсовой колеи относительно поверхности катания.

Внешний вид.
Шаблоны путевые электронные
Рисунок № 1

Внешний вид.
Шаблоны путевые электронные
Рисунок № 2

Внешний вид.
Шаблоны путевые электронные
Рисунок № 3

Внешний вид.
Шаблоны путевые электронные
Рисунок № 4

Внешний вид.
Шаблоны путевые электронные
Рисунок № 5

Внешний вид.
Шаблоны путевые электронные
Рисунок № 6

Внешний вид.
Шаблоны путевые электронные
Рисунок № 7

Внешний вид.
Шаблоны путевые электронные
Рисунок № 8
Программное обеспечение
Пакет программного обеспечения шаблона «Нева-1» состоит из ПО «Шаблон Нева-1», ПО «Модуль интеграции », ПО измерительного узла ИУ «Шаблон Нева-1» и ПО каретки измерительной КИ «Шаблон Нева-1» (таблица 1)
ПО «Нева-1» выполняет функции получения, преобразования, расчета, хранения, отображения и передачи данных полученных в результате измерений.
Таблица 1 - Идентификационные данные
|
Идентификационные данные (признаки) |
Значение |
|
Идентификационное наименование |
Нева-1 |
|
Номер версии (идентификационный номер) |
3.1.4.х |
|
Цифровой идентификатор |
отсутствует |
|
Идентификационное наименование |
Модуль интеграции |
|
Номер версии (идентификационный номер) |
1.41.1 |
|
Цифровой идентификатор |
94773fd5aa070e118a9a157decb690cbfedbbe45a7e ee6ac2d9b89dd0f3e2c1a |
|
Идентификационное наименование ПО ИУ |
Шаблон Нева-1 |
|
Номер версии (идентификационный номер) |
1.2.1.1 |
|
Цифровой идентификатор |
отсутствует |
|
Идентификационные данные (признаки) |
Значение |
|
Идентификационное наименование ПО КИ |
Шаблон Нева-1 |
|
Номер версии (идентификационный номер) |
1.2.1. |
|
Цифровой идентификатор |
отсутствует |
Уровень защиты ПО «НЕВА-1» от непреднамеренных и преднамеренных изменений соответствует уровню: «Высокий » по Р 50.2.077-2014. Метрологически значимые части ПО СИ и измеренные данные достаточно защищены с помощью специальных средств защиты от преднамеренных изменений.
Знак утверждения типа
Сведения о методиках измерений
Нормативные и технические документы
Поверка
Поверкаосуществляется по документу МЛАС.401739.377 МП «Шаблоны путевые электронные «НЕВА-1». Методика поверки», утвержденному ФБУ «Тест-С.-Петербург» 07.12.2018 г.
Основные средства поверки:
-
- стенд для контроля путевых шаблонов модели 31000, ПГ ±(0,1...0,3) мм (регистрационный №24342-03);
-
- меры длины концевые плоскопараллельные КТ 2, (регистрационный № 38376-13).
-
- штангенциркуль ШЦК-1-150-0,02 (регистрационный № 32108-14).
Допускается применение аналогичных средств поверки, обеспечивающих определение метрологических характеристик поверяемых средств измерений с требуемой точностью.
Знак поверки наносится на свидетельство о поверке в виде наклейки.
Изготовитель
Общество с ограниченной ответственностью «Мобильные СистемыДиагностики Холдинг» (ООО «МСД Холдинг»).
ИНН 7813364688
Адрес: 197348, г. Санкт-Петербург, Коломяжский пр. д. 10, лит Е, пом. 34
Телефон: +7 (812) 646-75-21 (22)
E-mail: info@msd-spb.ru
Испытательный центр
Федеральное бюджетное учреждение «Государственный региональный центр стандартизации, метрологии и испытаний в г. Санкт-Петербурге и Ленинградской области» (ФБУ «Тест-С.-Петербург»)
Адрес: 190103, г. Санкт-Петербург, ул. Курляндская, д. 1
Телефон: +7 (812) 244-62-28, +7 (812) 244-12-75
Факс: +7 (812) 244-10-04
E-mail: letter@rustest.spb.ru
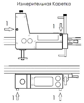
Шаблоны путевые электронные «НЕВА-1» состоят из блока измерения параметров пути (БИПП) и мобильного рабочего места (МРМ).
БИПП изготовлен на базе алюминиевого конструкционного профиля 30х30 мм, состоит из подвижного и неподвижного упоров, рукоятки с рычагом, концевого датчика (в зависимости от модификации). На профиль устанавливается измерительный узел, содержащий измерительные датчики, кнопки управления и индикатор (ИУ), электронная каретка измерительная (КИ) (с фиксатором или без), либо механическая (в зависимости от модификации) и дополнительные опоры (в зависимости от модификации). Измерительный узел может быть представлен в корпусах 2-х видов, отличающихся формой и габаритными размерами.
Принцип действия основан на преобразовании перемещения измерительных датчиков в сигнал, передаваемый на показывающее устройство ИУ, КИ или МРМ. В качестве МРМ использован смартфон с ОС Android. 5.1 и выше.
Шаблоны путевые электронные «НЕВА-1» имеют пять модификаций, отличающихся набором измеряемых параметров.
Измерительные возможности модификаций шаблона представлены в таблице 2.
Шаблон путевой электронный модификации «НЕВА-1» имеет механическую измерительную каретку, модификации «НЕВА-1С» - электронную КИ. Модификации «НЕВА-1П». «НЕВА-1Т» и «НЕВА-1ТЖ» измерительных кареток не имеют. Шаблон путевой электронный модификации «НЕВА-1Т» предназначен для проведения измерений на трамвайном пути на желобчатых рельсах, модификации «НЕВА-1ТЖ» на трамвайном пути на рельсах железнодорожного типа.
Общий вид шаблонов приведен на рисунках 1-3.
Рисунок 1 - Шаблон путевой электронный «НЕВА-1»

а)

а)
б)
Рисунок 3 - Шаблон путевой электронный «НЕВА-1П», «НЕВА-1Т», «НЕВА-1ТЖ»
Места пломбировки от несанкционированного доступа и нанесения знака утверждения типа представлены на рисунке 4.
б)
а)
в)
Рисунок 4 - Места пломбировки от несанкционированного доступа (1) и нанесения знака утверждения типа (2)
г)
Таблица 2 - Метрологические характеристики
|
Измеряемый параметр |
Диапазон измерений |
Пределы допускаемой абсолютной погрешности, мм |
Измерение доступно для модификаций | ||||
|
«НЕВА- 1» |
«НЕВА- 1 П» |
«НЕВА- 1 С » |
«НЕВА- 1 Т » |
«НЕВА- 1 ТЖ» | |||
|
Ширина колеи, мм |
от 1505 до 1560 включ. |
±1 |
да |
да |
да |
да |
да |
|
Относительное возвышение рельсов (уровень), мм |
от -160 до +160 включ. |
да |
да |
да |
да |
да | |
|
Ордината переводных кривых, мм |
от 100 до 1500 включ. |
да |
нет |
да |
нет |
нет | |
|
Расстояние «сердечник крестовины -контррельс», мм |
от 1460 до 1500 включ. |
да |
да |
да |
нет |
нет | |
|
Расстояние «контррельс - усовик», мм |
от 1420 до 1460 включ. |
да |
да |
да |
нет |
нет | |
|
Ширина желобов, мм |
от 40 до 100 включ. |
да |
да |
да |
нет |
нет | |
|
Размер бокового износа путевого рельса, мм |
от 0 до 20 включ. |
да |
да |
да |
да |
да | |
|
Вертикальное отклонение элементов рельсовой колеи относительно поверхности катания, мм |
от -35 до +20 включ.* |
да |
нет |
да |
нет |
нет | |
(*) Для модификации «НЕВА-1» диапазон измерений от -25 до 20 мм включительно.
Таблица 3 - Технические характеристики
|
Наименование характеристики |
«НЕВА-1» |
«НЕВА-1П» |
«НЕВА-1С» |
«НЕВА-1Т» |
«НЕВА-1ТЖ» | ||
|
Габаритные | |||||||
|
размеры, мм, не более: | |||||||
|
БИПП | |||||||
|
-длина |
1700 |
1700 |
1700 | ||||
|
-ширина |
120 |
220 |
120 | ||||
|
-высота |
250 |
250 |
250 | ||||
|
МРМ | |||||||
|
-длина |
140 | ||||||
|
-ширина |
75 | ||||||
|
-высота |
15 | ||||||
|
Масса, кг, не более: - БИПП |
4,0 |
3,2 |
4,0 |
3,2 |
3,2 | ||
|
- МРМ |
0,2 | ||||||
|
Напряжение питания (от аккумулятора), В, не менее: - БИПП |
3,6 | ||||||
|
- МРМ |
3,7 | ||||||
|
Средняя наработка на отказ, ч |
не менее |
3500 | |||||
|
Срок службы, лет, не менее |
5 | ||||||
|
Условия эксплуатации: | |||||||
|
от -40 до +50; | ||||||
|
при температуре +25 оС, % |
до 80 | ||||||

