Номер по Госреестру СИ: 86246-22
86246-22 Система измерений количества и показателей качества нефти № 407 на ЛПДС "Лопатино" КРУ АО "Транснефть - Дружба"
(Обозначение отсутствует)
Назначение средства измерений:
Система измерений количества и показателей качества нефти № 407 на ЛПДС «Лопатино» КРУ АО «Транснефть - Дружба» (далее - система) предназначена для автоматизированных измерений массы и показателей качества нефти.

Внешний вид.
Система измерений количества и показателей качества нефти № 407 на ЛПДС "Лопатино" КРУ АО "Транснефть - Дружба"
Рисунок № 1

Внешний вид.
Система измерений количества и показателей качества нефти № 407 на ЛПДС "Лопатино" КРУ АО "Транснефть - Дружба"
Рисунок № 2
Программное обеспечение
Программное обеспечение (ПО) системы (ИВК и АРМ оператора «Rate АРМ оператора УУН») обеспечивает реализацию функций системы. ПО системы разделено на метрологически значимую и метрологически незначимую части. Сведения о ПО указаны в таблице 2.
Метрологические характеристики системы указаны с учетом влияния ПО ИВК.
Таблица 2 - Идентификационные данные ПО
|
Идентификационные данные (признаки) |
Значение | ||
|
ПО «Rate АРМ оператора УУН» |
ПО OMNI 6000 (основной) |
ПО OMNI 6000 (резервный) | |
|
Идентификационное наименование ПО |
«RateCalc» |
- |
- |
|
Номер версии (идентификационный номер ПО) |
2.4.1.1 |
24.75.04 |
24.75.03 |
|
Цифровой идентификатор ПО |
F0737B4F |
- |
- |
|
Алгоритм вычисления |
CRC 32 |
- |
- |
Идентификация ПО системы осуществляется путем отображения на мониторе операторской станции управления структуры идентификационных данных.
Уровень защиты ПО системы от непреднамеренных и преднамеренных изменений соответствует среднему уровню защиты в соответствии с Р 50.2.077-2014 «ГСИ. Испытания средств измерений в целях утверждения типа. Проверка защиты программного обеспечения».
Знак утверждения типа
Знак утверждения типананосится справа в нижней части титульного листа инструкции по эксплуатации системы печатным способом.
Сведения о методиках измерений
Сведения о методиках (методах) измерений
приведены в документе «ГСИ. Масса нефти. Методика измерений системой измерений количества и показателей качества нефти № 407 на ЛПДС «Лопатино» АО «Транснефть - Дружба» (регистрационный номер ФР.1.29.2016.23634).
Нормативные и технические документы
Нормативные документы, устанавливающие требования к средству измеренийПостановление Правительства Российской Федерации от 16 ноября 2020 г. № 1847 «Об утверждении перечня измерений, относящихся к сфере государственного регулирования обеспечения единства измерений»;
Приказ Федерального агентства по техническому регулированию и метрологии от 7 февраля 2018 г. № 256 «Об утверждении Государственной поверочной схемы для средств измерений массы и объема жидкости в потоке, объема жидкости и вместимости при статических измерениях, массового и объемного расходов жидкости».
ПравообладательАкционерное общество «Транснефть - Дружба» (АО «Транснефть - Дружба»)
Адрес: 241020, Россия, Брянская обл., г. Брянск, ул. Уральская, д. 113
Телефон: +7 (4832) 74-76-52
Факс: +7 (4832) 67-62-30
E-mail: office@brn.transneft.ru
ИНН 3235002178
Изготовитель
Акционерное общество «Транснефть - Дружба» (АО «Транснефть - Дружба»)ИНН 3235002178
Адрес: 241020, Россия, Брянская обл., г. Брянск, ул. Уральская, д. 113
Телефон: +7 (4832) 74-76-52
Факс: +7 (4832) 67-62-30
E-mail: office@brn.transneft.ru
Испытательный центр
Всероссийский научно-исследовательский институт расходометрии - филиал Федерального государственного унитарного предприятия «Всероссийский научноисследовательский институт метрологии им.Д.И.Менделеева» (ВНИИР - филиал ФГУП «ВНИИМ им.Д.И.Менделеева»)Адрес местонахождения: 420088, Россия, Республика Татарстан, г. Казань, ул. 2-ая Азинская, д. 7 «а»
Юридический адрес: 190005, Россия, г. Санкт-Петербург, Московский пр., 19
Телефон: +7 (843) 272-70-62
Факс: +7 (843)272-00-32
Правообладатель
Акционерное общество «Транснефть - Дружба» (АО «Транснефть - Дружба»)Адрес: 241020, Россия, Брянская обл., г. Брянск, ул. Уральская, д. 113
Телефон: +7 (4832) 74-76-52
Факс: +7 (4832) 67-62-30
E-mail: office@brn.transneft.ru
ИНН 3235002178
Принцип действия системы основан на использовании косвенного метода динамических измерений массы брутто нефти, основанного на измерениях объема нефти с применением преобразователей расхода, плотности нефти с применением преобразователя плотности или в лаборатории, температуры и давления нефти с применением датчиков температуры и преобразователей избыточного давления соответственно. Массу брутто нефти вычисляет измерительновычислительный контроллер, как произведение объема и плотности нефти, приведенных к стандартным условиям. Массу нетто нефти вычисляет автоматизированное рабочее место (АРМ) оператора, как разность массы брутто нефти и массы балласта, используя результаты измерений массовой доли механических примесей и массовой доли хлористых солей в лаборатории, массовой доли воды, определенной в лаборатории.
Система представляет собой единичный экземпляр измерительной системы целевого назначения, спроектированной для конкретного объекта и состоящая из:
-
- блока измерительных линий (далее - БИЛ);
-
- блока измерений показателей качества нефти (далее - БИК);
-
- системы обработки информации;
-
- системы дренажа.
В вышеприведенные технологические блоки входят измерительные компоненты, по своему функционалу участвующие в измерениях массы нефти, контроле и измерениях параметров качества нефти, контроле технологических режимов работы системы. Монтаж и наладка системы осуществлены непосредственно на объекте эксплуатации в соответствии с проектной и эксплуатационной документацией на систему и ее компоненты.
Измерительные компоненты системы, участвующие в измерениях массы нефти, контроле и измерениях параметров качества нефти, приведены в таблице 1. Измерительные компоненты могут быть заменены в процессе эксплуатации на измерительные компоненты, утвержденного типа, приведенные в таблице 1. Часть измерительных компонентов системы, приведенных в таблице 4, формируют вспомогательные измерительные каналы (ИК), метрологические характеристики которых определяются комплектным методом.
Таблица 1 - Состав системы
|
Наименование измерительного компонента |
Регистрационный номер в Федеральном информационном фонде по обеспечению единства измерений |
|
Счетчики нефти турбинные «МИГ-250» (далее - ТПР) |
13981-94 |
|
Преобразователь объема жидкости лопастной Smith Meter (далее - ПР) |
12749-00 |
|
Преобразователи плотности жидкости измерительные модели 7835 (далее - ПП) |
15644-01 |
|
Преобразователи плотности и вязкости жидкости измерительные модели 7827 (далее - ПВ) |
15642-01 |
|
Влагомеры нефти поточные УДВН-1пм |
14557-05, 14557-10 |
|
Расходомер UFM 3030К |
32562-06 |
|
Преобразователи давления измерительные EJA |
14495-00 |
|
Преобразователи давления измерительные EJX |
28456-04 |
|
Преобразователи измерительные 644, 3144Р |
14683-09 |
|
Преобразователи измерительные Rosemount 644, Rosemount 3144Р |
56381-14 |
|
Термопреобразователи сопротивления платиновые серии 65 |
22257-11 |
|
Термопреобразователи сопротивления Rosemount 0065 |
53211-13 |
|
Термопреобразователи с унифицированным выходным сигналом ТСПУ 902820 |
32460-06 |
|
Термопреобразователи сопротивления серии 90 |
68302-17 |
|
Преобразователи давления измерительные 2088 |
16825-08 |
|
Преобразователи давления измерительные 3051 |
14061-10 |
|
Датчик давления Метран-150 |
32854-13 |
|
Контроллеры измерительно-вычислительные OMNI 6000 (основной и резервный) (далее - ИВК) |
15066-09 |
|
Контроллеры программируемые логические PLC Modicon (далее - ПЛК) |
18649-07, 18649-09 |
|
Преобразователи измерительные (барьер искрозащиты) серии |iZ600 (далее - барьер |iZ600) |
47073-11, 28979-05 |
В состав системы входят показывающие средства измерений давления и температуры нефти утвержденных типов, применяемые для контроля технологических режимов работы системы.
Система обеспечивает выполнение следующих основных функций:
- измерения массы брутто нефти косвенным методом динамических измерений в рабочем диапазоне объемного расхода, температуры, давления, плотности нефти;
- вычисления массы нетто нефти, как разности массы брутто нефти и массы балласта с использованием результатов определения массовой доли механических примесей, массовой доли хлористых солей и массовой доли воды в испытательной лаборатории;
- измерения давления и температуры нефти автоматические и с помощью показывающих средств измерений давления и температуры нефти соответственно;
-
- проведение поверки и контроля метрологических характеристик (далее - КМХ) ТПР и ПР с применением стационарной трубопоршневой установки;
-
- проведение КМХ рабочих ТПР по контрольно-резервному ПР, применяемому в качестве контрольного;
-
- автоматический и ручной отбор проб нефти согласно ГОСТ 2517-2012 «Нефть и нефтепродукты. Методы отбора проб»;
-
- контроль параметров измеряемого потока, их индикация и сигнализация нарушений установленных границ;
-
- защита измерительной информации от несанкционированного доступа программными средствами.
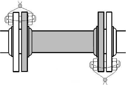
Для исключения возможности несанкционированного вмешательства, которое может повлиять на результаты измерений, на контровочных проволоках, пропущенных через отверстия шпилек, расположенных на диаметрально противоположных фланцах ТПР и ПР, устанавливают пломбы, несущие на себе знак поверки.
Заводской номер системы нанесен на маркировочную табличку, установленную на системе.
Места установки пломб на ТПР и ПР указаны на рисунках 1 и 2.
Рисунок 1 - Места установки пломб на ТПР
Рисунок 2 - Места установки пломб на ПР
Метрологические характеристики, состав ИК с комплектным способом поверки, а также основные технические характеристики системы и параметры измеряемой среды приведены в таблицах 3, 4, 5.
Таблица 3 - Метрологические характеристики системы
|
Наименование характеристики |
Значение характеристики |
|
Диапазон измерений расхода*, м3/ч |
от 285 до 1900 |
|
Пределы допускаемой относительной погрешности при измерениях массы брутто нефти, % |
± 0,25 |
|
Пределы допускаемой относительной погрешности при измерениях массы нетто нефти, % |
± 0,35 |
|
* - указан максимальный диапазон измерений, фактический диапазон измерений определяется при проведении поверки и не может превышать максимальный диапазон измерений | |
Таблица 4 - Состав ИК с комплектным способом поверки
|
Номер ИК |
Наименование ИК |
Количество ИК (место установки) |
Состав ИК |
Диапазон измерений |
Пределы допускаемой погрешности ИК | |
|
Первичный измерительный преобразователь |
Вторичная часть | |||||
|
2,3,4 |
Объема и объемного расхода нефти |
3 (БИЛ) |
ТПР |
ИВК |
от 292 до 960 м3/ч |
±0,15 % (относительная) |
|
1 |
1 (БИЛ) |
ПР |
от 285 до 1035 м3/ч |
±0,10* % и ±0,15** % (относительная) | ||
|
5, 6 |
Плотности нефти |
2 (БИК) |
ПП |
ИВК |
от 800 до 900 |
±0,3 кг/м3 (абсолютная) |
|
7, 8 |
Вязкости нефти |
2 (БИК) |
ПВ |
ПЛК, барьер pZ600 |
От 6 до 50 сСт (мм2/с) |
±1,0 % (приведенная) |
* Пределы допускаемой относительной погрешности ИК объема и объемного расхода нефти с контрольнорезервным ПР, применяемым в качестве контрольного;
** Пределы допускаемой относительной погрешности ИК объема и объемного расхода нефти с контрольнорезервным ПР, применяемым в качестве резервного.
Таблица 5 - Основные технические характеристики системы и параметры измеряемой среды
|
Наименование характеристики |
Значение |
|
Давление измеряемой среды, МПа |
от 0,2 до 1,6 |
|
Количество измерительный линий, шт. |
4 (три рабочих, одна контрольно-резервная) |
|
Температура измеряемой среды, °С |
от 3 до 35 |
|
Измеряемая среда |
нефть по ГОСТ Р 51858-2002 «Нефть. Общие технические условия» |
|
Плотность измеряемой среды в рабочем диапазоне температуры, кг/м3 |
от 800 до 900 |
|
Кинематическая вязкость измеряемой среды в рабочем диапазоне температуры, мм2/с (сСт) |
от 6 до 50 |
Продолжение таблицы 5
|
Наименование характеристики |
Значение |
|
Массовая доля воды, %, не более |
0,5 |
|
Массовая концентрация хлористых солей, мг/дм3, не более |
100 |
|
Массовая доля механических примесей, %, не более |
0,05 |
|
Условия эксплуатации системы:
|
от -40 до +50 95 |
|
Режим работы системы |
непрерывный, автоматизированный |

