№170 от 02.02.2026
Приказ Федерального агентства по техническому регулированию и метрологии (Росстандарт)
# 747290
ПРИКАЗ О внесении изменений в сведения об утвержденных типах СИ (4)
Приказы по основной деятельности по агентству Вн. Приказ № 170 от 02.02.2026
МИНИСТЕРСТВО ПРОМЫШЛЕННОСТИ И ТОРГОВЛИ РОССИЙСКОЙ ФЕДЕРАЦИИ
ФЕДЕРАЛЬНОЕ АГЕНТСТВО
ПО ТЕХНИЧЕСКОМУ РЕГУЛИРОВАНИЮ И МЕТРОЛОГИИ
(Росстандарт)
|
02 февраля 2026 г. |
П Р И К А З 170 № Москва |
О внесении изменений в сведения об утвержденных типах средств измерений
Во исполнение Административного регламента по предоставлению Федеральным агентством по техническому регулированию и метрологии государственной услуги по утверждению типа стандартных образцов или типа средств измерений, утвержденного приказом Федерального агентства по техническому регулированию и метрологии от 12 ноября 2018 г. № 2346, п р и к а з ы в а ю:
-
1. Внести изменения в сведения об утвержденных типах средств измерений в части конструктивных изменений, влияющих на их метрологические характеристики, согласно приложению к настоящему приказу.
-
2. Утвердить измененные описания типов средств измерений, прилагаемые к настоящему приказу.
-
3. Распространить действие методик поверки средств измерений, установленных согласно приложению к настоящему приказу, на средства измерений, находящиеся в эксплуатации.
-
4. ФБУ «НИЦ ПМ - Ростест» внести сведения об утвержденных типах средств измерений согласно приложению к настоящему приказу в Федеральный информационный фонд по обеспечению единства измерений в соответствии с Порядком создания и ведения Федерального информационного фонда по обеспечению единства измерений, передачи сведений в него и внесения изменений в данные сведения, предоставления содержащихся в нем документов и сведений, утвержденным приказом Министерства промышленности и торговли Российской Федерации от 28 августа 2020 г. № 2906.
-
5. Контроль за исполнением настоящего приказа оставляю за собой.
Заместитель Руководителя
/ \ Подлинник электронного документа, подписанного ЭП, хранится в системе электронного документооборота Федерального агентства по техническому
Е.Р. Лазаренко
регулированию и метрологии
СВЕДЕНИЯ О СЕРТИФИКАТЕ ЭП
Сертификат: 316B076EA979CDFD7618B7011C5621C3
Кому выдан: Лазаренко Евгений Русланович
Действителен: с 13.01.2026 до 08.04.2027
\__________________/
Р Е Е к приказу Федерального агентства по техническому регулировани и метрологии
02 февраля лалл лг 170
от «___» ___________2026 Г. №_____ Сведения об утвержденных типах средств измерений, подлежащие изменению в части конструктивных изменений, влияющих на метрологические характеристики средств измерений|
№ п/п |
аименование типа |
бозначение типа |
Заводской номер |
Регистраци-оннй номер в ФИФ |
Правообладатель |
тменяемая методика поверки |
ействие методики поверки сохраняется |
Устанавливаемая методика поверки |
обавляемый изготовитель |
Дата утвер -дения акта испытаний |
Заявитель |
Юридическое лицо, проводив ее испытания |
|
1 |
2 |
3 |
4 |
5 |
6 |
7 |
8 |
9 |
10 |
11 |
12 |
13 |
|
1. |
Интеллектуальные приборы учета электроэнергии |
РиМ 384.01/2, РиМ 384.02/2 |
РиМ 384.01/2 зав.№ 051262; РиМ 384.02/2 зав.№ 051268; РиМ 384.01/2 зав.№ 49252; РиМ 384.02/2 зав.№ 48830 |
55522-13 |
ВНКЛ.411152. 048-01 ДИ с изменением №1 |
МП- 575.310556 2025 |
09.09. 2025 |
Акционерное общество «Радио и Микроэлектроника» (АО «РиМ»), г. Новосибирск |
ЗападноСибирский филиал ФГУП «ВНИИФТРИ», г. Новосибирск | |||
|
2. |
Приборы учета электроэнергии интеллектуальные |
РиМ 384 |
РиМ 384.03/2 зав.№ 051264; РиМ 384.04/2 зав.№ 051270; РиМ 384.03/2 зав.№ 47451; РиМ 384.04/2 зав.№ 46042 |
85575-22 |
Акционерное общество «Радио и Микроэлектроника» (АО «РиМ»), г. Новосибирск |
ВНКЛ.411152. 048-02 ДИ |
МП- 585.310556 2025 |
09.09. 2025 |
Акционерное общество «Радио и Микроэлектроника» (АО «РиМ»), г. Новосибирск |
ЗападноСибирский филиал ФГУП «ВНИИФТРИ», г. Новосибирск | ||
|
3. |
Счетчики-расходомеры массовые |
Метран- 360М |
ПП - RE, ЭП - Т040, Ду10 зав. № 3060299; ПП - |
89922-23 |
Акционерное общество «Промышленная группа «Метран» |
МП-581/04- 2023 |
РТ-МП-1563- 208-2025 |
30.10. 2025 |
Акционерное общество «Промышленная группа |
ФБУ «НИЦ ПМ - Ростест», г. Москва |
|
RV, ЭП - Т001, Ду10 зав. № 3052538; ПП -RS, ЭП - Т030, Ду25 зав. № 3060301; ПП - RU, ЭП - Т001, Ду200 зав. № 3060297 |
(АО «ПГ «Метран»), г. Челябинск |
«Метран» (АО «ПГ «Метран»), г. Челябинск | ||||||||||
|
4. |
Преобразователи температуры измерительные |
909 |
JP12508001423 (исполнение 909xxxxPR), JP12508001424 (исполнение 909xxxxPR) |
94012-24 |
Фирма «Shanghai Jingpu Mechanical&Electric al Technology Co., Ltd», Китай |
МП 207-0152024 |
РТ-МП-1942- 207-2025 |
09.12. 2025 |
Общество с ограниченной ответственностью «НОРД СЕРВИС» (ООО «НОРД СЕРВИС»), г. Москва |
ФБУ «НИЦ ПМ - Ростест», г. Москва |
УТВЕРЖДЕНО приказом Федерального агентства по техническому регулированию и метрологии от «__ » фе_Р_ля 2026 г. № 170
Лист № 1 Регистрационный № 55522-13 Всего листов 11
ОПИСАНИЕ ТИПА СРЕДСТВА ИЗМЕРЕНИЙ
Интеллектуальные приборы учета электроэнергии РиМ 384.01/2, РиМ 384.02/2 Назначение средства измеренийИнтеллектуальные приборы учета электроэнергии РиМ 384.01/2, РиМ 384.02/2 (далее - ИПУЭ) являются многофункциональными приборами и предназначены для измерений: активной и реактивной электрической энергии, а также активной, реактивной и полной мощности, линейных напряжений, фазных токов, частоты сети, удельной энергии потерь в цепях тока, тока прямой и обратной последовательности, коэффициента несимметрии тока обратной последовательности, коэффициента реактивной мощности tg j, коэффициента мощности cos j в трехфазных трехпроводных электрических сетях переменного тока промышленной частоты с изолированной нейтралью напряжением 6/ 10 кВ (в зависимости от исполнения).
ИПУЭ измеряют показатели качества электрической энергии:
длительность провала напряжения;
остаточное напряжение провала напряжения;
глубина провала напряжения;
длительность перенапряжения;
максимальное значение перенапряжения;
коэффициент перенапряжения; коэффициент несимметрии напряжения обратной последовательности; положительное и отрицательное отклонения напряжения; отклонение частоты.
Описание средства измерений
ИПУЭ состоят из двух однофазных четырехквадрантных датчиков измерения активной и реактивной энергии РиМ 384.01 или РиМ 384.02 (далее - ДИЭ), включенных по схеме Арона. Расположение квадрантов соответствует геометрическому представлению С.1 ГОСТ 31819.23.
Принцип действия ИПУЭ основан на цифровой обработке аналоговых входных сигналов токов и напряжений при помощи микроконтроллера со встроенными аналогово цифровыми преобразователями. Остальные параметры, измеряемые ИПУЭ, рассчитываются микроконтроллером по измеренным значениям тока, напряжения и угла между ними.
Каждый ДИЭ состоит из измерительного модуля и защитного блока, соединенных изолированным высоковольтным проводом. В измерительном модуле размещены: измеритель, источник питания, интерфейсы и высоковольтный узел. В защитном блоке размещен защитный резистор, ограничивающий ток через элементы высоковольтного узла. Измерительный модуль помещен в корпус внешний (тип I или тип II).
ИПУЭ выпускаются в следующих модификациях (исполнениях): РиМ 384.01/2 (состоит из двух ДИЭ РиМ 384.01), РиМ 384.02/2 (состоит из двух ДИЭ РиМ 384.02), которые отличаются номинальным напряжением.
Маркировка наносится на корпус каждого ДИЭ и содержит следующие сведения:
а) товарный знак предприятия-изготовителя;
б) условное обозначение ДИЭ, знак утверждения типа (по ПР 50.2.107).
Примечание - Согласно п. 4.16 ГОСТ 22261 условное обозначение типа ИПУЭ указывается в технических условиях и в эксплуатационной документации.
в) единый знак обращения продукции на рынке государств-членов Таможенного союза (по Положению о едином знаке обращения продукции на рынке государств-членов Таможенного союза);
г) заводской номер в цифровом формате наносится на лицевую сторону ДИЭ лазерной гравировкой или иным способом устойчивым к атмосферным воздействиям по системе нумерации предприятия-изготовителя и год изготовления;
д) номинальное напряжение в соответствии с п. 5.12.1 е) форма 1) ГОСТ 31818.11;
е) номинальный и максимальный токи;
ж) номинальная частота в герцах;
з) постоянная ИПУЭ (ДИЭ);
и) обозначение класса точности ИПУЭ (ДИЭ) при измерении активной и реактивной энергии (по ГОСТ 8.401);
к) условное обозначение измеряемой энергии (kW^h, kvarh);
л) обозначение нормативного документа - ГОСТ 31818.11;
м) штриховой код, содержащий код регистрационного кода типа ДИЭ, заводского номера и года изготовления. Штриховой код в соответствии с ГОСТ ISO/IEC 16390;
н) на корпусе ДИЭ должен быть нанесен знак «Внимание, опасность» по ГОСТ 12.2.091-2012.
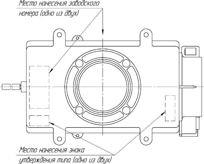
Общий вид ДИЭ представлен на рисунках 1, 2, 3. Обозначение мест нанесения заводского номера и знака утверждения типа представлены на рисунке 5.
Нанесение знака поверки на средство измерений предусмотрено. Схема пломбировки от несанкционированного доступа, обозначение мест нанесения знака поверки представлены на рисунке 4.
Рисунок 1 - Общий вид ДИЭ в корпусе внешнем тип I
ДИЭ в корпусе внешнем тип II
Рисунок 3 - Общий вид ДИЭ без корпуса внешнего

Место нанесения
Место установки
поЬерителя (одно из ддух)
Рисунок 4 - Схема пломбировки от несанкционированного доступа, обозначение мест нанесения знака поверки на ДИЭ

Рисунок 5 - Обозначение мест нанесения заводского номера и знака утверждения типа на ДИЭ

Встроенное ПО ИПУЭ должно сохраняться в постоянном запоминающем устройстве контроллера ДИЭ. Считывание исполняемого кода из ДИЭ и модификация метрологически
Рисунок 2 - Общий вид
Лист № 5 Всего листов 11 значимой части ПО калибровочных коэффициентов и измеренных данных с использованием интерфейсов ДИЭ невозможны.
Встроенное ПО ИПУЭ разделено на метрологически значимую и метрологически незначимую части.
Уровень защиты программного обеспечения «Высокий» в соответствии с Р 50.2.077-2014. Конструкция ИПУЭ (ДИЭ) исключает возможность несанкционированного влияния на ПО ИПУЭ и измерительную информацию.
Таблица 1 - Идентификационные данные программного обеспечения
|
Идентификационные данные (признаки) |
Значение | |
|
Исполнения счетчиков |
РиМ 384.01/2 |
РиМ 384.02/2 |
|
Идентификационное наименование ПО |
РМ384 ВНКЛ.411152.048 ПО |
РМ384 ВНКЛ.411152.048 - 01 ПО |
|
Номер версии (идентификационный номер) ПО |
v 3.01 и ниже | |
|
Цифровой идентификатор ПО (контрольная сумма исполняемого кода) |
- | |
|
Идентификационное наименование ПО |
РМ384 ВНКЛ.411152.048 -02 ПО |
РМ384 ВНКЛ.411152.048 - 03 ПО |
|
Номер версии (идентификационный номер) ПО |
от v 3.02 до v 3.99 | |
|
Цифровой идентификатор ПО (контрольная сумма исполняемого кода) |
BC 34 8E F7 09 27 3B 2F 2B DA 7A 72 5A CF 0D A9 | |
|
Идентификационное наименование ПО |
РМ384 ВНКЛ.411152.173 ПО рМ384 ВНКЛ.411152.173-01 ПО | |
|
Номер версии (идентификационный номер) ПО |
v 4.00 и выше | |
|
Цифровой идентификатор ПО (контрольная сумма исполняемого кода) |
28FEAFFE45 1140 9C C5 F13EB1E8 3FEEE9 |
95 0A 37 FA 27 0B AF 63 3E A5 08 2EE0 44 64 D9 |
|
Диапазон адресов расположения ПО в постоянном запоминающем устройстве контроллера счётчика |
с 0x10003FFF по 0x10007FFE | |
|
Алгоритм вычисления цифрового идентификатора ПО |
MD5 | |
Метрологические и технические характеристики
Таблица 2- Метрологические и технические характеристики
|
Наименование характеристики |
Значение | |
|
РиМ 384.01/2 (РиМ 384.01) |
РиМ 384.02/2 (РиМ 384.02) | |
|
1 |
2 |
3 |
|
Номинальный ток, А |
20 | |
|
Максимальный ток, А |
100 | |
|
Номинальное напряжение, кВ |
6 |
10 |
|
Установленный диапазон напряжений, кВ |
от 5,4 до 6,6 |
от 9 до 11 |
|
Расширенный диапазон напряжений, кВ |
от 4,8 до 7,2 |
от 8 до 12 |
|
Номинальная частота, Гц |
50 | |
|
Класс точности: | ||
|
при измерении активной энергии (по ГОСТ 31819.22-2012) |
0,5S | |
|
при измерении реактивной энергии (по ГОСТ 31819.23-2012) |
1 | |
|
Пределы допускаемой основной относительной погрешности | ||
|
Наименование характеристики |
Значение | |
|
РиМ 384.01/2 (РиМ 384.01) |
РиМ 384.02/2 (РиМ 384.02) | |
|
измерений активной энергии 1) и мощности, максимальной средней |
±1 |
,0 |
|
активной мощности на программируемом интервале Ринт макс, |
±0,5 | |
|
максимальной средней активной мощности на расчетный день и |
±1,0 | |
|
час Ррдч, % |
±0,6 | |
|
0,011н<1<0,051н, cos ф =1,00 |
±1,0 | |
|
0,051н<1<1макс, cos ф = 1,00 |
±0,6 | |
|
0,021н<1<0,101н, cos ф =0,50 инд. 0,101н<1<1макс, cos ф = 0,50 инд. 0,021н<1<0,101н, cos ф =0,80 емк. 0,101н<1<1макс, cos ф = 0,80 емк. | ||
|
Пределы допускаемой основной относительной погрешности измерений реактивной энергии1) и мощности, % | ||
|
0,021н<1<0,051н, sin ф=1,00 |
±1,5 | |
|
0,051н<1<1макс, sin ф=1,00 |
±1,0 | |
|
0,051н<1<0,101н, sin ф=0,50 инд. |
±1,5 | |
|
0,101н<1<1макс, sin ф=0,50 инд. |
±1,0 | |
|
0,051н<1<0,101н, sin ф=0,50 емк. |
±1,5 | |
|
0,101н<1<1макс, sin ф=0,50 емк. |
±1,0 | |
|
0,101н<1<1макс, sin ф=0,25 инд. |
±1,5 | |
|
0,101н<1<1макс, sin ф=0,25 емк. |
±1,5 | |
|
Пределы допускаемой относительной погрешности измерений | ||
|
полной мощности, % |
±1,5 | |
|
Пределы допускаемой абсолютной погрешности измерений коэффициента мощности cos ф, в диапазоне токов (в диапазоне измеряемых значений cos ф): | ||
|
0,051н<1<1макс (от 0,25 до 1) |
±0,01 | |
|
Пределы допускаемой абсолютной погрешности измерений коэффициента реактивной мощности tg ф, в диапазоне токов (в диапазоне измеряемых значений tg ф): | ||
|
0,051н<1<1макс (от 0 до 1) |
±0,01 | |
|
Пределы допускаемой относительной погрешности измерений среднеквадратических значений фазного тока 5I, %, | ||
|
в диапазоне | ||
|
0,011н<1<0,051н |
±1,0 | |
|
0,051н<1<1макс |
±0,5 | |
|
Пределы допускаемой относительной погрешности измерений среднеквадратических значений линейных напряжений в | ||
|
расширенном диапазоне напряжений, % |
±0,5 | |
|
Пределы допускаемой дополнительной относительной погрешности измерений активной энергии 1) и мощности, вызываемой изменением напряжения в установленном рабочем диапазоне, % | ||
|
0,9иНом<и<1,1иНом, cos ф=1,00 |
±0,2 | |
|
0,9иНом<и<1,1иНом, cos ф=0,50 инд. |
±0,4 | |
|
Пределы допускаемой дополнительной относительной погрешности измерений реактивной энергии 1) и мощности, вызываемой изменени-ем напряжения в установленном рабочем диапазоне, % | ||
|
0,9иНом<и<1,1иНом, sin ф=1,00 |
±0,7 | |
|
0,9иНом<и<1,1иНом, sin ф=0,50 инд. |
±1,0 | |
|
Пределы допускаемой дополнительной относительной погрешности |
±0,6 | |
|
Наименование характеристики |
Значение |
|
РиМ 384.01/2 РиМ 384.02/2 (РиМ 384.01) (РиМ 384.02) | |
|
измерений активной энергии 1) и мощности, вызываемой изменением напряжения в расширенном рабочем диапазоне, % 0,80UHom<U<1,15UHom, cos ф=1,00 0,80UHom<U<1,15UHom, cos ф=0,50 инд. |
±1,2 |
|
Пределы допускаемой дополнительной относительной погрешности измерений реактивной энергии 1) и мощности, вызываемой изменением напряжения в расширенном рабочем диапазоне, % 0,8UHom<U<1,15UHom, sin ф=1,00 0,8UHom<U<1,15UHom, sin ф=0,50 инд. |
и- н- W и о |
|
Пределы допускаемой относительной погрешности измерений отрицательного 5U(.) и положительного 5U(+) отклонения напряжения в диапазоне значений от 40 до 120%, % |
±0,5 |
|
Пределы допускаемой абсолютной погрешности измерений частоты сети, Гц в диапазоне значений частоты от 45 до 55 Гц |
±0,01 |
|
Пределы допускаемой абсолютной погрешности измерений отклонения частоты сети Af 2), Гц в диапазоне отклонений частоты ± 5 Гц |
±0,01 |
|
Пределы допускаемой абсолютной погрешности измерений длительности провала напряжения Atn в диапазоне значений от 1 до 60 с, с 2) |
±0,02 |
|
Пределы допускаемой приведеной погрешности измерений остаточного напряжения провала напряжения Un относительно ином,%2) |
±1,0 |
|
Пределы допускаемой абсолютной погрешности измерений длительности перенапряжения AtnEPU в диапазоне значений от 1 до 60 с, с 2) |
±0,02 |
|
Пределы допускаемой относительной погрешности измерений максимального значения перенапряжения иПЕРи, % 2) |
±1,0 |
|
Пределы допускаемой абсолютной погрешности измерений глубины провала напряжения 6Un в диапазоне значений от 10 до 90 %, %2) |
±1,0 |
|
Пределы допускаемой приведенной погрешности измерений токов прямой 11,и обратной ^последовательностей относительно 1макс в диапазоне значений от 0,11н до I макс, % |
±0,5 |
|
Пределы допускаемой абсолютной погрешности измерений коэффициентов несимметрии напряжения К2и и токов K2i обратной последовательности в диапазоне значений коэффициентов несимметрии от 1 до 5 %, % |
±0,3 |
|
Пределы допускаемой абсолютной погрешности измерений коэффициента перенапряжения в диапазоне значений коэффициентов от 1 до 30 % , % |
±1,0 |
|
Пределы допускаемого значения среднего температурного коэффициента при измерении активной энергии1) и мощности, %/К cos ф=1,00 cos ф=0,50 инд. |
±0,03 ±0,05 |
|
Пределы допускаемого значения среднего температурного коэффициента при измерении реактивной энергии1) и мощности,%/К sin ф=1,00 |
±0,05 ±0,07 |
|
Наименование характеристики |
Значение | |
|
РиМ 384.01/2 (РиМ 384.01) |
РиМ 384.02/2 (РиМ 384.02) | |
|
sin ф=0,50 инд. | ||
|
Пределы допускаемой относительной погрешности измерений удельной энергии потерь в цепях тока, %, в диапазоне О,051н<1<1макс |
±2,0 | |
|
Пределы допускаемого значения суточного хода часов реального времени тарификатора ИПУЭ, с/сут (в отсутствии сигнала GPS/GLONASS) |
±0,5 | |
|
Стартовый ток: при измерении активной энергии, мА при измерении реактивной энергии, мА |
20 40 | |
|
Постоянная ИПУЭ (ДИЭ): при измерении активной энергии, имп./кВт^ч при измерении реактивной энергии, имп./квар^ч |
500 500 | |
|
Полная потребляемая мощность в цепи напряжения, не более, В^А, не более |
45 | |
|
Активная потребляемая мощность в цепи напряжения, не более, Вт |
6 | |
|
Количество тарифов |
8 | |
|
Время сохранения данных, лет, не менее |
40 | |
|
Время начального запуска, с, не более |
5 | |
|
Габаритные размеры ИПУЭ (высота х ширина х длина х длина провода), мм, не более
|
315 х130 х310 х1500 310 х150 х310 х1500 | |
|
Масса ИПУЭ, кг, не более |
6,5 | |
|
Условия эксплуатации: Установленный рабочий диапазон: -температура окружающей среды, °С -относительная влажность, %, при 25 (30) °С -атмосферное давление, кПа |
от -40 до +55 100 (95) от 70 до 106,7 | |
|
Средняя наработка на отказ, ч |
180000 | |
|
Средний срок службы, лет |
30 | |
|
Степень защиты оболочек от проникновения пыли и воды |
IP65 | |
|
Условия эксплуатации |
У1** по ГОСТ 15150-69 | |
|
Нормальные условия измерений -температура окружающей среды, °С -относительная влажность, % -атмосферное давление, кПа |
от +21 до + 25 от 30 до 80 от 70 до 106,7 | |
Примечание - Дополнительные погрешности измерений энергии, мощности, вызываемые изменением влияющих величин по отношению к нормальным условиям, приведенным в 8.5 ГОСТ 31819.22 и 8.5 ГОСТ 31819.23, не более пределов дополнительных погрешностей для ИПУЭ соответствующего класса точности в соответствии с таблицей 6 ГОСТ 31819.22 и таблицей 8 ГОСТ 31819.23. | ||
Таблица 3 - Перечень измеряемых величин и цена единиц разрядов измеряемых величин
|
Измеряемая величина |
Основная единица |
Цена единицы старшего/младшего |
|
разряда | ||
|
Активная энергия |
кВтч |
10 7 / 10-3 |
|
Реактивная энергия |
квар^ч |
10 7 / 10-3 |
|
Активная мощность |
Вт |
106 /100 |
|
Реактивная мощность |
вар |
106 /100 |
|
Полная мощность |
В-А |
106 /100 |
|
Фазный ток (среднеквадратическое значение) |
А |
10 2 / 10-3 |
|
Линейное напряжение (среднеквадратическое значение) |
В |
104 /100 |
|
Частота сети |
Гц |
10 1 / 10-2 |
|
Отклонение частоты |
Гц |
10 1/ 10-2 |
|
Удельная энергия потерь в цепях тока |
кА2 •ч |
107 / 10-3 |
|
Коэффициент реактивной мощности tg ф |
безразм. |
102 / 10-3 |
|
Коэффициент мощности cos ф |
безразм. |
100 / 10-3 |
|
Длительность провалов/перенапряжений |
с |
103 / 10-2 |
|
Глубина провала напряжения |
% |
101 / 10-1 |
|
Остаточное напряжение провала напряжения |
В |
104 /100 |
|
Максимальное значение перенапряжения |
В |
104 /100 |
|
Коэффициент перенапряжения |
% |
101/ 10-1 |
|
Напряжение прямой (обратной) последовательности |
В |
104 /100 |
|
Ток прямой (обратной) последовательности |
А |
102/ 10-3 |
|
Коэффициенты несимметрии напряжения и тока обратной последовательности |
% |
101/ 10-2 |
|
Положительное 5U(+) и отрицательное 5U(> отклонения напряжения |
В |
104 / 100 |
|
Положительное 5U(+) и отрицательное 5U(.) отклонения напряжения (относительно ином) |
% |
101 / 10-2 |
наносится на корпус каждого ДИЭ методом печати краской с ультрафиолетовым отверждением или лазерной печатью. В эксплуатационной документации на титульных листах изображение Знака утверждения типа наносится печатным способом.
Комплектность средства измерений
Таблица 4 - Комплектность средства измерений
|
Наименование |
Обозначение |
Количество |
|
ДИЭ соответствующего исполнения (в упаковке) |
2 шт. | |
|
Корпус внешний тип 11) |
2 шт. | |
|
Корпус внешний тип II1) (антивандальный) |
2 шт. | |
|
Паспорт на ИПУЭ (одно из исполнений) |
ВНКЛ.411152.048 ПС |
1 экз. |
|
Паспорт на ДИЭ (одно из исполнений) |
ВНКЛ.411152.049 ПС |
2 экз. |
|
Пломба пластиковая номерная |
4 шт. | |
|
Комплект монтажных частей 2) |
1 компл. | |
|
Руководство по эксплуатации 3),4),5) |
ВНКЛ.411152.048 РЭ |
1 экз. |
|
Руководство по эксплуатации 3),4),5)’6) |
ВНКЛ.411152.173 РЭ |
1 экз. |
|
Терминал мобильный РиМ 099.01 -ХХ3),5),8) |
1 компл. | |
|
Инструкция по монтажу, пуску, |
ВНКЛ.411152.048 ИМ |
1 экз. |
|
Наименование |
Обозначение |
Количество |
|
регулированию и обкатке изделия 4) | ||
|
Дисплей дистанционный РиМ 040.40 6) |
1 шт. | |
|
Дисплей дистанционный РиМ 040.03-12 7) |
1 шт. | |
|
Адаптер питания РиМ 000.10 3) |
1 шт. | |
|
Устройство синхронизации оптическое 6) |
ВНКЛ.426449.045 |
1 шт. |
|
Сервисное ПО 3)’4)’5) |
- | |
|
Устройство защиты от перенапряжения 3)’9) |
3 компл. | |
| ||
приведены в разделе 3 руководства по эксплуатации ВНКЛ.411152.048 РЭ и ВНКЛ.411152.173 РЭ.
Нормативные и технические документы, устанавливающие требования к средству измеренийГОСТ 31818.11-2012 Аппаратура для измерения электрической энергии переменного тока. Общие требования. Испытания и условия испытаний. Часть 11. Счетчики электрической энергии
ГОСТ 31819.22-2012 Аппаратура для измерения электрической энергии переменного тока. Частные требования. Часть 22. Статические счетчики активной энергии классов точности 0,2S и 0,5S
ГОСТ 31819.23-2012 Аппаратура для измерения электрической энергии переменного тока. Частные требования. Часть 23. Статические счетчики реактивной энергии
Приказ Росстандарта от 10.09.2025 г. № 1932 Об утверждении государственной поверочной схемы для средств измерений электроэнергетических величин в диапазоне частот от 1 до 2500 Гц
Приказ Росстандарта от 21 июля 2023 года № 1491 Об утверждении государственной поверочной схемы для средств измерений коэффициентов преобразования силы электрического тока
Приказ Росстандарта от 7 августа 2023 года № 1554 Об утверждении государственной поверочной схемы для средств измерений коэффициента масштабного преобразования и угла фазового сдвига электрического напряжения переменного тока промышленной частоты в диапазоне от 0,1/^3 до 750/^3 кВ и средств измерений электрической емкости и тангенса угла потерь на напряжении переменного тока промышленной частоты в диапазоне от 1 до 500 кВ
ГОСТ 32144-2013 Электрическая энергия. Совместимость технических средств электромагнитная. Нормы качества электрической энергии в системах электроснабжения общего назначения
ГОСТ 30804.4.30-2013 Электрическая энергия. Совместимость технических средств электромагнитная. Методы измерений показателей качества электрической энергии
ТУ 4228 - 061 - 11821941 - 2013 Интеллектуальные приборы учета электроэнергии РиМ 384.01/2, РиМ 384.02/2, РиМ 384.03/2, РиМ 384.04/2. Технические условия
ИзготовительАкционерное общество «Радио и Микроэлектроника»
(АО «РиМ»),
ИНН: 5408110390
Адрес: 630082, г. Новосибирск, ул. Дачная,д.60/1,офис307 телефон:+7(383)21953-13,факс:+7(383)21953-13
Web-сайт: www.ao-rim.ru
E-mail: rim@zao-rim.ru
Испытательный центрФедеральное государственное унитарное предприятие «Сибирский государственный ордена Трудового Красного Знамени научно-исследовательский институт метрологии»
(ФГУП «СНИИМ»)
Адрес: 630004, г. Новосибирск, пр-кт Димитрова, д. 4 тел. +7(383)210-08-14,факс+7(383)210-1360
E-mail: director@sniim.ru
Аттестат аккредитации ФГУП «СНИИМ» по проведению испытаний средств измерений в целях утверждения типа RA.RU.3 10556 от14.01.2015 г.
В части внесения изменений
Западно-Сибирский филиал Федерального государственного унитарного предприятия «Всероссийский научно-исследовательский институт физико-технических и радиотехнических измерений»
(Западно-Сибирский филиал ФГУП «ВНИИФТРИ»)
Адрес: 630004, Российская Федерация, г. Новосибирск, пр-кт Димитрова, д. 4
Телефон (факс): +7 (383) 210-08-14, +7 (383)210-13-60
E-mail: director@sniim.ru
Аттестат аккредитации Западно-Сибирского филиала ФГУП «ВНИИФТРИ» по проведению испытаний средств измерений в целях утверждения типа № RA.RU.310556 от 14.01.2015 г.
УТВЕРЖДЕНО приказом Федерального агентства по техническому регулированию и метрологии от « 02 » февраля 2026 Г. № 1 70Лист № 1 Регистрационный № 85575-22 Всего листов 11
ОПИСАНИЕ ТИПА СРЕДСТВА ИЗМЕРЕНИЙ
Приборы учета электроэнергии интеллектуальные РиМ 384Назначение средства измерений
Приборы учета электроэнергии интеллектуальные РиМ 384 (далее - ИПУЭ) являются многофункциональными приборами и предназначены для измерений: активной и реактивной электрической энергии, а также активной, реактивной и полной мощности, линейных напряжений, фазных токов, частоты сети, удельной энергии потерь в цепях тока, тока прямой и обратной последовательности, коэффициента несимметрии тока обратной последовательности, коэффициента реактивной мощности tg ф, коэффициента мощности cos ф в трехфазных трехпроводных электрических сетях переменного тока промышленной частоты с изолированной нейтралью напряжением 6/ 10 кВ (в зависимости от исполнения).
ИПУЭ измеряют показатели качества электрической энергии:
-
- длительность провала напряжения;
-
- остаточное напряжение провала напряжения;
-
- глубина провала напряжения;
-
- длительность перенапряжения;
-
- максимальное значение перенапряжения;
-
- коэффициент перенапряжения;
-
- коэффициент несимметрии напряжения обратной последовательности;
-
- положительное и отрицательное отклонения напряжения;
-
- отклонение частоты.
Описание средства измерений
ИПУЭ состоят из двух однофазных четырехквадрантных датчиков измерения активной и реактивной энергии РиМ 384.03 или РиМ 384.04 (далее - ДИЭ), включенных по схеме Арона. Расположение квадрантов соответствует геометрическому представлению С.1 ГОСТ 31819.23.
Принцип действия ИПУЭ основан на цифровой обработке аналоговых входных сигналов токов и напряжений при помощи микроконтроллера со встроенными аналогово-цифровыми преобразователями. Остальные параметры, измеряемые ИПУЭ, рассчитываются микроконтроллером по измеренным значениям тока, напряжения и угла между ними.
Каждый ДИЭ состоит из измерительного модуля и защитного блока, соединенных изолированным высоковольтным проводом. В измерительном модуле размещены: измеритель, источник питания, интерфейсы и высоковольтный узел. В защитном блоке размещен защитный резистор, ограничивающий ток через элементы высоковольтного узла. Измерительный модуль помещен в корпус внешний.
ИПУЭ выпускаются в следующих модификациях (исполнениях): РиМ 384.03/2 (состоит из двух ДИЭ РиМ 384.03), РиМ 384.04/2 (состоит из двух ДИЭ РиМ 384.04), которые отличаются номинальным напряжением.
Маркировка наносится на корпус каждого ДИЭ и содержит следующие сведения:
а) товарный знак предприятия-изготовителя;
б) условное обозначение ДИЭ, знак утверждения типа.
в) единый знак обращения продукции на рынке государств-членов Таможенного союза (по Положению о едином знаке обращения продукции на рынке государств-членов Таможенного союза);
г) заводской номер ДИЭ в цифровом формате наносится на лицевую сторону ДИЭ лазерной гравировкой или иным способом устойчивым к атмосферным воздействиям по системе нумерации предприятия-изготовителя и год изготовления;
д) номинальное напряжение по п. 5.12.1 е) форма 1) ГОСТ 31818.11;
е) номинальный и максимальный токи;
ж) номинальная частота в герцах;
и) постоянная ИПУЭ (ДИЭ);
к) обозначение класса точности ИПУЭ (ДИЭ) при измерении активной и реактивной энергии (по ГОСТ 8.401);
л) условное обозначение измеряемой энергии (kW^h, kvarh);
м) обозначение нормативного документа - ГОСТ 31818.11;
н) на корпусе ДИЭ нанесен знак «Внимание, опасность» по ГОСТ 12.2.091-2012.
Условное обозначение типа ИПУЭ указывается в технических условиях и в эксплуатационной документации.
Общий вид ДИЭ представлен на рисунках 1, 2.
Нанесение знака поверки на средство измерений предусмотрено. Схема пломбировки от несанкционированного доступа, обозначение мест нанесения знака поверки представлена на рисунке 3. Обозначение мест нанесения заводского номера и знака утверждения типа представлены на рисунке 4.
Рисунок 1 - Общий вид ДИЭ в корпусе внешнем тип II
Рисунок 2 - Общий вид ДИЭ без корпуса внешнего
Место нонесения Место установки
поверителя (одно из двух)
Рисунок 3 - Схема пломбировки от несанкционированного доступа, обозначение мест нанесения знака поверки на ДИЭ
Мес то нанесения заводского
утверждения типа (одно из двух)
Рисунок 4 - Обозначение мест нанесения заводского номера и знака утверждения типа
Программное обеспечениеВстроенное ПО ИПУЭ должно сохраняться в постоянном запоминающем устройстве контроллера ДИЭ. Считывание исполняемого кода из ДИЭ и модификация метрологически значимой части ПО калибровочных коэффициентов и измеренных данных с использованием интерфейсов ДИЭ невозможны.
Встроенное ПО ИПУЭ разделено на метрологически значимую и метрологически незначимую части.
Уровень защиты программного обеспечения «Высокий» в соответствии с Р 50.2.077-2014. Конструкция ИПУЭ (ДИЭ) исключает возможность несанкционированного влияния на ПО ИПУЭ и измерительную информацию.
Таблица 1 - Идентификационные данные программного обеспечения
|
Идентификационные данные (признаки) |
Значение | |
|
Исполнения счетчиков |
РиМ 384.03/2 |
РиМ 384.04/2 |
|
Идентификационное наименование ПО |
РМ384 ВНКЛ.411152.048 - 02 ПО |
РМ384 ВНКЛ.411152.048 - 03 ПО |
|
Номер версии (идентификационный номер) ПО |
с v 3.02 по v 3.99 | |
|
Цифровой идентификатор ПО (контрольная сумма исполняемого кода) |
BC 34 8E F7 09 27 3B 2F 2B DA 7A 72 5A CF 0D A9 | |
|
Идентификационное наименование ПО |
РМ384 ВНКЛ.411152.173 ПО |
РМ384 ВНКЛ.411152.173-01 ПО |
|
Номер версии (идентификационный номер) ПО |
v 4.00 и выше | |
|
Цифровой идентификатор ПО (контрольная сумма исполняемого кода) |
28 FE AF FE 45 11 40 9C C5 F1 3E B1 E8 3F EE E9 |
95 0A 37 FA 27 0B AF 63 3E A5 08 2E E0 44 64 D9 |
|
Диапазон адресов расположения ПО в постоянном запоминающем устройстве контроллера счётчика |
с 0x10003FFF по 0x10007FFE | |
|
Алгоритм вычисления цифрового идентификатора ПО |
MD5 | |
Таблица 2 - Метрологические и технические характеристики
|
Наименование характеристики |
Значение | |
|
РиМ 384.03/2 (РиМ 384.03) |
РиМ 384.04/2 (РиМ 384.04) | |
|
Номинальный ток, А |
2 |
0 |
|
Максимальный ток, А |
200 | |
|
Номинальное напряжение, кВ |
6 |
10 |
|
Установленный диапазон напряжений, кВ |
от 5,4 до 6,6 |
от 9 до 11 |
|
Расширенный диапазон напряжений, кВ |
от 4,8 до 7,2 |
от 8 до 12 |
|
Номинальная частота, Гц |
5 |
0 |
|
Класс точности: при измерении активной энергии (по ГОСТ 31819.22-2012) |
0,5S | |
|
при измерении реактивной энергии (по ГОСТ 31819.23-2012) |
1 | |
|
Пределы допускаемой основной относительной погрешности измерений активной энергии и мощности, максимальной средней активной мощности на программируемом интервале Ринт макс, максимальной средней активной мощности на расчетный день и час Ррдч, % 0,011ном<1<0,051ном, cos ф =1,00 |
±1,0 | |
|
0,051ном<1<1макс, COS ф = 1,00 |
±0,5 | |
|
0,021ном<1<0,101ном, cos ф =0,50 инд. |
±1,0 | |
|
0,101ном<1<1макс, COS ф = 0,50 инд. |
±0,6 | |
|
0,021ном<1<0,101ном, cos ф =0,80 емк. |
±1,0 | |
|
0,101ном<1<1макс, cos ф 0,80 емк. |
±0,6 | |
|
Пределы допускаемой основной относительной погрешности измерений реактивной энергии и мощности, % 0,021ном<1<0,051ном, sin ф=1,00 |
±1,5 | |
|
0,051ном<1<1макс, sin ф=1,00 |
±1,0 | |
|
0,051ном<1<0,101ном, sin ф=0,50 инд. |
±1,5 | |
|
0,101ном<1<1макс, sin ф=0,50 инд. |
±1,0 | |
|
0,051ном<1<0,101ном, sin ф=0,50 емк. |
±1,5 | |
|
0,101ном<1<1макс, sin ф=0,50 емк. |
±1,0 | |
|
0,101ном<1<1макс, sin ф=0,25 инд. |
±1,5 | |
|
0,101ном<1<1макс, sin ф 0,25 емк. |
±1,5 | |
|
Пределы допускаемой относительной погрешности измерений полной мощности, % |
±1,5 | |
|
Пределы допускаемой абсолютной погрешности измерений коэффициента мощности cos ф, в диапазоне токов (в диапазоне измеряемых значений cos ф): 0,051ном<1<1макс (от 0,25 до 1) |
±0,01 | |
|
Пределы допускаемой абсолютной погрешности измерений коэффициента реактивной мощности tg ф, в диапазоне токов (в диапазоне измеряемых значений tg ф): 0,051ном<1<1макс (от 0 до 1) |
±0,01 | |
|
Пределы допускаемой относительной погрешности измерений среднеквадратических значений фазного тока 6I в диапазоне, % 0,011ном<1<0,051ном |
±1,0 | |
|
0,051ном<1<1макс |
±0,5 | |
|
Наименование характеристики |
Значение | |
|
РиМ 384.03/2 (РиМ 384.03) |
РиМ 384.04/2 (РиМ 384.04) | |
|
Пределы допускаемой относительной погрешности измерений среднеквадратических значений линейных напряжений в расширенном диапазоне напряжений, % |
±0,5 | |
|
Пределы допускаемой дополнительной относительной погрешности измерений активной энергии и мощности, вызываемой изменением напряжения в установленном рабочем диапазоне, % 0,9ином<и<1,1ином, cos ф=1,00 0,9ином<и<1,Шном, cos Ф=0,50 инд. |
±0,2 ±0,4 | |
|
Пределы допускаемой дополнительной относительной погрешности измерений реактивной энергии и мощности, вызываемой изменением напряжения в установленном рабочем диапазоне, % 0,9ином<и<1,1ином, sin ф=1,00 0,9ином<и<1,Шном, sin Ф=0,50 инд. |
±0,7 ±1,0 | |
|
Пределы допускаемой дополнительной относительной погрешности измерений активной энергии и мощности, вызываемой изменением напряжения в расширенном рабочем диапазоне, % 0,80ином<и<1,2ином, cos ф=1,00 0,80ином<и<1,2ином, cos ф=0,50 инд. |
±0,6 ±1,2 | |
|
Пределы допускаемой дополнительной относительной погрешности измерений реактивной энергии и мощности, вызываемой изменением напряжения в расширенном рабочем диапазоне, % 0,8ином<и<1,2ином, sin ф=1,00 0,8ином<и<1,2ином, sin ф=0,50 инд. |
±2,1 ±3,0 | |
|
Пределы допускаемой относительной погрешности измерений отрицательного 5U(-) и положительного 5U(+) отклонения напряжения в диапазоне значений от 40 до 120%, % |
±0,5 | |
|
Пределы допускаемой абсолютной погрешности измерений частоты сети, Гц в диапазоне значений частоты от 45 до 55 Гц |
±0,01 | |
|
Пределы допускаемой абсолютной погрешности измерений отклонения частоты сети Af , Гц в диапазоне отклонений частоты ± 5 Гц |
±0,01 | |
|
Пределы допускаемой абсолютной погрешности измерений длительности провала напряжения Atn в диапазоне значений от 1 до 60 с, с |
±0,02 | |
|
Пределы допускаемой погрешности измерений остаточного напряжения провала напряжения Un приведенной к ином, в диапазоне значений от 40 до 100% от ином, % |
±1,0 | |
|
Пределы допускаемой абсолютной погрешности измерений длительности перенапряжения AtnEpU в диапазоне значений от 1 до 60 с, с |
±0,02 | |
|
Пределы допускаемой относительной погрешности измерений максимального значения перенапряжения UnEPU, % |
±1,0 | |
|
Пределы допускаемой абсолютной погрешности измерений глубины провала напряжения 6Un в диапазоне значений от 10 до 90 %, % |
±1,0 | |
|
Пределы допускаемой относительной погрешности измерений токов прямой I1 и обратной I2 последовательностей в диапазоне значений от 0,1!ном до 1макс, % |
±0,5 | |
|
Наименование характеристики |
Значение | |
|
РиМ 384.03/2 (РиМ 384.03) |
РиМ 384.04/2 (РиМ 384.04) | |
|
Пределы допускаемой абсолютной погрешности измерений коэффициентов несимметрии напряжения K2U и токов К21 по обратной последовательности в диапазоне значений коэффициентов несимметрии от 1 до 5 %, % |
±0,3 | |
|
Пределы допускаемой абсолютной погрешности измерений коэффициента перенапряжения в диапазоне значений коэффициента от 1 до 30 % , % |
±1,0 | |
|
Пределы допускаемого значения среднего температурного коэффициента при измерении активной энергии и мощности, %/К cos ф=1,00 |
±0,03 | |
|
cos ф=0,50 инд. |
±0,05 | |
|
Пределы допускаемого значения среднего температурного коэффициента при измерении реактивной энергии и мощности,%/К sin ф=1,00 |
±0,05 | |
|
sin ф=0,50 инд. |
±0,07 | |
|
Пределы допускаемой относительной погрешности измерений удельной энергии потерь в цепях тока, %, в диапазоне 0,051ном<1<1макс |
±2,0 | |
|
Пределы допускаемого значения суточного хода часов реального времени тарификатора ИПУЭ, с/сут |
±0,5 | |
|
Стартовый ток: при измерении активной энергии, мА |
20 | |
|
при измерении реактивной энергии, мА |
40 | |
|
Постоянная ИПУЭ (ДИЭ): при измерении активной энергии, имп./кВт^ч |
500 | |
|
при измерении реактивной энергии, имп./квар^ч |
500 | |
|
Полная потребляемая мощность в цепи напряжения, не более, В •А, не более |
45 | |
|
Активная потребляемая мощность в цепи напряжения, не более, Вт |
6 | |
|
Количество тарифов |
8 | |
|
Время сохранения данных, лет, не менее |
40 | |
|
Время начального запуска, с, не более |
5 | |
|
Габаритные размеры ИПУЭ (высота х ширина х длина х длина провода), мм, не более - в корпусе внешнем тип II |
310 х150 х310 х1500 | |
|
Масса ИПУЭ, кг, не более |
6,5 | |
|
Условия эксплуатации: Установленный рабочий диапазон: -температура окружающей среды, °С |
от -40 до +55 | |
|
-относительная влажность, %, при 25 (30) °С |
100 (95) | |
|
-атмосферное давление, кПа |
от 70 до 106,7 | |
|
Средняя наработка на отказ, ч |
180000 | |
|
Средний срок службы, лет |
30 | |
|
Степень защиты оболочек от проникновения пыли и воды |
IP65 | |
|
Условия эксплуатации |
У1** по ГОСТ 15150-69 | |
|
Наименование характеристики |
Значение |
|
РиМ 384.03/2 РиМ 384.04/2 (РиМ 384.03) (РиМ 384.04) | |
|
Нормальные условия измерений -температура окружающей среды, °С -относительная влажность, % -атмосферное давление, кПа |
от +21 до + 25 от 30 до 80 от 70 до 106,7 |
|
Примечания
| |
Таблица 3 - Перечень измеряемых величин и цена единиц разрядов измеряемых величин
|
Измеряемая величина |
Основная единица |
Цена единицы старшего/младшего разряда |
|
Активная энергия |
кВтч |
10 7 / 10-3 |
|
Реактивная энергия |
квар^ч |
10 7 / 10-3 |
|
Активная мощность |
Вт |
106 / 100 |
|
Реактивная мощность |
вар |
106 / 100 |
|
Полная мощность |
В-А |
106 / 100 |
|
Фазный ток (среднеквадратическое значение) |
А |
10 2 / 10-3 |
|
Линейное напряжение (среднеквадратическое значение) |
В |
104 / 100 |
|
Частота сети |
Гц |
10 1 / 10-2 |
|
Отклонение частоты |
Гц |
10 1 / 10-2 |
|
Удельная энергия потерь в цепях тока |
кА2 •ч |
107 / 10-3 |
|
Коэффициент реактивной мощности tg ф |
безразм. |
102 / 10-3 |
|
Коэффициент мощности cos ф |
безразм. |
100 / 10-3 |
|
Длительность провалов/перенапряжений |
с |
103 / 10-2 |
|
Глубина провала напряжения |
% |
101 / 10-1 |
|
Остаточное напряжение провала напряжения |
В |
104 / 100 |
|
Максимальное значение перенапряжения |
В |
104 / 100 |
|
Коэффициент перенапряжения |
% |
101 / 10-1 |
|
Напряжение прямой (обратной) последовательности |
В |
104 / 100 |
|
Ток прямой (обратной) последовательности |
А |
102 / 10-3 |
|
Коэффициенты несимметрии напряжения и тока по обратной последовательности |
% |
101 / 10-2 |
|
Положительное AU(+) и отрицательное AU(-) отклонения напряжения |
В |
104 /100 |
|
Положительное 5U(+) и отрицательное 5U(.) отклонения напряжения (относительно ином) |
% |
101 / 10-2 |
наносится на корпус каждого ДИЭ методом печати краской с ультрафиолетовым отверждением или лазерной печатью. В эксплуатационной документации на титульных листах изображение Знака утверждения типа наносится печатным способом.
Комплектность средства измеренийТаблица 4 - Комплектность средства измерений
|
Наименование |
Обозначение |
Количество |
|
ДИЭ соответствующего исполнения (в упаковке) |
2 шт. | |
|
Корпус внешний тип I 1) |
2 шт. | |
|
Корпус внешний тип II 1) (антивандальный) |
2 шт. | |
|
Паспорт на ИПУЭ (одно из исполнений) |
ВНКЛ.411152.048 ПС |
1 экз. |
|
Паспорт на ДИЭ (одно из исполнений) |
ВНКЛ.411152.049 ПС |
2 экз. |
|
Пломба пластиковая номерная |
4 шт. | |
|
Комплект монтажных частей 2) |
1 компл. | |
|
Руководство по эксплуатации 3),4),5) |
ВНКЛ.411152.048 РЭ |
1 экз. |
|
Руководство по эксплуатации 3),4),5), 6) |
ВНКЛ.411152.173 РЭ |
1 экз. |
|
Терминал мобильный РиМ 099.01 -ХХ 3),5),8) |
1 компл. | |
|
Инструкция по монтажу, пуску, регулированию и обкатке изделия 4) |
ВНКЛ.411152.048 ИМ |
1 экз. |
|
Дисплей дистанционный РиМ 040.40 6) |
1 шт. | |
|
Дисплей дистанционный РиМ 040.03-12 7) |
1 шт. | |
|
Адаптер питания РиМ 000.10 3) |
1 шт. | |
|
Устройство синхронизации оптическое 6) |
ВНКЛ.426449.045 |
1 шт. |
|
Сервисное ПО 3) 4) 5) |
- | |
|
Устройство защиты от перенапряжения 3) 9) |
3 компл. | |
| ||
приведены в разделе 3 руководства по эксплуатации ВНКЛ.411152.048 РЭ и ВНКЛ.411152.173 РЭ.
Нормативные и технические документы, устанавливающие требования к средству измеренийГОСТ 31818.11-2012 Аппаратура для измерения электрической энергии переменного тока. Общие требования. Испытания и условия испытаний. Часть 11. Счетчики электрической энергии
ГОСТ 31819.22-2012 Аппаратура для измерения электрической энергии переменного тока. Частные требования. Часть 22. Статические счетчики активной энергии классов точности 0,2S и 0,5S
ГОСТ 31819.23-2012 Аппаратура для измерения электрической энергии переменного тока. Частные требования. Часть 23. Статические счетчики реактивной энергии
Приказ Росстандарта от 10.09.2025 г. № 1932 Об утверждении государственной поверочной схемы для средств измерений электроэнергетических величин в диапазоне частот от 1 до 2500 Гц
Приказ Росстандарта от 21 июля 2023 года № 1491 Об утверждении государственной поверочной схемы для средств измерений коэффициентов преобразования силы электрического тока
Приказ Росстандарта от 7 августа 2023 года № 1554 Об утверждении государственной поверочной схемы для средств измерений коэффициента масштабного преобразования и угла фазового сдвига электрического напряжения переменного тока промышленной частоты в диапазоне от 0,1/^3 до 750/^3 кВ и средств измерений электрической емкости и тангенса угла потерь на напряжении переменного тока промышленной частоты в диапазоне от 1 до 500 кВ
ГОСТ 32144-2013 Электрическая энергия. Совместимость технических средств электромагнитная. Нормы качества электрической энергии в системах электроснабжения общего назначения
ГОСТ 30804.4.30-2013 Электрическая энергия. Совместимость технических средств электромагнитная. Методы измерений показателей качества электрической энергии
ТУ 4228 - 061 - 11821941 - 2013 Интеллектуальные приборы учета электроэнергии РиМ 384.01/2, РиМ 384.02/2, РиМ 384.03/2, РиМ 384.04/2. Технические условия
Правообладатель
Акционерное общество «Радио и Микроэлектроника»
(АО «РиМ»)
ИНН: 5408110390
Юридический адрес: 630082, г. Новосибирск, ул. Дачная, д. 60/1, офис 307
Телефон, факс: +7 (383) 219 53-13
Web-сайт: www.ao-rim.ru
E-mail: rim@zao-rim.ru
Изготовитель
Акционерное общество «Радио и Микроэлектроника»
(АО «РиМ»)
ИНН: 5408110390
Адрес: 630082, г. Новосибирск, ул. Дачная, д. 60/1, офис 307
Телефон, факс: +7 (383) 219 53-13
Web-сайт: www.ao-rim.ru
E-mail: rim@zao-rim.ru
Испытательный центрЗападно-Сибирский филиал Федерального государственного унитарного предприятия «Всероссийский научно-исследовательский институт физико-технических и радиотехнических измерений»
(Западно-Сибирский филиал ФГУП «ВНИИФТРИ»)
Адрес: 630004, Российская Федерация, г. Новосибирск, пр-кт Димитрова, д. 4
Телефон (факс): +7 (383) 210-08-14, +7 (383) 210-13-60
E-mail: director@sniim.ru
Аттестат аккредитации Западно-Сибирского филиала ФГУП «ВНИИФТРИ» по проведению испытаний средств измерений в целях утверждения типа № RA.RU.310556 от 14.01.2015 г.
УТВЕРЖДЕНО приказом Федерального агентства по техническому регулированию и метрологии
ОТ « 22 » февраля 2026 Г. №____170
Лист № 1 Регистрационный № 89922-23 Всего листов 9
ОПИСАНИЕ ТИПА СРЕДСТВА ИЗМЕРЕНИЙ
Счетчики-расходомеры массовые Метран-360М
Назначение средства измерений
Счетчики-расходомеры массовые Метран-360М (далее - расходомеры) предназначены для измерений массового расхода и массы жидкостей и газов, объемного расхода и объема жидкостей, плотности жидкостей, температуры жидкостей и газов.
Описание средства измерений
Принцип действия расходомеров при измерении массового расхода и массы, плотности основан на использовании силы Кориолиса, возникающей в трубках первичного измерительного преобразователя (далее - ПП) при прохождении через них измеряемой среды. Фазовые смещения между частотами колебаний противоположных частей трубок, вызванные силами Кориолиса, пропорциональны массовому расходу и массе измеряемой среды. Сопоставляя полученную в результате подстройки резонансную частоту колебаний со значениями резонансных частот, полученных при калибровке на средах с известной плотностью, расходомеры измеряют плотность измеряемой среды.
Объемный расход и объем жидкости определяются на базе измеренных значений массового расхода и массы, плотности жидкости.
Измерение температуры осуществляется термопреобразователем температуры, встроенным в ПП.
Расходомеры состоят из ПП и электронного преобразователя (далее - ЭП), который может быть интегральным и удаленным. ПП служит для измерений и преобразований массового расхода и массы, объемного расхода и объема, плотности и температуры измеряемой среды в электрический сигнал. ЭП обеспечивает обработку электрических сигналов ПП, отображение значений измеренных величин на дисплее и их преобразование в выходные сигналы.
ПП изготавливаются следующих моделей RU, RV, RE, RS, которые отличаются геометрией измерительных трубок.
ЭП изготавливаются следующих моделей T001, Т010, Т020, Т030, Т040, Т300, которые отличаются внешним видом, наличием дисплея и типом выходных сигналов.
Отсутствие движущихся частей в конструкции обеспечивает независимость результатов измерений расходомеров от наличия твердых частиц или иных примесей в измеряемой среде.
Отклонение температуры и давления компенсируется внесением соответствующих поправок.
Расходомеры обеспечивают двунаправленное измерение расхода без ухудшения характеристик.
Расходомеры изготавливаются в общепромышленном и взрывозащищённом исполнениях.
Заводской номер расходомеров, состоящий из арабских цифр, наносится методом, принятым на заводе-изготовителе, на маркировочные таблички, расположенные на ПП и ЭП.
Нанесение знака поверки на расходомеры не предусмотрено.
Пломбирование расходомеров не предусмотрено.
модель RV
модель RE

О
модель RS




модель RU
модель T001
Рисунок 1 - Общий вид Ш1 расходомеров

модель Т300
модели Т010, Т020
модель Т030
модель Т040
Рисунок 2 - Общий вид Э1 расходомеров
Рисунок 3 - Общий вид расходомеров
Рисунок 4 - Общий вид (схема) маркировочных табличек
Программное обеспечениеПрограммное обеспечение (далее - ПО) расходомеров является встроенным, неизменяемым и несчитываемым, устанавливается предприятием-изготовителем. Основными функциями ПО являются:
-
- вычисления параметров потока измеряемой среды;
-
- обработка измеряемой информации;
-
- индикация результатов измерений на дисплее;
-
- формирование выходных сигналов;
-
- настройка расходомеров;
-
- ведение архива измеренных значений.
Защита ПО расходомеров от несанкционированного доступа обеспечивается системой паролей.
Метрологические характеристики нормированы с учетом влияния ПО.
Уровень защиты ПО «высокий» в соответствии с Р 50.2.077-2014.
Таблица 1 - Идентификационные данные ПО
|
Идентификационные данные (признаки) |
Значение |
|
Идентификационное наименование ПО |
- |
|
Номер версии (идентификационный номер) ПО, не ниже |
1. Х* |
|
Цифровой идентификатор ПО |
- |
|
* «X» не относится к метрологически значимой части ПО и принимает значения от 0 до 9. | |
Метрологические и технические характеристики
Таблица 2 - Метрологические характеристики
|
Наименование характеристики |
Значение |
|
Диапазон измерений массового расхода жидкости1^ кг/ч |
от 1,2 до 1800000,0 |
|
Диапазон измерений массового расхода газа, кг/ч |
см. примечание 1 |
|
Диапазон измерений объемного расхода жидкости, м3/ч |
см. примечание 2 |
|
Пределы допускаемой относительной погрешности измерений5), %: |
±0,13); ±0,153); ±0,2; |
|
- массового расхода и массы жидкости, 5Мж 1)1 2) | |
|
±0,25; ±0,35; ±0,5 | |
|
- массового расхода и массы газа, 5Мг 1)2) |
±0,5; ±0,55; ±0,75; ±1,0 |
|
- объемного расхода и объема жидкости, 6V,. |
см. примечание 3 |
|
Диапазон измерений плотности жидкости4), кг/м3 |
от 650 до 2000 |
|
Пределы допускаемой абсолютной погрешности измерений плотности жидкости^ 6), кг/м3 |
±0,3; ±0,5; ±1; ±2 |
|
Диапазон измерений температуры измеряемой среды1), °С |
от -196 до +350 |
|
Пределы допускаемой абсолютной погрешности измерения |
±(1 + 0,5 % от |1изм|), |
|
температуры измеряемой среды, °С |
где ^зм - измеренное |
|
значение температуры, °С | |
|
Пределы допускаемой приведенной погрешности воспроизведения токового сигнала от 4 до 20 мА, % от диапазона измерений: | |
|
- основной |
±0,05 |
|
- дополнительной, вызванной изменением температуры | |
|
окружающей среды от температуры (23±10) °С на каждый 1 °С, |
±0,002 |
| |
|
Qm - Qt, | |
|
где Qt - значение переходного расхода, кг/ч, рассчитываемое по формуле | |
|
ZS | |
|
Qt = 5- • 100, 50 |
(1) |
|
где ZS - значение стабильности нуля в соответствии |
с эксплуатационными |
|
документами, кг/ч; | |
|
50 - пределы допускаемой относительной погрешности при массовом расходе | |
|
QM - Qt. | |
|
При массовом расходе QM<Qt пределы допускаемой относительной погрешности 5, %, | |
|
рассчитываются по формуле | |
|
ZS | |
|
5 = ±— • 100, Qm |
(2) |
|
где QM - измеряемое значение массового расхода, кг/ч. | |
Продолжение таблицы 2
-
3) При поверке расходомеров с пределами допускаемой относительной погрешности измерений массового расхода и массы жидкости ±0,1 % и ±0,15 % в рабочих условиях на месте эксплуатации с применением трубопоршневой поверочной установки, компакт-прувера или поверочной установки на базе эталонных расходомеров массовых, пределы допускаемой относительной погрешности расходомеров составляют ±0,2 % или ±0,25 %;
-
4) Диапазон показаний плотности от 0 до 3000 кг/м3;
-
5) После имитационной поверки к значению относительной погрешности измерения массового расхода и массы добавить 0,3 %
-
6) После имитационной поверки абсолютная погрешность измерения плотности составляет ±10 кг/м3.
Примечания:
-
1.Верхний QMrmax, кг/ч, и нижний Qurmin, кг/ч, пределы диапазона измерений массового расхода газа рассчитываются по формулам:
QMrmax = 0,3 ' рг ' c ' Af, (3)
QMrmin = Z4-1O0, (4)
где Рг - плотность газа при рабочих условиях, кг/м3;
с - скорость звука в газе при рабочих условиях, м/ч;
Af - площадь сечения трубок в соответствии с эксплуатационными документами, м2.
-
2. Верхний QVmax , м3/ч, и нижний QVmin , м3/ч, пределы диапазона измерений объемного расхода жидкости рассчитываются по формулам:
Vmax
Vmin
QMmax
QMmin
Р
(5)
(6)
где QMmax - верхний предел диапазона измерений массового расхода жидкости, кг/ч;
QMmin - нижний предел диапазона измерений массового расхода жидкости, кг/ч; р - измеренное значение плотности жидкости, кг/м3.
-
3. Пределы допускаемой относительной погрешности измерений объемного расхода и объема жидкости 6\'ж. %, рассчитываются по формуле
где
6МЖ
= ±JoM.J2 + (Др • 100) ,
(7)
пределы допускаемой относительной погрешности измерений массового расхода и массы жидкости, %;
пределы допускаемой абсолютной погрешности измерений плотности жидкости, кг/м3.
4. При использовании токового выхода погрешность арифметически суммируется с погрешностью измерений физической величины.
При суммировании приведенная погрешность токового выходного сигнала должна быть переведена к относительной погрешности,
D*y
-DT%
где D- диапазон измерений;
Др
(8)
Y - приведенная погрешность токового выходного сигнала;
X - измеряемое значение.
5. Основная и дополнительная погрешности воспроизведения токового сигнала от 4 до 20 мА суммируются арифметически.
Таблица 3 - Основные технические характеристики
|
Наименование характеристики |
Значение |
|
Выходные сигналы в зависимости от исполнения | |
|
- токовый, мА; |
от 4 до 20 |
|
- частотно-импульсный, Гц; |
от 0 до 12500 |
|
- цифровые; |
HART, Modbus RS-485, Foundation Fieldbus, Profibus, Ethernet/IP, Modbus TCP, PROFINET, LoraWan |
|
- дискретный, В. |
до 30 |
|
Параметры электрического питания в зависимости от исполнения: | |
|
- напряжение постоянного тока, В |
от 18 до 36 |
|
- напряжение переменного тока, В |
от 85 до 265 |
|
- частота переменного тока, Гц |
от 50 до 60 |
|
Параметры измеряемой среды1): | |
|
- избыточное давление, МПа, не более |
41,4 |
|
- температура, °С |
от -196 до +350 |
|
Габаритные размеры, мм, не более: | |
|
- длина |
1576 |
|
- ширина (без учета фланцев) |
324 |
|
- высота |
1748 |
|
Масса, кг, не более2): |
550 |
|
Условия эксплуатации1^ | |
|
- температура окружающей среды в месте |
от -60 до +80 в зависимости от |
|
установки ПП, °С |
исполнения |
|
- температура окружающей среды в месте |
от -60 до +70 в зависимости от |
|
установки ЭП, °С |
исполнения |
|
- атмосферное давление, кПа |
от 84 до 106,7 |
|
Маркировка взрывозащиты3) |
1Ex db ia [ia Ga] IIC T6.. ,T1 Gb X, Ex tb ia [ia Da] HIC T80oC..,T450OC Db X, 1Ex db [ia Ga] IIC T6 Gb X, Ex tb [ia Da] H C T80C Db X, 0Ex ia I C T6...T1 Ga X, Ex tb NIC T80OC...T450OC Db X |
|
Степень защиты от внешних воздействий |
IP66/IP67 |
|
1) Фактические значения указываются в паспорте расходомера. | |
|
2) Масса указана с приварными встык фланцами. | |
|
3) Не относится к модификации Т040. | |
Таблица 4 - Показатели надежности
|
Наименование характеристики |
Значение |
|
Средний срок службы, лет |
20 |
|
Средняя наработка на отказ, ч, не менее |
150000 |
Лист № 7
Всего листов 9
Знак утверждения типананосится на маркировочные таблички методом, принятым на предприятии-изготовителе, и на титульные листы паспорта и руководства по эксплуатации типографским способом.
Комплектность средства измеренийТаблица 5 - Комплектность
|
Наименование |
Обозначение |
Количество шт./экз. |
|
Счетчик-расходомер массовый |
Метран-360М |
1 |
|
Паспорт |
13.5368.000.00 ПС |
1 |
|
Руководство по эксплуатации |
13.5368.000.00 РЭ |
1 на 10 штук и меньшее количество при поставке в один адрес |
приведены в разделе 1 «Описание и работа» руководства по эксплуатации 13.5368.000.00 РЭ.
Нормативные документы, устанавливающие требования к средству измерений
Приказ Росстандарта от 26 сентября 2022 г. № 2356 «Об утверждении Государственной поверочной схемы для средств измерений массы и объема жидкости в потоке, объема жидкости и вместимости при статических измерениях, массового и объемного расходов жидкости»
Приказ Росстандарта от 11 мая 2022 г. № 1133 «Об утверждении Государственной поверочной схемы для средств измерений объемного и массового расходов газа»
Приказ Росстандарта от 1 ноября 2019 г. № 2603 «Об утверждении Государственной поверочной схемы для средств измерений плотности»
Приказ Росстандарта от 19.11.2024 № 2712«Об утверждении Государственной поверочной схемы для средств измерений температуры»
ТУ 4213-102-51453097-2022 Счетчики-расходомеры массовые Метран-360М.
Технические условия.
ПравообладательАкционерное общество «Промышленная группа «Метран»
(АО «ПГ «Метран»)
ИНН 7448024720
Юридический адрес: 454103, обл. Челябинская, г.о. Челябинский, вн. р-н центральный,
г. Челябинск, пр-кт. Новоградский, д. 15
ИзготовительАкционерное общество «Промышленная группа «Метран»
(АО «ПГ «Метран»)
ИНН 7448024720
Адрес: 454103, Челябинская обл., г.о. Челябинский, вн. р-н центральный, г. Челябинск, пр-кт. Новоградский, д. 15
Испытательный центрОбщество с ограниченной ответственностью «ПРОММАШ ТЕСТ»
(ООО «ПРОММАШ ТЕСТ»)
Юридический адрес: 119415, г. Москва, пр-кт Вернадского, д. 41, стр. 1, эт. 4, помещ. I, ком. 28
Уникальный номер записи в реестре аккредитованных лиц № RA.RU.312126
С привлечением
Общество с ограниченнойответственностью «ПРОММАШ ТЕСТ Метрология»
(ООО «ПРОММАШ ТЕСТ Метрология»)
Юридический адрес: 119415, г. Москва, пр-кт Вернадского, д. 41, стр. 1, помещ. 263 Уникальный номер записи в реестре аккредитованных лиц № RA.RU.314164
В части вносимых изменений
Федеральное бюджетное учреждение «Научно-исследовательский центр прикладной метрологии - Ростест»
(ФБУ «НИЦ ПМ - Ростест»)
Юридический адрес: 117418, г. Москва, Нахимовский пр-кт, д. 31
Адрес места осуществления деятельности: 119361, г. Москва, ул. Озерная, д. 46 Телефон: +7 (495) 544-00-00
Web-сайт: http://www.rostest.ru
E-mail: info@rostest.ru
Уникальный номер записи в реестре аккредитованных лиц № 30004-13
УТВЕРЖДЕНО приказом Федерального агентства по техническому регулированию и метрологии от « 02 » февр_^я 2026 г. № 1 70Лист № 1 Регистрационный № 94012-24 Всего листов 9
ОПИСАНИЕ ТИПА СРЕДСТВА ИЗМЕРЕНИЙ
Преобразователи температуры измерительные 909Назначение средства измерения
Преобразователи температуры измерительные 909 (далее по тексту - ПИ или преобразователи) предназначены для измерений и преобразования сигналов первичных измерительных преобразователей (термопреобразователей сопротивления, преобразователей термоэлектрических и устройств, имеющих на выходе сигналы в виде изменения электрического сопротивления и электрического напряжения постоянного тока) в унифицированный электрический выходной сигнал постоянного тока от 4 до 20 мА, а так же в цифровые сигналы коммуникационных протоколов HART, Foundation Fieldbus.
Описание средства измерений
Принцип действия ПИ основан на измерении и преобразовании сигнала первичного измерительного преобразователя в унифицированный выходной сигнал электрического постоянного тока от 4 до 20 мА с наложенным на него цифровым частотно-модулированным сигналом в стандарте протокола HART или в полностью цифровые сигналы Foundation Fieldbus.
ПИ конструктивно выполнены в корпусе с расположенными на нем клеммами для подачи напряжения питания, подключения входного и выходного сигналов. Преобразователи выполнены на основе микропроцессора и обеспечивают аналого-цифровое преобразование сигнала первичного измерительного преобразователя, обработку результатов измерений и их передачу по цифровым интерфейсам и/или по стандартному выходному сигналу от 4 до 20 мА.
Корпус ПИ выпускается в исполнениях с дисплеем и без дисплея.
ПИ могут работать с термопреобразователями сопротивления и термоэлектрическими преобразователями, номинальные статические характеристики преобразования (НСХ) которых указаны в таблице 3, а также с преобразователями, имеющими на выходе сигналы в виде изменения электрического сопротивления или электрического напряжения постоянного тока. Настройку ПИ (тип входного сигнала, диапазон измерений, схему подключения и т.д.) можно изменять, используя полевой коммуникатор или HART-модем и компьютер с необходимым программным обеспечением (для ПИ с цифровыми сигналами Foundation fieldbus необходимо дополнительное оборудование).
ПИ имеют два исполнения в зависимости от типа программного обеспечения: 909ххххЕМ и 909ххххPR. Схема составления условного обозначения ПИ в зависимости от исполнения (код заказа) приведена в таблице 1. Символы «х» у исполнений 909ххххЕМ и 909ххххPR соответствуют позициям 2-5 Таблицы 1.
аблица 1 - Расшифровка структуры условного обозначения ПИ
|
909 | |||
|
1 2 3 4 5 6 | |||
|
Позиция |
Описание позиции |
Код |
Описание кода |
|
1 |
909 |
Преобразователи температуры измерительные | |
|
2 |
Конструктивные особенности корпусных и монтажных элементов |
LN |
Алюминиевый корпус с резьбовым соединением 12-14 NPT |
|
LM |
Алюминиевый корпус с резьбовым соединением M20*1.5 | ||
|
LP |
Алюминиевый корпус с резьбовым соединением PG 13.5 | ||
|
LG |
Алюминиевый корпус с резьбовым соединением JIS G12 | ||
|
BN |
Корпус из нержавеющей стали с резьбовым соединением 12-14 NPT | ||
|
BW |
Корпус из нержавеющей стали с резьбовым соединением M20* 1.5 | ||
|
BP |
Корпус из нержавеющей стали с резьбовым соединением PG 13.5 | ||
|
BG |
Корпус из нержавеющей стали с резьбовым соединением JIS G12 | ||
|
3 |
Тип выходного сигнала |
S |
4-20 мА, цифровой сигнал на основе протокола HART |
|
F |
Цифровой сигнал по протоколу FOUNDATION Fieldbus | ||
|
4 |
Конфигурация измерений |
1 |
Одноканальный |
|
2 |
Двухканальный | ||
|
5 |
Сертификация про дукции |
NA |
Не сертифицирован |
|
E5 |
Сертификат взрывозащиты FM, пылевозгорае-мости и невоспламеняемости | ||
|
I5 |
Сертификация на искробезопасность и невоспламеняемость FM (для устройства полевой шины, включая стандарты IS и FISCO) | ||
|
K5 |
Сертификация на искробезопасность, невоспламеняемость и взрывозащищенность FM (для устройств полевой шины, включая стандартные IS и FISCO) | ||
|
14 |
Сертификация на искробезопасность ATEX (для устройства полевой шины, включая стандарты IS и FISCO) | ||
|
K4 |
Сертификация на искробезопасность, огнестойкость, защита от воспламенения пыли и комбинация типа n (для устройств полевой шины, включая стандартные IS и FISCO) по ATEX | ||
|
E |
Сертификация искробезопасности EAC | ||
|
909 | |||
|
1 2 3 4 5 6 | |||
|
6 |
Программное обеспечение |
EM |
3144FF HORNET.BIN; 3144 rel.d90 |
|
PR |
5437 | ||
Общий вид исполнений преобразователей с указанием места нанесения заводского номера представлен на рисунке 1.
Заводской номер в виде буквенно-цифрового кода, состоящего из арабских цифр и букв латинского алфавита, наносится на боковую часть корпуса ПИ при помощи наклейки или металлической информационной таблички.

Рисунок 1 - Общий вид преобразователей температуры измерительных 909
Пломбирование ПИ не предусмотрено.
Нанесение знака поверки на ПИ не предусмотрено
Программное обеспечение
Программное обеспечение (далее - ПО) преобразователей состоит только из метрологически значимого встроенного ПО, устанавливаемого в энергонезависимую память преобразователей при их изготовлении. Данное ПО не может быть модифицировано или загружено через какой-либо интерфейс. Уровень защиты ПО от преднамеренного и непреднамеренного доступа соответствует уровню «высокий» в соответствии с рекомендацией по метрологии Р 50.2.077-2014: программное обеспечение защищено от преднамеренных изменений с помощью специальных программных средств.
Идентификационные данные внутреннего ПО приведены в таблицах 2-4.
Таблица 2 - Идентификационные данные преобразователей 909 исполнений 909ххххЕМ с интерфейсом Fieldbus____________________________________________________________________
|
Идентификационные данные (признаки) |
Значение |
|
Идентификационное наименование ПО |
3144FF HORNET.BIN |
|
Номер версии (идентификационный номер) ПО, не ниже |
2.03.002 |
|
Цифровой идентификатор ПО |
отсутствует |
Таблица 3 - Идентификационные данные преобразователей 909 исполнений 909ххххЕМ с интерфейсом HART__________________________________________________________
|
Идентификационные данные (признаки) |
Значение |
|
Идентификационное наименование ПО |
3144 rel.d90 |
|
Номер версии (идентификационный номер) ПО, не ниже |
2 |
|
Цифровой идентификатор ПО |
отсутствует |
Таблица 4 - Идентификационные данные преобразователей 909 исполнение 909xxxxPR
|
Идентификационные данные (признаки) |
Значение |
|
Идентификационное наименование ПО |
5437 |
|
Номер версии (идентификационный номер) ПО, не ниже |
21 |
|
Цифровой идентификатор ПО |
отсутствует |
Метрологические и технические характеристики ПИ приведены в таблицах 5-7.
Таблица 5 - Метрологические характеристики ________________________________
|
Наименование характеристики |
Значение (в зависимости от типа НСХ) |
|
Диапазон измерений температуры6-*, °C (в зависимости от типа сигналов) 1. Термопреобразователи сопротивления с НСХ по ГОСТ 6651-2009 | |
|
Pt100 (а=0,00385) |
от -200 до +850 |
|
Pt200 (а =0,00385) |
от -200 до +850 |
|
Pt500 (а =0,00385) |
от -200 до +850 |
|
Pt1000 (а =0,00385) |
от -200 до +300 |
|
Pt50 (а =0,00391) (50П) |
от -200 до +550 |
|
Pt100 (а =0,00391) (100П) |
от -200 до +550 |
|
Cu50 (а =0,00426) |
от -50 до +200 |
|
Cu100 (а =0,00426) |
от -50 до +200 |
|
Cu10 (а =0,00428)(10М) |
от -180 до +200 |
|
Cu50 (а =0,00428)(50М) |
от -180 до +200 |
|
Cu100 (а =0,00428)(100М) |
от -180 до +200 |
|
Ni120 (а =0,00617)(120Н) |
от -60 до +180 |
|
2. Преобразователи термоэлектрические с НСХ по ГОСТ Р 8.585-2001: | |
|
B |
от +100 до +1820 |
|
E |
от -200 до +1000 |
|
J |
от -180 до +760 |
|
K |
от -180 до +1372 |
|
N |
от -200 до +1300 |
|
R |
от 0 до +1768 |
|
S |
от 0 до +1768 |
|
T |
от -200 до +400 |
|
L |
от -200 до +800 |
|
Диапазон измерений напряжения постоянного тока, мВ |
от -10 до +100 |
|
Наименование характеристики |
Значение (в зависимости от типа НСХ) |
|
Диапазон измерений электрического сопротивления постоянному току, Ом |
от 0 до 2000 |
|
Пределы допускаемой основной абсолютной погрешности измерений и преобразования в температуру сигналов от, °С1) 1. Термопреобразователей сопротивления с НСХ | |
|
Pt100 (а=0,00385) |
±0,10 |
|
Pt200 (а =0,00385) |
±0,22 |
|
Pt500 (а =0,00385) |
±0,14 |
|
Pt1000 (а =0,00385) |
±0,10 |
|
Pt50 (а =0,00391) (50П) |
±0,20 |
|
Pt100 (а =0,00391) (100П) |
±0,10 |
|
Cu50 (а =0,00426) |
±0,34 |
|
Cu100 (а =0,00426) |
±0,17 |
|
Cu10 (а =0,00428) (10М) |
±1,00 |
|
Cu50 (а =0,00428) (50М) |
±0,34 |
|
Cu100 (а =0,00428) (100М) |
±0,17 |
|
Ni120 (а =0,00617) (120Н) |
±0,08 |
|
2. Преобразователей термоэлектрических с НСХ2) | |
|
B |
±3,00 (от +100 °С до +300 °С включ.); ±0,77 (св. +300 °С до +1820 °С) |
|
E |
±0,20 |
|
J |
±0,25 |
|
K |
±0,50 (от -180 °С до -90 °С включ.); ±0,25 (св. -90 °С до +1372 °С) |
|
N |
±0,40 |
|
R |
±0,60 |
|
S |
±0,50 |
|
T |
±0,25 |
|
L |
±0,25 |
|
Пределы допускаемой основной абсолютной погрешности измерений напряжения постоянного тока, мВ |
±0,03 |
|
Пределы допускаемой основной абсолютной погрешности измерений электрического сопротивления постоянному току, Ом |
±0,6 |
|
Температура окружающей среды, °С |
от -60 до +60 3) |
|
Пределы дополнительной абсолютной погрешности измерений и преобразования в температуру, вызванная влиянием температуры окружающей среды в рабочем диапазоне температур на каждый 1 °С сигналов от, °C4)5) 1. Термопреобразователей сопротивления с НСХ: | |
|
Pt100 (а=0,00385) |
±0,0015 |
|
Pt200 (а =0,00385) |
±0,0023 |
|
Pt500 (а =0,00385) |
±0,0015 |
|
Pt1000 (а =0,00385) |
±0,0015 |
|
Pt50 (а =0,00391) (50П) |
±0,0030 |
|
Наименование характеристики |
Значение (в зависимости от типа НСХ) |
|
Pt100 (а =0,00391) (100П) |
±0,0015 |
|
Cu50 (а =0,00426) |
±0,0030 |
|
Cu100 (а =0,00426) |
±0,0015 |
|
Cu10 (а =0,00428)(10М) |
±0,0015 |
|
Cu50 (а =0,00428)(50М) |
±0,0030 |
|
Cu100 (а =0,00428)(100М) |
±0,0015 |
|
Ni120 (а =0,00617)(120Н) |
±0,0010 |
|
2. Преобразователей термоэлектрических с НСХ | |
|
B |
±0,014 (t > +1000°C) |
|
±[O,O29-(0,000021-(t-3OO))] (300 °C< t < 1000 °C) | |
|
±[0,046-(0,000086-(t-100))l при (100 °C< t < 300 °C) | |
|
E |
±[0,004+(0,00000431)] |
|
J |
±[0,004+(0,00000291)] (t > 0 °C) |
|
±[O,OO4+(O,OOO02-|t|)] (t < 0 °C) | |
|
K |
±[0,005+(0,00000541)] (t > 0 °C) |
|
±[0,005+(0,000020^|t|)] (t < 0 °C) | |
|
N |
±[0,005+(0,0000036jt|)] |
|
R |
±0,015 (t > 200 °C) |
|
±[O,O21-(O,OOO032-t)] (t < 200 °C) | |
|
S |
±0,015 (t > 200 °C) |
|
±[O,O21-(O,OOO032-t)] (t < 200 °C) | |
|
T |
±0,005 (t > 0 °C) |
|
±[0,005-(0,000036-|t|)] (t < 0 °C) | |
|
L |
±0,005 (t > 0 °C) |
|
±[0,005-(0,00003-|t|)] (t < 0 °C) | |
|
Пределы допускаемой дополнительной абсолютной погрешности измерений напряжения постоянного тока, вызванная влиянием температуры окружающей среды в рабочем диапазоне температур на каждый 1 °С, мВ4)5) |
±0,00025 |
|
Пределы допускаемой дополнительной абсолютной погрешности измерений электрического сопротивления постоянному току, вызванная влиянием температуры окружающей среды в рабочем диапазоне температур на каждый 1 °С, Ом4)5) |
±0,007 |
|
1) - Основная абсолютная погрешность ПИ с выходным сигналом от 4 до 20 мА равна сумме основной абсолютной погрешности измерений и преобразования в температуру сигналов измерительных преобразователей и основной приведенной погрешности преобразования цифрового сигнала в унифицированный электрический выходной сигнал постоянного тока. | |
|
Наименование характеристики |
Значение (в зависимости от типа НСХ) |
|
Основная приведенная погрешность преобразования цифрового сигнала в унифицированный электрический выходной сигнал постоянного тока равна: - ±0,02 % от настроенного диапазона измерения преобразователя.
Дополнительная приведенная погрешность преобразования цифрового сигнала в унифицированный электрический выходной сигнал постоянного тока равна ±0,001 % от настроенного диапазона измерений преобразователя.
Примечание: t - значение измеряемой температуры, °С. | |
Таблица 6 - Технические характеристики
|
Наименование характеристики |
Значение |
|
Выходной сигнал |
от 4 до 20 мА, HART, Foundation Fieldbus |
|
Напряжение питания, В
|
от 12,0 до 42,4 от 9,0 до 32,0 |
|
Габаритные размеры корпуса, ширинахвысотахдлина, мм, не более |
153х153х155 |
|
Масса, кг, не более |
4,2 |
|
Рабочие условия эксплуатации:
|
от -60 до +60 от -40 до +60 99 |
|
Маркировка взрывозащиты |
1Ex db IIC T6...T1 Gb Х 0Ex 1а IIC T6...T1 Gа X Ex tb IIIC T85°C Db X |
|
1) - В диапазоне температуры эксплуатации от -40 до -20 °С не включ. считывание результатов измерений осуществляется через унифицированный аналоговый сигнал или цифровые сигналы | |
Таблица 7 - Показатели надежности
|
Наименование характеристики |
Значение |
|
Средний срок службы, лет, не менее |
10 |
|
Средняя наработка до отказа, ч, не менее |
100000 |
наносится на титульный лист паспорта типографским способом.
Комплектность средства измерений
Таблица 8 - Комплектность ПИ
|
Наименование |
Обозначение |
Кол-во |
Примечание |
|
Преобразователь температуры измерительный |
909 |
1 шт. |
Исполнение в соответствии с заказом |
|
Паспорт |
- |
1 экз. |
- |
Сведения о методиках (методах) измерений приведены в разделе 5 «Использование по назначению» Паспорта.
Нормативные документы, устанавливающие требования к средству измерений
Приказ Росстандарта от 30 декабря 2019г. № 3456 «Об утверждении государственной поверочной схемы для средств измерений электрического сопротивления постоянного и переменного тока»
Приказ Росстандарта от 28.07.2023 г. № 1520 «Об утверждении государственной поверочной схемы для средств измерений постоянного электрического напряжения и электродвижущей силы»
Приказ Федерального агентства по техническому регулированию и метрологии от 01.10.2018 г. № 2091 «Об утверждении государственной поверочной схемы для средств измерений силы постоянного электрического тока в диапазоне от 1*10-16 до 100 А»
Стандарт предприятия фирмы «Shanghai Jingpu Mechanical&Electrical Technology Co., Ltd», Китай
Правообладатель
Фирма «Shanghai Jingpu Mechanical&Electrical Technology Co., Ltd», Китай
Адрес: No.1508, Jinshao Road, Baoshan District, Shanghai, P.R.China
Телефон/факс: (021) 56618282
E-mail: jpinfo@jingpu.com
Web-сайт: www.jingpu.com
Изготовитель
Фирма «Shanghai Jingpu Mechanical&Electrical Technology Co., Ltd», Китай
Адрес: No.1508, Jinshao Road, Baoshan District, Shanghai, P.R.China
Телефон/факс: (021) 56618282
E-mail: jpinfo@jingpu.com
Web-сайт: www.jingpu.com
Испытательный центрФедеральное бюджетное учреждение «Научно-исследовательский центр прикладной метрологии - Ростест»
(ФБУ «НИЦ ПМ - Ростест»)
Юридический адрес: 117418, г. Москва, Нахимовский пр-кт, д. 31 Адрес места осуществления деятельности: 119361, г. Москва, ул. Озерная, д. 46 Телефон: +7 (495) 544-00-00
Web-сайт: www.rostest.ru
E-mail: info@rostest.ru Уникальный номер записи в реестре аккредитованных лиц № 30004-13

