Номер по Госреестру СИ: 87390-22
87390-22 Установка поверочная трубопоршневая
(Сапфир МН-500-6,3-0,05)
Назначение средства измерений:
Установка поверочная трубопоршневая Сапфир МН-500-6,3-0,05 (далее - ТПУ) предназначена для измерений, воспроизведения, хранения и передачи единицы объема жидкости в потоке в качестве рабочего эталона при проведении исследований, испытаний, поверки и калибровки средств измерений объема жидкости в потоке и/или объемного расхода жидкости.

Внешний вид.
Установка поверочная трубопоршневая
Рисунок № 1

Внешний вид.
Установка поверочная трубопоршневая
Рисунок № 2

Внешний вид.
Установка поверочная трубопоршневая
Рисунок № 3

Внешний вид.
Установка поверочная трубопоршневая
Рисунок № 4
Знак утверждения типа
Знак утверждения типананосится на маркировочную табличку, закрепленную на корпусе ТПУ, методом лазерной гравировки, а также по центру титульного листа руководства по эксплуатации и паспорта типографским способом.
Сведения о методиках измерений
Сведения о методиках (методах) измерений
приведены в разделе «Устройство и работа» документа «Установки поверочные трубопоршневые Сапфир МН. Руководство по эксплуатации. ТПУ.00.00.000 РЭ».
Нормативные и технические документы
Нормативные документы, устанавливающие требования к средству измеренийПриказ Федерального агентства по техническому регулированию и метрологии от 7 февраля 2018 г. № 256 «Об утверждении Государственной поверочной схемы для средств измерения массы и объема жидкости в потоке, объема жидкости и вместимости при статических измерениях, массового и объемного расходов жидкости».
ПравообладательОбщество с ограниченной ответственностью «Системнефтегаз» (ООО «СНГ») ИНН 0265033883
Адрес: 452601, Республика Башкортостан, г. Октябрьский, пр-д Островского, д. 10а
Телефон: +7 (34767) 3-43-60
Испытательный центр
Всероссийский научно-исследовательский институт расходометрии - филиал Федерального государственного унитарного предприятия «Всероссийский научно-исследовательский институт метрологии им. Д.И.Менделеева» (ВНИИР - филиал ФГУП «ВНИИМ им. Д.И.Менделеева»)ИНН 7809022120
Юридический адрес: 190005, г. Санкт-Петербург, Московский пр., д. 19
Фактический адрес: 420088, Республика Татарстан, г. Казань, ул. 2-я Азинская, д. 7 «а»
Телефон: +7(843) 272-70-62, факс: +7(843) 272-00-32
Web-сайт: www.vniir.org
E-mail: office@vniir.org
Принцип действия ТПУ заключается в повторяющемся вытеснении известного объема жидкости из цилиндрического калиброванного участка шаровым поршнем, совершающим движение под действием потока жидкости.
ТПУ состоит из цилиндрического калиброванного участка, шарового поршня, сигнализаторов (детекторов) прохода, крана-манипулятора, камеры загрузки-выгрузки шарового поршня. Калиброванный участок ТПУ начинается от первого по потоку сигнализатора (детектора) и заканчивается вторым по потоку сигнализатором (детектором).
Тип исполнения ТПУ - передвижная (мобильная).
При работе ТПУ и средство измерений соединяют последовательно. Через технологическую схему ТПУ и средство измерений устанавливают необходимое значение расхода жидкости. Поток жидкости, проходящий через ТПУ, увлекает шаровой поршень, который перемещается по цилиндрическому калиброванному участку. При воздействии шарового поршня на сигнализатор (детектор) прохода происходит коммутация цепей управления цифрового вычислителя, на вход которого подаются выходные сигналы от датчика импульсов поверяемого средства измерений. По сигналу первого сигнализатора (детектора) счет импульсов начинается, а по сигналу второго сигнализатора (детектора) -прекращается. Накопленное в вычислителе число импульсов соответствует объему жидкости, прошедшему через средство измерений, который равен объему калиброванного участка ТПУ.
Общий вид ТПУ представлен на рисунке 1.
Рисунок 1 - Общий вид ТПУ
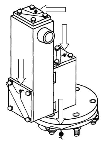
Пломбировка ТПУ осуществляется нанесением знака поверки давлением на свинцовые (пластмассовые) пломбы, установленные на контровочных проволоках, пропущенных через отверстия в шпильках, расположенных на диаметрально противоположных фланцах, по всей длине цилиндрического калиброванного участка и на контровочных проволоках, пропущенных через отверстия завернутых винтов клеммной коробки сигнализаторов (детекторов).
Схема пломбировки от несанкционированного доступа и обозначение места нанесения знака поверки представлены на рисунках 2 и 3.
1 - гайка; 2 - шайба; 3 - шпилька; 4 - проволока; 5 - пломба.
Рисунок 2 - Схема пломбирования от несанкционированного доступа, обозначение места нанесения знаков поверки на фланцевые соединения калиброванного участка ТПУ
Рисунок 3 - Схема пломбирования от несанкционированного доступа, обозначение места нанесения знаков поверки на сигнализаторы (детекторы) ТПУ
Заводской номер в цифровом виде наносится на маркировочную табличку, закрепленную на корпусе ТПУ, методом лазерной гравировки. Обозначения мест нанесения знака утверждения типа и заводского номера представлены на рисунке 4.
]
Рисунок 4 - Обозначения мест нанесения знака утверждения типа и заводского номера.
Место нанесения знака утверждения типа
Лист № 4 Всего листов 6
Таблица 1 - Метрологические характеристики
|
Наименование характеристики |
Значение |
|
Диапазон объемного расхода жидкости, м3/ч |
от 40 до 500 |
|
Пределы допускаемой относительной погрешности (доверительные границы суммарной погрешности) при измерении (воспроизведении единицы) объема жидкости (вместимости) в потоке при температуре 20 °С и избыточном давлении 0 МПа, % |
±0,05 |
Таблица 2 - Основные технические характеристики
|
Наименование характеристики |
Значение |
|
Диапазон объема жидкости (вместимости) в потоке при температуре 20 °С и избыточном давлении 0 МПа, м3 1) |
от 2,375 до 2,625 |
|
Измеряемая среда |
жидкость (нефть по ГОСТ Р 51858-2002, нефть сырая, нефтепродукты, газовый конденсат, жидкие углеводороды) |
|
Температура, °С |
от +5 до +90 |
|
Избыточное давление, МПа, не более |
6,3 |
|
Плотность измеряемой среды, кг/м3 |
от 800 до 1200 |
|
Вязкость кинематическая, сСт |
от 0,55 до 150 |
|
Наличие свободного воздуха |
не допускается |
|
Габаритные размеры, мм, не более:
|
7000 2250 2700 |
|
Масса, кг, не более |
9700 |
|
Условия эксплуатации:
|
от -45 до +50 80 от 84 до 107 |
|
Средний срок службы, лет Средняя наработка на отказ, ч |
8 3000 |
|
1) определяется при поверке ТПУ | |

