Номер по Госреестру СИ: 85172-22
85172-22 Система измерений количества и показателей качества нефти № 449. Резервная схема учета
( )
Назначение средства измерений:
Система измерений количества и показателей качества нефти № 449. Резервная схема учета (далее - РСИКН) предназначена для автоматизированных измерений массы и объемного расхода нефти.

Внешний вид.
Система измерений количества и показателей качества нефти № 449. Резервная схема учета
Рисунок № 1
Программное обеспечение
РСИКН имеет программное обеспечение (далее - ПО), реализованное в ИВК и АРМ оператора.
ПО АРМ оператора не содержит метрологически значимой части.
Защита ПО РСИКН от непреднамеренных и преднамеренных изменений и обеспечение его соответствия утвержденному типу осуществляется путем идентификации, защиты от несанкционированного доступа.
ПО РСИКН защищено от несанкционированного доступа, изменения алгоритмов и установленных параметров системой идентификации пользователя.
Уровень защиты ПО «высокий» в соответствии с Р 50.2.077-2014.
Таблица 1 - Идентификационные данные ПО РСИКН
|
Идентификационные данные (признаки) |
Значение |
|
Идентификационное наименование ПО |
Anal ogC onverter. app |
|
Номер версии (идентификационный номер) ПО |
1.2.2.1 |
|
Цифровой идентификатор ПО (CRC32) |
d1d130e5 |
|
Идентификационное наименование ПО |
SIKNCalc.app |
|
Номер версии (идентификационный номер) ПО |
1.2.2.1 |
|
Цифровой идентификатор ПО (CRC32) |
6ae1b72f |
|
Идентификационное наименование ПО |
Sarasota.app |
|
Номер версии (идентификационный номер) ПО |
1.1.1.18 |
|
Цифровой идентификатор ПО (CRC32) |
1994df0b |
|
Идентификационное наименование ПО |
PP 78xx.app |
|
Номер версии (идентификационный номер) ПО |
1.1.1.20 |
|
Цифровой идентификатор ПО (CRC32) |
6aa13875 |
|
Идентификационные данные (признаки) |
Значение |
|
Идентификационное наименование ПО |
MI1974.app |
|
Номер версии (идентификационный номер) ПО |
1.6.1.11 |
|
Цифровой идентификатор ПО (CRC32) |
4bc442dc |
|
Идентификационное наименование ПО |
MI3233.app |
|
Номер версии (идентификационный номер) ПО |
1.1.1.28 |
|
Цифровой идентификатор ПО (CRC32) |
58049d20 |
|
Идентификационное наименование ПО |
MI3265.app |
|
Номер версии (идентификационный номер) ПО |
1.6.1.3 |
|
Цифровой идентификатор ПО (CRC32) |
29c26fcf |
|
Идентификационное наименование ПО |
MI3266.app |
|
Номер версии (идентификационный номер) ПО |
1.6.1.6 |
|
Цифровой идентификатор ПО (CRC32) |
4c134dd0 |
|
Идентификационное наименование ПО |
MI3267.app |
|
Номер версии (идентификационный номер) ПО |
1.6.1.5 |
|
Цифровой идентификатор ПО (CRC32) |
5e6ec20d |
|
Идентификационное наименование ПО |
MI3287.app |
|
Номер версии (идентификационный номер) ПО |
1.6.1.4 |
|
Цифровой идентификатор ПО (CRC32) |
86fff286 |
|
Идентификационное наименование ПО |
MI3312.app |
|
Номер версии (идентификационный номер) ПО |
1.1.1.30 |
|
Цифровой идентификатор ПО (CRC32) |
f3578252 |
|
Идентификационное наименование ПО |
MI3380.app |
|
Номер версии (идентификационный номер) ПО |
1.6.1.12 |
|
Цифровой идентификатор ПО (CRC32) |
e2edee82 |
|
Идентификационное наименование ПО |
KMH PP.app |
|
Номер версии (идентификационный номер) ПО |
1.1.1.17 |
|
Цифровой идентификатор ПО (CRC32) |
5b181d66 |
|
Идентификационное наименование ПО |
KMH PP AREOM.app |
|
Номер версии (идентификационный номер) ПО |
1.3.3.1 |
|
Цифровой идентификатор ПО (CRC32) |
62b3744e |
|
Идентификационное наименование ПО |
MI2816.app |
|
Номер версии (идентификационный номер) ПО |
1.1.1.5 |
|
Цифровой идентификатор ПО (CRC32) |
c5136609 |
|
Идентификационные данные (признаки) |
Значение |
|
Идентификационное наименование ПО |
MI3151.app |
|
Номер версии (идентификационный номер) ПО |
1.1.1.21 |
|
Цифровой идентификатор ПО (CRC32) |
c25888d2 |
|
Идентификационное наименование ПО |
MI3272.app |
|
Номер версии (идентификационный номер) ПО |
1.1.1.50 |
|
Цифровой идентификатор ПО (CRC32) |
4ecfdc10 |
|
Идентификационное наименование ПО |
KMH MPR MPR.app |
|
Номер версии (идентификационный номер) ПО |
1.1.1.4 |
|
Цифровой идентификатор ПО (CRC32) |
82dd84f8 |
|
Идентификационное наименование ПО |
MI3288.app |
|
Номер версии (идентификационный номер) ПО |
1.1.1.14 |
|
Цифровой идентификатор ПО (CRC32) |
c14a276b |
|
Идентификационное наименование ПО |
MI3155.app |
|
Номер версии (идентификационный номер) ПО |
1.1.1.30 |
|
Цифровой идентификатор ПО (CRC32) |
8da9f5c4 |
|
Идентификационное наименование ПО |
MI3189.app |
|
Номер версии (идентификационный номер) ПО |
1.1.1.21 |
|
Цифровой идентификатор ПО (CRC32) |
41986ac5 |
|
Идентификационное наименование ПО |
KMH PV.app |
|
Номер версии (идентификационный номер) ПО |
1.1.2.1 |
|
Цифровой идентификатор ПО (CRC32) |
adde66ed |
|
Идентификационное наименование ПО |
KMH PW.app |
|
Номер версии (идентификационный номер) ПО |
1.1.1.2 |
|
Цифровой идентификатор ПО (CRC32) |
2a3adf03 |
|
Идентификационное наименование ПО |
MI2974.app |
|
Номер версии (идентификационный номер) ПО |
1.1.1.21 |
|
Цифровой идентификатор ПО (CRC32) |
c73ae7b9 |
|
Идентификационное наименование ПО |
MI3234.app |
|
Номер версии (идентификационный номер) ПО |
1.1.1.34 |
|
Цифровой идентификатор ПО (CRC32) |
df6e758c |
|
Идентификационное наименование ПО |
GOSTR8908.app |
|
Номер версии (идентификационный номер) ПО |
1.1.1.33 |
|
Цифровой идентификатор ПО (CRC32) |
37cc413a |
|
Идентификационные данные (признаки) |
Значение |
|
Примечание - Допускается ограничивать количество программных модулей ИВК в зависимости от функционального назначения РСИКН. Цифровой идентификатор ПО представлен в шестнадцатеричной системе счисления в виде буквенно-цифрового кода, регистр букв при этом может быть представлен в виде заглавных или прописных букв, при этом значимым является номинал и последовательность расположения цифр и букв. | |
Знак утверждения типа
Знак утверждения типананосится на титульный лист инструкции по эксплуатации и формуляра РСИКН типографским способом.
Сведения о методиках измерений
Сведения о методиках (методах) измерений
«Инструкция. Масса нефти. Методика измерений резервной схемой учета системы измерений количества и показателей качества нефти № 449 Омской ЛПДС Омского РНУ АО «Транснефть - Западная Сибирь», регистрационный номер Федеральному реестру методик измерений ФР.1.29.2022.42319.
Нормативные и технические документы
Нормативные документы, устанавливающие требования к средству измеренийПостановление Правительства Российской Федерации от 16 ноября 2020 г. № 1847 «Об утверждении перечня измерений, относящихся к сфере государственного регулирования обеспечения единства измерений».
Приказ Росстандарта от 26 сентября 2022 г. № 2356 «Об утверждении Государственной поверочной схемы для средств измерений массы и объема жидкости в потоке, объема жидкости и вместимости при статических измерениях, массового и объемного расходов жидкости».
ПравообладательАкционерное общество «Транснефть - Западная Сибирь»
(АО «Транснефть - Западная Сибирь»)
ИНН 5502020634
Адрес: 644033, Омская область, г. Омск, ул. Красный Путь, 111-1
Телефон: (3812) 65-35-02, факс: (3812) 65-98-46
Web-сайт: https://westemsiberia.transneft.ru/
E-mail: info@oms.transneft.ru
Изготовитель
Акционерное общество «Транснефть - Западная Сибирь»(АО «Транснефть - Западная Сибирь»)
ИНН 5502020634
Адрес: 644033, Омская область, г. Омск, ул. Красный Путь, 111-1
Телефон: (3812) 65-35-02, факс: (3812) 65-98-46
Web-сайт: https://westemsiberia.transneft.ru/
E-mail: info@oms.transneft.ru
Испытательный центр
Общество с ограниченной ответственностью ЦМ «СТП»(ООО ЦМ «СТП»)
Адрес: 420107, Российская Федерация, Республика Татарстан, г. Казань, ул. Петербургская, д. 50, корп. 5, офис 7
Телефон: (843) 214-20-98, факс: (843) 227-40-10
Web-сайт: http://www.ooostp.ru
E-mail: office@ooostp.ru
Правообладатель
Акционерное общество «Транснефть - Западная Сибирь»(АО «Транснефть - Западная Сибирь»)
ИНН 5502020634
Адрес: 644033, Омская область, г. Омск, ул. Красный Путь, 111-1
Телефон: (3812) 65-35-02, факс: (3812) 65-98-46
Web-сайт: https://westemsiberia.transneft.ru/
E-mail: info@oms.transneft.ru
Принцип действия РСИКН основан на косвенном методе динамических измерений массы нефти по результатам измерений:
-
- объема нефти, давления и температуры;
-
- плотности нефти в лаборатории или в рабочих условиях с помощью преобразователей плотности.
Массу нетто нефти определяют, как разность массы брутто нефти и массы балласта. Массу балласта определяют, как сумму масс воды, хлористых солей и механических примесей в нефти.
РСИКН состоит из:
-
- блока измерительных линий, состоящего из одной рабочей измерительной линии (далее - ИЛ);
-
- блок измерений качества;
-
- система обработки информации (далее - СОИ). Средства измерений (далее - СИ), входящие в состав РСИКН:
-
- расходомер UFM 3030, модификация компактного исполнения UFM 3030K, заводской № 3441 (далее - ПР);
-
- преобразователи измерительные 644, 3144Р (регистрационный номер в Федеральном информационном фонде по обеспечению единства измерений (далее - регистрационный номер) 14683-09), модель 3144Р, в комплекте с термопреобразователями сопротивления платиновыми серии 65 (регистрационный номер 22257-11);
-
- преобразователи давления измерительные 3051 (регистрационный номер 14061-04);
-
- комплексы измерительно-вычислительные ТН-01 (регистрационный номер 67527-17), модификация 02 (далее - ИВК);
-
- установки поверочные трубопоршневые двунаправленные (регистрационный номер 20054-06), типоразмер 30.
Автоматизированное рабочее место оператора (далее - АРМ оператора) входит в состав
СОИ.
РСИКН установлена последовательно с системой измерений количества и показателей качества нефти № 449 (далее - СИКН № 449), в связи с чем предусмотрена возможность выполнения измерений с применением результатов измерений плотности нефти в рабочих условиях в блоке измерений показателей качества нефти СИКН № 449 следующими СИ и техническими средствами:
-
- преобразователи плотности жидкости измерительные (мод. 7835, 7845, 7846, 7847) (регистрационный номер 15644-06), модель 7835;
-
- преобразователи плотности жидкости измерительные моделей 7835, 7845, 7847 (регистрационный номер 52638-13), модель 7835;
-
- преобразователи плотности и вязкости жидкости измерительные моделей 7825, 7826, 7827, 7828, 7829 (регистрационный номер 15642-06), модель 7827;
-
- датчики температуры 644, 3144Р (регистрационный номер 39539-08), модель 644;
-
- преобразователи давления измерительные 3051 (регистрационный номер 14061-04).
В составе РСИКН дополнительно сформирован измерительный канал (далее - ИК) объемного расхода.
РСИКН выполняет следующие основные функции:
-
- измерение в автоматическом режиме массы брутто нефти и объемного расхода нефти;
-
- автоматизированное вычисление массы нетто нефти с использованием результатов измерений в лаборатории массовой доли механических примесей, результатов измерений в лаборатории массовой концентрации хлористых солей, а также значения массовой доли воды, вычисленное по результатам измерений в лаборатории объемной доли воды;
-
- измерение в автоматическом режиме температуры и давления нефти;
-
- контроль метрологических характеристик и поверка ПР на месте эксплуатации;
-
- ручной ввод в СОИ результатов лабораторных анализов проб нефти;
-
- регистрацию и хранение результатов измерений, формирование отчётов, протоколов, актов приема-сдачи нефти, паспортов качества нефти;
-
- формирование и хранение журнала событий;
-
- защиту системной информации от несанкционированного доступа.
Конструкцией РСИКН место нанесения заводского номера не предусмотрено. Идентификация РСИКН возможна по заводскому номеру, указанному в эксплуатационной документации, обеспечивающей его сохранность в течение всего срока эксплуатации.
Для исключения возможности несанкционированного вмешательства, которое может повлиять на результат измерений, конструкцией ПР, входящего в состав ИК объемного расхода нефти, предусмотрены места установки пломб (фланцы), несущих на себе знак поверки (оттиск клейма поверителя), который наносится методом давления на свинцовые (пластмассовые) пломбы.
Пломбирование РСИКН предусмотрено при определении метрологических характеристик ИК объемного расхода.
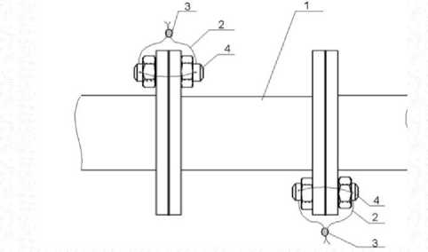
Схема пломбировки от несанкционированного доступа с местами установки пломб представлена на рисунке 1.
Рисунок 1 - Схема установки пломб на ПР, входящих в состав ИК объемного расхода нефти
1 - ПР; 2 - контровочные проволоки; 3 - пломбы; 4 - шпильки
Знак поверки наносится на свидетельство о поверке РСИКН.
Таблица 2 - Метрологические характеристики
|
Наименование характеристики |
Значение |
|
Диапазон измерений объемного расхода нефти*, м3/ч |
от 380 до 2520 |
|
Пределы допускаемой относительной погрешности измерений объемного расхода нефти с применением ИК объемного расхода, % |
±0,4 |
|
Пределы допускаемой относительной погрешности измерений массы брутто нефти, % |
±0,5 |
|
Пределы допускаемой относительной погрешности измерений массы нетто нефти, % |
±0,6 |
|
* Указаны минимальное и максимальное значения диапазона измерений. Фактический диапазон измерений определяется при проведении поверки РСИКН и не может выходить за пределы приведенного диапазона измерений. | |
Таблица 3 - Состав и основные метрологические характеристики ИК объемного расхода
|
Количество ИК (место установки) |
Состав И |
К |
Диапазон измерений по каждому ИК*, м3/ч |
Пределы допускаемой относительной погрешности ИК, % |
|
Первичный измерительный преобразователь |
Вторичная часть | |||
|
1 (ИЛ) |
Расходомер UFM 3030, модификация компактного исполнения UFM 3030K |
Комплекс измерительновычислительный ТН-01, модификация 02 |
от 380 до 2520 |
±0,4 |
|
* Указаны минимальное и максимальное значения диапазона измерений. Фактический диапазон измерений определяется при определении метрологических характеристик соответствующего ИК объемного расхода и не может выходить за пределы приведенного диапазона измерений. | ||||
Таблица 4 - Основные технические характеристики
|
Наименование характеристики |
Значение |
|
Измеряемая среда |
нефть по ГОСТ Р 51858-2002, ТР ЕАЭС 045/2017 |
|
Температура измеряемой среды, °С |
от -2 до 25 |
|
Наименование характеристики |
Значение |
|
Давление измеряемой среды, МПл |
от 0,15 до 1,60 |
|
Физико-химические свойства измеряемой среды: - плотность в рабочем диапазоне температур, кг/м3 |
от 750 до 950 |
|
- кинематическая вязкость в рабочем диапазоне температур, мм2/с |
от 0,5 до 65,0 |
|
- массовая доля воды, %, не более |
1 |
|
- массовая концентрация хлористых солей, мг/дм3, не более |
900 |
|
- массовая доля механических примесей, %, не более |
0,05 |
|
- содержание свободного газа |
не допускается |
|
Параметры электрического питания: - напряжение переменного тока, В |
220^/380-38 |
|
- частота переменного тока, Г ц |
50±1 |
|
Условия эксплуатации РСИКН: а) температура окружающей среды, °С: - в месте установки ИЛ |
от -50 до 50 |
|
- в месте установки СОИ |
от 10 до 35 |
|
б) относительная влажность, % |
от 30 до 80 |
|
в) атмосферное давление, кПа |
от 84,0 до 106,7 |
|
Режим работы |
непрерывный |
|
Средний срок службы, лет, не менее |
10 |

