№1988 от 16.09.2025
Приказ Федерального агентства по техническому регулированию и метрологии (Росстандарт)
# 713468
ПРИКАЗ О внесении изменений в сведения об утвержденных типах СИ (3)
Приказы по основной деятельности по агентству Вн. Приказ № 1988 от 16.09.2025

—v—
МИНИСТЕРСТВО ПРОМЫШЛЕННОСТИ И ТОРГОВЛИ
РОССИЙСКОЙ ФЕДЕРАЦИИ
ФЕДЕРАЛЬНОЕ АГЕНТСТВО ПО ТЕХНИЧЕСКОМУ РЕГУЛИРОВАНИЮ И МЕТРОЛОГИИ (Росстандарт)
ПРИКАЗ
16 сентября 2025 г. уо 1988
Москва
О внесении изменений в сведения об утвержденных типах средств измерений
В соответствии с Административным регламентом по предоставлению Федеральным агентством по техническому регулированию и метрологии государственной услуги по утверждению типа стандартных образцов или типа средств измерений, утвержденным приказом Федерального агентства по техническому регулированию и метрологии от 12 ноября 2018 г. № 2346, п р и к а з ы в а ю:
-
1. Внести изменения в сведения об утвержденных типах средств измерений в части конструктивных изменений, влияющих на их метрологические характеристики, согласно приложению к настоящему приказу.
-
2. Утвердить измененные описания типов средств измерений, прилагаемые к настоящему приказу.
-
3. ФБУ «НИЦ ПМ - Ростест» внести сведения об утвержденных типах средств измерений согласно приложению к настоящему приказу в Федеральный информационный фонд по обеспечению единства измерений в соответствии с Порядком создания и ведения Федерального информационного фонда по обеспечению единства измерений, передачи сведений в него и внесения изменений в данные сведения, предоставления содержащихся в нем документов и сведений, утвержденным приказом Министерства промышленности и торговли Российской Федерации от 28 августа 2020 г. № 2906.
-
4. Контроль за исполнением настоящего приказа оставляю за собой.
Заместитель руководителя
Подлинник электронного документа, подписанного ЭП, хранится в системе электронного документооборота Федерального агентства по техническому регулированию и метрологии
Е.Р. Лазаренко
СВЕДЕНИЯ О СЕРТИФИКАТЕ ЭП
Сертификат: 7B1801563EA497F787EAF40A918A8D6F
Кому выдан: Лазаренко Евгений Русланович
Действителен: с 19.05.2025 до 12.08.2026
\____________________-_______________
УТВЕРЖДЕНО приказом Федерального агентства по техническому регулированию и метрологии от «_ » сентя_р* 2025 г. № х_88
Лист № 1 Регистрационный № 66020-16 Всего листов 6
ОПИСАНИЕ ТИПА СРЕДСТВА ИЗМЕРЕНИЙ
Система измерений количества и показателей качества нефти Западно-Усть-Балыкского месторождения ОАО «Славнефть-Мегионнефтегаз» СИКН № 1502Назначение средства измерений
Система измерений количества и показателей качества нефти Западно-Усть-Балыкского месторождения ОАО «Славнефть-Мегионнефтегаз» СИКН № 1502 (далее - СИКН) предназначена для измерений массового расхода (массы) нефти.
Описание средства измерений
Принцип действия СИКН основан на прямом методе динамических измерений с помощью преобразователей массового расхода жидкости. Выходные сигналы преобразователей расхода, давления, температуры, плотности, объёмной доли воды в нефти по линиям связи поступают в систему обработки информации, которая принимает и обрабатывает информацию с последующим вычислением массы нефти.
СИКН представляет собой единичный экземпляр измерительной системы. Конструктивно СИКН состоит из функционально объединённых блоков:
-
1) Блок измерительных линий (БИЛ), предназначенный для непрерывного измерения массового расхода нефти.
-
2) Блок измерений показателей качества нефти (БИК), предназначенный для непрерывного автоматического измерения показателей качества нефти.
-
3) Система обработки информации (СОИ), предназначенная для сбора и обработки сигналов, поступающих от измерительных преобразователей, вычислений показателей и параметров нефти по реализованному в ней алгоритму, а также индикации и регистрации результатов измерений и вычислений.
В составе СИКН функционально выделены измерительные каналы (ИК) массового расхода, определение метрологических характеристик которых осуществляется комплектным методом при поверке СИКН.
Состав СИКН представлен в таблице 1.
Таблица 1 - Состав СИКН
|
Наименование и тип средства измерений |
Регистрационный номер в Федеральном информационном фонде по обеспечению единства измерений |
|
Счётчики-расходомеры массовые Micro Motion |
45115-10 |
|
мод. CMF300 (далее - МПР) |
45115-16 |
|
Термопреобразователи сопротивления платиновые с унифицированным выходным сигналом ТСПУ модели 65644 |
27129-04 |
|
Датчики температуры 644 |
39539-08 |
|
Датчики температуры Rosemount 644 |
63889-16 |
|
Преобразователи давления измерительные EJX мод. EJX 530 |
28456-09 |
|
Преобразователи (датчики) давления измерительные ЕJ* мод. EJX (серия А) модель 530 |
59868-15 |
|
Преобразователи давления измерительные EJA-E мод. EJA530E |
66959-17 |
|
Преобразователи плотности жидкости измерительные 7835 |
15644-06 52638-13 |
|
Влагомеры нефти поточные УДВН-1пм |
14557-10 14557-15 |
|
Комплексы измерительно-вычислительные «Вектор-02» |
43724-10 |
СИКН обеспечивает выполнение следующих функций:
-
- автоматизированные измерения массового расхода нефти по каждой измерительной линии и в целом по СИКН;
-
- автоматизированные измерения температуры, давления, плотности, объёмной доли воды в нефти;
-
- автоматизированные вычисления суммарной массы нефти за отдельные периоды (2 часа, смена, сутки, с начала партии);
-
- автоматизированные вычисления массы нетто нефти с учётом показателей качества нефти измеренных или введённых вручную по результатам лабораторного анализа (плотность, влагосодержание, кинематическая вязкость, массовая доля механических примесей, массовая концентрация хлористых солей) за отдельные периоды (2 часа, смена, сутки, с начала партии);
-
- автоматизированные вычисления средних значений температуры, давления, плотности, массовой доли воды в нефти рассчитанных для отдельных периодов (2 часа, смена, сутки, с начала партии).
-
- автоматическая обработка результатов поверки и контроля метрологических характеристик средств измерений;
-
- световая и звуковая сигнализация аварийных состояний СИКН и выхода характеристик нефти за установленные пределы;
-
- передача измеряемых и расчётных параметров.
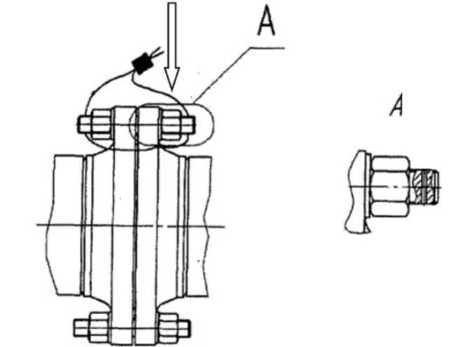
Для защиты от несанкционированных настройки и вмешательства, которые могут повлиять на результаты измерений, на каждый МПР, входящий в состав ИК массового расхода нефти устанавливают две пломбы. Пломбы располагают на диаметрально противоположных фланцах, на контровочных проволоках пропущенных через отверстия в шпильках. На пломбы методом давления наносят знак поверки. Схема установки пломбы приведена на рисунке 1.
Пломбирование средств измерений, находящихся в составе системы измерений количества и показателей качества нефти Западно-Усть-Балыкского месторождения ОАО «Славнефть-Мегионнефтегаз» СИКН № 1502 осуществляется согласно требований их описаний типа или МИ 3002-2006 «Рекомендация. ГСИ. Правила пломбирования и клеймения средств измерений и оборудования, применяемых в составе систем измерений количества и показателей качества нефти и поверочных установок». СИКН присвоен заводской номер 65. Заводской номер виде цифрового обозначения нанесён на стеновую панель при входе в операторную. Нанесение знака поверки на СИКН не предусмотрено.
Общий вид СИКН представлен на рисунке 3.
Рисунок 1 - Схема установки пломбы
Рисунок 2 - Место нанесения заводского номера
Рисунок 3 - Общий вид СИКН
Программное обеспечениеСИКН имеет программное обеспечение (ПО), представленное встроенным прикладным ПО измерительно-вычислительного комплекса «Вектор-02» и ПО автоматизированного рабочего места оператора «АРМ Вектор». Идентификационные данные программного обеспечения приведены в таблице 2.
Уровень защиты программного обеспечения высокий в соответствии с Р 50.2.077-2014.
Таблица 2 - Идентификационные данные программного обеспечения
|
Идентификационные данные (признаки) |
ИВК «Вектор-02» |
«АРМ Вектор» |
|
Идентификационное наименование ПО |
- |
- |
|
Номер версии (идентификационный номер) ПО |
6.4.1 |
9.13 |
|
Цифровой идентификатор ПО |
2B217A52 |
AC7F9EE3 |
Метрологические и технические характеристики
Таблица 3 - Состав и основные метрологические характеристики измерительных каналов
|
Номер ИК |
Наименование ИК |
Количество ИК, место установки |
Состав ИК |
Диапазон измерений, т/ч |
Пределы допускаемой относительной погрешности, % | |
|
Первичные измерительные преобразователи |
Вторичная часть | |||||
|
1 |
ИК массового расхода нефти |
4 БИЛ |
Счетчики-расходомеры массовые Micro Motion модели CMF 300 |
Комплексы измерительновычислительные «Вектор-02» |
от 7 до 240 |
±0,20 |
|
2, 3, 4 |
±0,25 | |||||
Таблица 4 - Метрологические характеристики
|
Наименование характеристики |
Значение |
|
Рабочий диапазон массового расхода нефти, т/ч |
от 7 до 240 |
|
Пределы допускаемой относительной погрешности измерения, %: - массы брутто нефти |
±0,25 |
|
- массы нетто нефти |
±0,35 |
|
Примечание - При эксплуатации СИКН в диапазоне массового расхода нефти от 7 до 12 т/ч | |
|
должны выполняться условия, регламентированные методикой измерений. | |
Таблица 5 - Технические характеристики
|
Наименование характеристики |
Значение |
|
1 |
2 |
|
Количество измерительных линий |
4 (3 рабочие, 1 контрольная с функцией резервной) |
|
Рабочая среда |
нефть по ГОСТ Р 51858-2002 |
|
Характеристики измеряемой среды:
|
от +5 до +40 от 0,3 до 5,1 от 800 до 950 0,5 0,05 100 не допускается |
|
Условия эксплуатации: Температура окружающего воздуха, °С: - в БИЛ, БИК, и операторной |
от +5 до +40 |
|
Параметры электрического питания:
Однофазное
|
380±38 220±22 50±0,4 |
наносится на титульный лист эксплуатационной документации методом штемпелевания.
Комплектность средства измерений
Таблица 6 - Комплектность средства измерений
|
Наименование |
Обозначение |
Количество, экз. |
|
Система измерений количества и показателей качества нефти Западно-Усть-Балыкского месторождения ОАО «Славнефть - Мегионнефтегаз» СИКН № 1502 |
1 | |
|
Инструкция по эксплуатации |
- |
1 |
приведены в документе «Инструкция. Масса нефти. Методика измерений с применением системы измерений количества и показателей качества нефти (СИКН) № 1502 Западно-Усть-Балыкского месторождения ОАО «Славнефть-Мегионнефтегаз»,
регистрационный номер в Федеральном информационном фонде по обеспечению единства измерений ФР.1.29.2023.46833.
Нормативные документы, устанавливающие требования к средству измерений
Постановление Правительства РФ от 16 ноября 2020 г. № 1847 «Об утверждении перечня измерений, относящихся к сфере государственного регулирования обеспечения единства измерений» (Пункт 6.1.1)
Приказ Росстандарта от 26 сентября 2022 г. № 2356 «Об утверждении Государственной поверочной схемы для средств измерений массы и объёма жидкости в потоке, объёма жидкости и вместимости при статических измерениях, массового и объёмного расходов жидкости»
Изготовитель
Общество с ограниченной ответственностью «Инженерно-производственная фирма Вектор»
(ООО «ИПФ Вектор»)
ИНН 7203256184
Адрес: 625031, Тюменская область, г. Тюмень, ул. Шишкова, 88
Телефон: (3452) 388-720
Факс: (3452) 388-727
Е-mail: sekretar@ipfvektor.ru
Испытательный центр
Федеральное бюджетное учреждение «Государственный региональный центр стандартизации, метрологии и испытаний в Тюменской и Курганской областях, Ханты-Мансийском автономном округе - Югре, Ямало-Ненецком автономном округе»
(ФБУ «Тюменский ЦСМ»)
Адрес: 625027, Тюменская обл., г.о. город Тюмень, г. Тюмень, ул. Минская, д. 88 Телефон: (3452) 500-532
Web-сайт: Ь«р8://тцсм.рф
E-mail: info@csm72.ru
Уникальный номер записи в реестре аккредитованных лиц RA.RU.311495
УТВЕРЖДЕНО приказом Федерального агентства по техническому регулированию и метрологии от «16 » сен_^б__ 2025 г. № 1988Лист № 1 Регистрационный № 78524-20 Всего листов 9
ОПИСАНИЕ ТИПА СРЕДСТВА ИЗМЕРЕНИЙ
Система измерительная испытательного стенда 472-17-905Назначение средства измерений
Система измерительная испытательного стенда 472-17-905 (далее - СИС) предназначена для измерений параметров редукторов РО55 и их модификаций: избыточного давления, температуры, крутящего момента силы, частоты вращения, силы переменного тока и передачи результатов измерений по интерфейсам в компьютер автоматизированного рабочего места (АРМ) оператора автоматизированной системы управления испытательного стенда (АСУ ИС).
Описание средства измерений
Принцип действия СИС основан на измерении параметров редукторов первичными измерительными преобразователями физических величин, преобразовании их в электрические сигналы, преобразовании электрических сигналов в цифровой код вторичными измерительными преобразователями и передаче информации в цифровой форме в компьютер АРМ оператора для дальнейшего ее использования в АСУ ИС.
Функционально СИС состоит из измерительных каналов (ИК).
-
- ИК избыточного давления - 3 шт.;
-
- ИК температуры - 62 шт.;
-
- ИК крутящего момента силы - 1 шт.;
-
- ИК частоты вращения - 8 шт.;
-
- ИК силы переменного тока - 6 шт.
Принцип действия ИК избыточного давления основан на преобразовании аналогового сигнала (сила постоянного тока в диапазоне от 4 до 20 мА), поступающего от преобразователя давления измерительного и пропорционального значению измеряемой физической величины в цифровой код, с последующим вычислением в программируемом логическом контроллере (ПЛК) значений измеряемого давления и отображением результатов измерений на мониторе АРМ оператора СИС (далее - монитор).
Принцип действия ИК температуры основан на преобразовании аналогового сигнала (падения напряжения, возникающего при прохождении через первичный термопреобразователь постоянного тока, пропорционального значениям измеряемой физической величины) в цифровой код с последующим вычислением в ПЛК значений измеряемой температуры и отображением результатов измерений на мониторе СИС.
Принцип действия ИК крутящего момента силы основан на преобразовании аналогового сигнала (сила постоянного тока в диапазоне от 4 до 20 мА) от датчика крутящего момента силы с интерфейсным модулем в цифровой код, с последующим вычислением в ПЛК значений крутящего момента силы и отображением результатов измерений на мониторе СИС.
Принцип действия ИК частоты вращения основан на преобразовании аналогового сигнала от индукционного датчика частоты вращения в цифровой код, с промежуточным преобразованием сигнала индукционного датчика в аналоговый сигнал, и с последующим вычислением в ПЛК значений частоты вращения и отображением результатов измерений на мониторе СИС.
Принцип действия ИК силы переменного тока основан на преобразовании аналогового сигнала (сила постоянного тока в диапазоне от 4 до 20 мА) от преобразователя силы переменного тока измерительного в цифровой код, с последующим вычислением в ПЛК среднеквадратических значений силы переменного тока и отображением результатов измерений на мониторе СИС.
Конструктивно СИС состоит из первичных измерительных преобразователей, размещённых в соответствующих узлах стенда, соединенных кабелями с щитом управления, шкафом контроллера и АРМ оператора.
Щит управления редукторами (ЩУ2) включает в себя следующие устройства:
- 11 модулей аналогового ввода для подключения измерительных каналов температур испытуемых редукторов;
- 3 модуля аналогового ввода давления, частоты вращения, крутящего момента силы, силы переменного тока;
- 5 модулей дискретного ввода концевых выключателей и реле давления;
- 3 модуля дискретных выходов управления механизмами испытуемых редукторов;
- 2 сетевых модуля удаленного управления ET200M.
Шкаф контроллера (ШК1) включает:
- главный контроллер Siemens S7-1500;
- 1 модуль аналогового ввода давления;
- сервер испытательного стенда.
Измерительная информация от ПЛК в цифровой форме передается по стандартным интерфейсам в компьютер АРМ оператора СИС, расположенный в пультовой стенда, для архивирования и визуализации. Результаты измерений ИК СИС отображаются на мониторе рабочего места оператора.
Данные о первичных измерительных преобразователях утвержденного типа ИК СИС приведены в таблице 1.
Таблица 1 - Данные о первичных измерительных преобразователях утвержденного типа ИК СИС
|
Наименование ИК |
Измерительный преобразователь | |
|
Тип |
Регистрационный номер* | |
|
ИК избыточного давления |
Преобразователи давления измерительные ОВЕН ПД100-ДИ1,6 |
47586-11 |
|
Преобразователи давления измерительные DMP331i |
56795-14 | |
|
ИК температуры |
Термометры сопротивления морские ТСП/1-8040 |
52719-13 |
|
Термопреобразователи сопротивления ДТС |
28354-10 | |
|
ИК частоты вращения |
Тахометры электронные цифровые ТСП-04, исп. 1 |
61828-15 |
|
ИК силы переменного тока |
Преобразователи силы переменного тока измерительные ДТТ, мод. ДТТ-03Т |
49800-12 |
|
* Регистрационный номер в Федеральном информационном фонде по обеспечению единства измерений | ||
Защита от несанкционированного доступа обеспечивается закрыванием ЩУ2, ШК1 и АРМ на специализированные встроенные замки. Пломбирование, при этом, не предусмотрено.
Заводской номер СИС нанесен наклейкой сверху на левую переднюю дверь ЩУ2 в формате «472-17-905».
Общий вид составных частей СИС и наклейки с заводским номером приведен на рисунках 1 - 12, соответственно.
Рисунок 1 - Общий вид щита управления РО55 (ЩУ2)
Рисунок 2 - Общий вид шкафа контроллера ШК1
Рисунок 3 - Общий вид АРМ оператора
Система измерительная испытательного стенда 472-17-905 зав. № 472-17-905
Рисунок 4 - Наклейка с заводским номером
Рисунок 5 - Преобразователь давления
измерительный ОВЕН ПД100-ДИ1,6
Рисунок 6 - Преобразователь давления измерительный DMP331i
Рисунок 7 - Термометр сопротивления морской
ТСП/1-8040
Рисунок 8 - Термопреобразователи сопротивления ДТС
Рисунок 9 - Датчик крутящего момента силы T40FM
Рисунок 10 - Тахометр электронный цифровой ТСП-04, исп. 1
Рисунок 12 - Преобразователь силы
Рисунок 11 - Датчик частоты вращения ДТА-15 переменного тока измерительный
ДТТ-03Т

Метрологически значимая часть встроенного программного обеспечения (ПО) СИС находится в исполняемом файле WCCILpmon.exe (для визуализации).
Таблица 2 - Идентификационные данные ПО
|
Идентификационные данные (признаки) |
Значение |
|
Идентификационное наименование ПО |
WCCILpmon.exe (для визуализации) |
|
Номер версии (идентификационный номер) ПО |
3.14.0.0 |
|
Цифровой идентификатор ПО |
- |
Метрологически значимая часть ПО СИС и измеренные данные достаточно защищены с помощью средств защиты от непреднамеренных и преднамеренных изменений. Защита ПО от непреднамеренных и преднамеренных изменений соответствует уровню «средний» в соответствии с Р 50.2.077-2014. Защита ПО реализуется за счет:
-
- отсутствия возможности удаленного доступа к ПО через интерфейсы обмена с внешними подсистемами;
-
- ограничения физического доступа к ИК СИС (доступ в помещение, доступ в шкаф -специальный ключ);
-
- доступа к ПО по паролю;
-
- отсутствие возможности изменения ПО без специализированной инструментальной среды разработки, доступ к которой осуществляется по паролю.
Метрологические характеристики ИК СИС нормированы с учетом влияния ПО.
Метрологические и технические характеристикиТаблица 3 - Метрологические характеристики
|
Наименование характеристики |
Значение |
|
ИК избыточного давления | |
|
Диапазон измерений избыточного давления масла на входе в испытуемые изделия, МПа (бар) |
от 0 до 1,6 (от 0 до 16) |
|
Пределы допускаемой приведенной к верхнему пределу измерений (ВП) погрешности измерений избыточного давления масла на входе в испытуемые изделия, % |
±2 |
|
Количество ИК |
2 |
|
Диапазон измерений избыточного давления воздуха на входе в испытуемые изделия, МПа (бар) |
от 0 до 2 (от 0 до 20 |
|
Пределы допускаемой приведенной к ВП погрешности измерений избыточного давления воздуха на входе в испытуемые изделия, % |
±2 |
|
Количество ИК |
1 |
|
ИК температуры | |
|
Диапазон измерений температуры масла гидромуфт, гидрозамедлителей и подшипников шестерен, °С |
от +5 до +120 |
|
Пределы допускаемой приведенной к ВП погрешности измерений температуры масла гидромуфт, гидрозамедлителей и подшипников шестерен, % |
±2 |
|
Количество ИК |
60 |
|
Диапазон измерений температуры масла на входе в испытуемые изделия, °С |
от -20 до +150 |
|
Пределы допускаемой, приведенной к ВП, погрешности измерений температуры масла на входе в испытуемые изделия, % |
±2 |
|
Количество ИК |
2 |
|
ИК крутящего момента силы | |
|
Диапазон измерений крутящего момента силы, Н^м |
от 2000 до 70000 |
|
Диапазон измерений крутящего момента силы, Н^м |
от 1300 до 16200 |
|
Пределы допускаемой приведенной к ВП погрешности измерений крутящего момента силы, % |
±1,5 |
|
Количество ИК |
1 |
|
ИК частоты вращения | |
|
Диапазон измерений частоты вращения валов приводных ЭД, об/мин |
от 20 до 500 |
|
Пределы допускаемой приведенной к ВП погрешности измерений частоты вращения валов приводных ЭД, % |
±2 |
|
Количество ИК |
2 |
|
Диапазон измерений частоты вращения входного фланца дизельного двигателя (ДД) испытуемых изделий, об/мин |
от -1000 до +1000 |
|
Пределы допускаемой приведенной к ВП погрешности измерений частоты вращения входного фланца ДД испытуемых изделий, % |
±1 |
|
Количество ИК |
2 |
|
Диапазон измерений частоты вращения входного фланца газотурбинного двигателя (ГТД) испытуемых изделий, об/мин |
от -2089 до +2089 |
|
Пределы допускаемой приведенной к ВП погрешности измерений частоты вращения входного фланца ГТД испытуемых изделий, % |
±0,5 |
|
Количество ИК |
2 |
|
Наименование характеристики |
Значение |
|
Диапазон измерений частоты вращения выходного вала испытуемых изделий, об/мин |
от -144 до +144 |
|
Пределы допускаемой приведенной к ВП погрешности измерений частоты вращения выходного вала испытуемых изделий, % |
±0,7 |
|
Количество ИК |
2 |
|
ИК силы переменного тока | |
|
Диапазон измерений среднеквадратического значения силы переменного тока валоповоротного устройства (ВПУ) испытуемых изделий, А |
от 0 до 20 |
|
Пределы допускаемой приведенной к ВП погрешности измерений среднеквадратического значения силы переменного тока ВПУ испытуемых изделий, % |
±2,5 |
|
Количество ИК |
6 |
Таблица 4 -Технические характеристики
|
Наименование характеристики |
Значение |
|
Параметры электрического питания: - напряжение переменного тока, В |
220/380±22/38 |
|
- частота переменного тока, Гц |
50±2 |
|
Общая потребляемая мощность, В^А, не более |
11060 |
|
Габаритные размеры (длина х ширина х высота) составных частей СИС, мм, не более - ЩУ2 |
2000х600х2400 |
|
- ШК1 |
1000х300х1200 |
|
- АРМ оператора |
550х300х50 |
|
Масса составных частей СИС, кг, не более - ЩУ2 |
400 |
|
- ШК1 |
135 |
|
- АРМ оператора |
10 |
|
Условия эксплуатации: - температура окружающей среды, °С |
от +10 до +30 |
|
- атмосферное давление, кПа (мм рт. ст.) |
от 84 до 106,7 кПа |
|
- относительная влажность, % |
(от 630 до 800 мм рт. ст.) от 45 до 80 |
Таблица 5 - Показатели надежности
|
Наименование характеристики |
Значение |
|
Средний срок службы, лет, не менее |
12 |
|
Средняя наработка до отказа, ч, не менее |
10000 |
наносится на титульный лист эксплуатационных документов типографским способом.
Лист № 8 Всего листов 9 Комплектность средства измеренийТаблица 6 - Комплектность
|
Наименование |
Обозначение |
Количество |
|
Система измерительная испытательного стенда 472-17-905 зав. № 472-17-905 | ||
|
Комплект измерительных преобразователей: - преобразователи давления измерительные ОВЕН ПД100-ДИ1,6 (47586-11); |
ТУ4212-002-46526536-2009 |
2 шт. |
|
- преобразователи давления измерительные DMP331i (56795-14); |
- |
1 шт. |
|
- термометры сопротивления морские ТСП/1-8040 (52719-13); |
ЮВМА.400520.001ТУ |
60 шт. |
|
- термопреобразователь сопротивления ДТС ДТС 045-50П.А4.80 (28354-10); |
ТУ 4211-023-46526536-2009 |
2 шт. |
|
- датчики крутящего момента силы K-T40FM-040R, K-T40FM-080R; |
2 шт. | |
|
- тахометр электронный цифровой ТСП-04, исп. 1 (61828-15); |
ИПВС.074.000ТУ |
2 шт. |
|
- датчик частоты вращения ДТА-15; |
6Ю0.278.037ТУ |
12 шт. |
|
- преобразователь силы переменного тока измерительный ДТТ-03Т (49800-12). |
46ПИГН.411521.027ТУ |
6 шт. |
|
Щит управления ЩУ2 |
ЩУ 805.16.002 |
1 шт. |
|
Шкаф контроллера ШК1 |
ШК.805.16.001 |
1 шт. |
|
АРМ оператора |
- |
2 шт. |
|
Система измерительная испытательного стенда 472-17-905. Паспорт |
ФРДГ.441129.001 ПС |
1 экз. |
|
Система измерительная испытательного стенда 472-17-905. Руководство по эксплуатации |
ФРДГ.441129.002 РЭ |
1 экз. |
приведены в разделе 3 «Устройство и принцип действия» документа ФРДГ.441129.002 РЭ «Система измерительная стенда 472-17-905. Руководство по эксплуатации».
Нормативные документы, устанавливающие требования к средству измеренийГосударственная поверочная схема для средств измерений электрического сопротивления постоянного и переменного тока, утверждена приказом Федерального агентства по техническому регулированию и метрологии № 3456 от 30 декабря 2019 года
Государственная поверочная схема для средств измерений силы постоянного электрического тока в диапазоне от V10-16 до 100 А, утверждена приказом Федерального агентства по техническому регулированию и метрологии № 2091 от 1 октября 2018 года
Государственная поверочная схема для средств измерений угловой скорости и частоты вращения, утверждена приказом Федерального агентства по техническому регулированию и метрологии № 2183 от 01 сентября 2022 года
Государственная поверочная схема для средств измерений крутящего момента силы, утверждена приказом Федерального агентства по техническому регулированию и метрологии № 2152 от 06 сентября 2024 года
ГОСТ Р 8.596-2002 ГСИ. Метрологическое обеспечение измерительных систем. Основные положения
ИзготовительОбщество с ограниченной ответственностью «Лиман-трейд»
(ООО «Лиман-трейд»)
ИНН 7811438750
Адрес: 196084, г. Санкт-Петербург, ул. Цветочная д. 25, лит А, оф. 306 Телефон (факс): (812) 454-67-99
Web-сайт: www.liman-trade.com
E-mail: info@liman-trade.com
Испытательный центр
Федеральное государственное унитарное предприятие «Всероссийский научно-исследовательский институт метрологии им. Д.И. Менделеева»
Адрес: 190005, Россия, г. Санкт-Петербург, Московский пр-кт, д. 19
Телефон: (812) 251-76-01, факс: (812) 713-01-14
Web-сайт: www.vniim.ru
Е-mail: info@vniim.ru
Уникальный номер записи об аккредитации в реестре аккредитованных лиц RA.RU.314555
УТВЕРЖДЕНО приказом Федерального агентства по техническому регулированию и метрологии от «_6 » сентябр_ 2025 г. № _98 8Лист № 1 Регистрационный № 57264-14 Всего листов 5
ОПИСАНИЕ ТИПА СРЕДСТВА ИЗМЕРЕНИЙ
Система измерений количества и показателей качества нефти № 201 Кальчинского месторождения Назначение средства измеренийСистема измерений количества и показателей качества нефти № 201 Кальчинского месторождения (далее - СИКН) предназначена для автоматизированных измерений массы и показателей качества нефти.
Описание средства измерений
Принцип действия СИКН основан на прямом методе динамических измерений массы нефти с помощью расходомеров массовых. Сигналы с первичных измерительных преобразователей массы, плотности, объемной доли воды в нефти, температуры и давления поступают в систему сбора и обработки информации (далее - СОИ), которая принимает, обрабатывает информацию, производит вычисление, индикацию и регистрацию результатов измерений количества и показателей качества нефти.
Массу нетто нефти определяют как разность массы брутто нефти и массы балласта. Массу балласта определяют как сумму масс воды, хлористых солей и механических примесей в нефти.
СИКН представляет собой единичный экземпляр измерительной системы целевого назначения, спроектированной для конкретного объекта из компонентов серийного отечественного и импортного изготовления. Монтаж и наладка СИКН осуществлены непосредственно на объекте эксплуатации в соответствии с проектной документацией СИКН и эксплуатационными документами ее компонентов.
Конструктивно СИКН состоит из блока фильтров, блока измерительных линий (далее -БИЛ), блока измерений показателей качества нефти (далее - БИК), блока стационарной трубопоршневой поверочной установки (далее - ТПУ), СОИ.
БИЛ состоит из двух рабочих измерительных линий (далее - ИЛ), одной резервной ИЛ и одной контрольно-резервной ИЛ.
БИК предназначен для постоянного измерения показателей качества нефти (плотность, объемная доля воды). Отбор представительной пробы нефти в БИК осуществляется через пробозаборное устройство щелевого типа по ГОСТ 2517-2012.
СОИ, предназначенная для сбора и обработки информации, поступающей от измерительных преобразователей, а также для вычислений, индикации и регистрации результатов измерений, состоит из устройств программного управления TREI-5B-02 (далее -ИВК) и автоматизированных рабочих мест оператора на базе комплекса программнотехнического Круг-2000 (далее - АРМ оператора), предназначенных для визуального отображения результатов измерений и управления технологическими режимами работы СИКН.
В состав СИКН входят следующие СИ (регистрационный номер в Федеральном информационном фонде по обеспечению единства измерений (далее - регистрационный №)), приведенные в таблице 1.
Т а б л и ц а 1 - Состав СИКН
|
Наименование СИ |
Регистрационный № |
|
Массомеры Promass |
15201-98 |
|
Расходомеры массовые Promass |
15201-07 |
|
Расходомеры массовые Promass (модификации Promass 300) |
68358-17 |
|
Термопреобразователи сопротивления платиновые ТСП/1-1088 |
16901-97 |
|
Термопреобразователи сопротивления ТСП «Метран-200» |
19982-00 |
|
Термопреобразователи сопротивления ТСМ и ТСП Метран-200 |
50911-12 |
|
Датчики давления Метран-150 |
32854-06, 32854-08, 32854-09, 32854-13 |
|
Преобразователи давления измерительные 3051S |
24116-08, 24116-13 |
|
Преобразователи давления измерительные ЭЛЕМЕР-АИР-30 |
37668-13 |
|
Преобразователи давления измерительные ЭЛЕМЕР-АИР-30М |
67954-17 |
|
Влагомеры нефти поточные УДВН-1пм |
14557-05, 14557-10, 14557-15 |
|
Преобразователи плотности жидкости измерительные 7835 |
15644-01, 15644-06, 52638-13 |
|
Преобразователи плотности и расхода CDM |
63515-16 |
|
Устройства программного управления TREI-5B-02 |
16071-97 |
В состав СИКН входят стационарная ТПУ и показывающие СИ объема, давления и температуры, применяемые для контроля технологических режимов работы СИКН.
СОИ и технологическая схема СИКН обеспечивают выполнение следующих функций:
-
- измерение в автоматическом режиме:
-
1) массового расхода нефти по каждой ИЛ и в целом по СИКН;
-
2) объемной доли воды в нефти;
-
3) давления в БИЛ и БИК;
-
4) температуры в БИЛ и БИК;
-
5) плотности нефти;
-
- вычисления в автоматическом режиме:
-
1) суммарной массы брутто нефти от начала отчетного периода и за отдельные периоды;
-
2) массы нетто нефти с учетом показателей качества нефти;
-
3) средних значений температуры, давления, плотности, объемной доли воды в нефти;
-
4) массовой доли воды в нефти;
-
- поверка и контроль метрологических характеристик расходомеров массовых по ТПУ и поточному плотномеру в автоматическом режиме;
-
- контроль метрологических характеристик рабочих и резервного расходомеров массовых с помощью контрольного-резервного расходомера массового;
-
- световая и звуковая сигнализация внештатных состояний СИКН и выхода параметров нефти за установленные пределы;
-
- индикации и регистрации результатов измерений.
Для исключения возможности несанкционированного вмешательства, которое может влиять на показания СИ, входящих в состав СИКН, обеспечена возможность пломбирования СИ в соответствии с требованиями их описаний типа или МИ 3002-2006 (в случае отсутствия требований в описании типа СИ).
Заводской номер 201 в виде цифрового обозначения, состоящего из арабских цифр, наносится ударным способом на шильд-табличку блок-бокса СИКН.
Нанесение знака поверки на СИКН не предусмотрено.
Программное обеспечение
СИКН реализовано в ИВК и в АРМ оператора, оснащенные средствами отображения, управления и печати. Идентификационные данные программного обеспечения (ПО) СИКН приведены в таблицах 2 и 3. Уровень защиты ПО СИКН от непреднамеренных и преднамеренных изменений соответствует уровню «высокий» в соответствии с Р 50.2.077-2014.
Т а б л и ц а 2 - Идентификационные данные ПО ИВК
|
Идентификационные данные (признаки) |
Значение |
|
Идентификационное наименование ПО |
Круг-2000 |
|
Номер версии (идентификационный номер) ПО |
- |
|
Цифровой идентификатор ПО |
- |
|
Алгоритм вычисления контрольной суммы исполняемого кода |
- |
Т а б л и ц а 3 - Идентификационные данные ПО АРМ оператора
|
Идентификационные данные (признаки) |
Значение |
|
Идентификационное наименование ПО |
KrugStat.exe |
|
Номер версии (идентификационный номер) ПО |
4.0 |
|
Цифровой идентификатор ПО |
0X587D16C9 |
|
Алгоритм вычисления контрольной суммы исполняемого кода |
CRC32 |
Метрологические и технические характеристики
Т а б л и ц а 4 - Метрологические характеристики
|
Наименование характеристики |
Значение |
|
Диапазон измерений массового расхода нефти, т/ч |
от 15 до 110 |
|
Пределы допускаемой относительной погрешности измерений массы брутто нефти, % |
±0,25 |
|
Пределы допускаемой относительной погрешности измерений массы нетто нефти, % |
±0,35 |
Т а б л и ц а 5 - Технические характеристики
|
Наименование характеристики |
Значение |
|
Измеряемая среда |
нефть по ГОСТ Р 51858-2002 |
|
Характеристики измеряемой среды: | |
|
- плотность при температуре +20 °С, кг/м3 |
от 870,1 до 895,0 |
|
- давление, МПа |
от 1,2 до 3,0 |
|
- температура, °С |
от +20 до +55 |
|
- массовая доля воды, %, не более |
0,5 |
|
- массовая доля механических примесей, %, не более |
0,05 |
|
- массовая концентрация хлористых солей, мг/дм3, не более |
100 |
|
Параметры электрического питания: | |
|
- напряжение переменного тока, В |
380±38, 220±22 |
|
- частота переменного тока, Гц |
50±1 |
Продолжение таблицы 5
|
Наименование характеристики |
Значение |
|
Условия эксплуатации: - температура окружающего воздуха, °С:
|
от +5 до +40 от +15 до +25 |
|
Режим работы СИКН |
непрерывный |
наносится на титульный лист инструкции по эксплуатации СИКН типографским способом.
Комплектность средства измеренийа б л и ц а 6 - Комплектность средства измерений
|
Наименование |
Обозначение |
Количество, шт./экз. |
|
Система измерений количества и показателей качества нефти № 201 Кальчинского месторождения |
- |
1 |
|
Инструкция по эксплуатации |
- |
1 |
|
Методика поверки |
- |
1 |
представлены в документе «Масса нефти. Методика выполнения измерений автоматизированной системой измерения количества нефти на коммерческом узле № 201 ОАО «Тюменнефтегаз», разработана и аттестована ФБУ «Тюменский ЦСМ», г. Тюмень. свидетельство об аттестации № 015 от 18.11.2001.
Нормативные документы, устанавливающие требования к средству измерений
ГОСТ 8.587-2019 «ГСИ. Масса нефти и нефтепродуктов. Методики (методы) измерений»
Постановление Правительства Российской Федерации от 16.11.2020 № 1847 «Об утверждении перечня измерений, относящихся к сфере государственного регулирования обеспечения единства измерений» (перечень, пункт 6.1.1)
Приказ Росстандарта от 26.09.2022 № 2356 «Об утверждении Государственной поверочной схемы для средств измерений массы и объема жидкости в потоке, объема жидкости и вместимости при статических измерениях, массового и объемного расходов жидкости»
Изготовитель
Общество с ограниченной ответственностью «РН-Уватнефтегаз»
(ООО «РН-Уватнефтегаз»)
ИНН 7225003194
Адрес: 626170, Тюменская область, м.р-н Уватский, с.п. Уватское, с Уват, ул. Иртышская, д.19
Телефон:+7 (3452) 389-999
Факс: +7 (3452) 382-162
E-mail: rn-uvatng@uvng.rosneft.ru
Испытательный центрГосударственный центр испытаний средств измерений ФБУ «Тюменский ЦСМ» Адрес: 625027, Тюменская область, г. Тюмень, ул. Минская, д. 88 Телефон: +7 (3452) 500-328 Факс: +7 3452-280084
E-mail: info@csm72.ru
Аттестат аккредитации ГЦИ СИ ФБУ «Тюменский ЦСМ» по проведению испытаний средств измерений в целях утверждения типа № 30024-11 от 08.08.2011 г.
В части вносимых изменений
Акционерное общество «Нефтеавтоматика»
(АО «Нефтеавтоматика»)
ИНН 0278005403
Адрес:420029, Республика Татарстан, г. Казань, ул. Журналистов, д. 2а
Уникальный номер записи в реестре аккредитованных лиц № RA.RU.311366
ПРИЛОЖЕНИЕ
к приказу Федерального агентства по техническому регулированию
и метрологии
от «___» сентяб_ 2025 г. № 1988
Сведения
об утвержденных типах средств измерений, подлежащие изменению
в части конструктивных изменений, влияющих на метрологические характеристики средств измерений
|
№ п/п |
Наименование типа |
Обозначение типа |
Заводской номер |
Регистрационный номер в ФИФ |
Правообладатель |
Отменяемая методика поверки |
Действие методики поверки сохраняется |
Устанавливаемая методика поверки |
Добавляемый изготовитель |
Дата утверждения акта испытаний |
Заявитель |
Юридическое лицо, проводившее испытания |
|
1 |
2 |
3 |
4 |
5 |
6 |
7 |
8 |
9 |
10 |
11 |
12 |
13 |
|
1. |
Система измерений количества и показателей качества нефти Западно-Усть-Балыкского месторождения ОАО «Славнефть-Мегионнефтегаз » СИКН № 1502 |
65 |
66020-16 |
ВЯ.10.1704875 .00 МП |
ВЯ.31.1100338 .00 МП |
02.06. 2025 |
Публичное акционерное общество «Славнефть-Мегионнефт егаз» (ПАО «СН-МНГ»), Ханты-Мансийский автономный округ -Югра, г. Мегион |
ФБУ «Тюменский ЦСМ», г. Тюмень | ||||
|
2. |
Система измерений количества и показателей качества нефти № 201 |
201 |
57264-14 |
МП 57264-14 «Инструкция. ГСИ. Система измерений количества и показателей |
НА.ГНМЦ.088 6-25 МП |
10.02. 2025 |
Общество с ограниченно й ответственно стью «РН-Уватнефтегаз |
АО «Нефтеавтом атика», г. Казань |
|
Кальчинского месторождения |
качества нефти № 201 Кальчинского месторождени я. Методика поверки» (утверждена ФБУ «Тюменский ЦСМ» 02.12.2013 г.) |
» (ООО «РН-Уватнефтегаз Тюменская обл., с. Уват | ||||||||||
|
3. |
Система измерительная испытательного стенда |
472-17-905 |
472-17-905 |
78524-20 |
МП 2071-0001 2020 |
МП 2071-00012025 |
11.07. 2025 |
Публичное акционерное общество «ЗВЕЗДА» (ПАО «ЗВЕЗДА»), г. Санкт-Петер бург |
ФГУП «ВНИИМ им. Д. И. Менделеева» г. Санкт-Петербург |

