№1071 от 02.06.2025
Приказ Федерального агентства по техническому регулированию и метрологии (Росстандарт)
# 685004
ПРИКАЗ О внесении изменений в сведения об утвержденных типах СИ (7)
Приказы по основной деятельности по агентству Вн. Приказ № 1071 от 02.06.2025
УТВЕРЖДЕНО приказом Федерального агентства по техническому регулированию и метрологии от «02» июня 2025 г. №1071
Лист № 1
Всего листов 6
Регистрационный № 94094-24
ОПИСАНИЕ ТИПА СРЕДСТВА ИЗМЕРЕНИЙ
Приборы для определения газопроницаемости СМП-ГП
Назначение средства измерений
Приборы для определения газопроницаемости СМП-ГП (далее - приборы) предназначены для измерений коэффициента газопроницаемости при заданном значении обратного порового давления и коэффициента абсолютной газопроницаемости образцов методом стационарной фильтрации.
Описание средства измерений
Принцип действия приборов основан на одновременном измерении объёмного расхода, температуры и перепада давления газа при его фильтрации через исследуемый образец. Приборы позволяют измерять коэффициент газопроницаемости при заданном обратного порового давления и коэффициент абсолютной газопроницаемости стационарной фильтрации.
При проведении измерений коэффициента газопроницаемости при заданном
значении методом
значении обратного порового давления (среднее давление газа между входной и выходной поверхностью исследуемого образца) исследуемый образец цилиндрической формы с известными значениями длины и диаметра (либо образец кубической формы с известным значением длины ребра) помещается в кернодержатель прибора, после чего происходит его герметизация путем обжима резиновой манжетой внутри кернодержателя с заданным значением обжимного давления. Далее создается избыточное постоянное давление газа на входной поверхности исследуемого образца, в результате чего начинается процесс стационарной фильтрации (скорость потока газа неизменна во времени) этого газа через образец с линейным направлением потока. Во время этого процесса программным обеспечением прибора фиксируются показания датчиков давления, температуры и объёмного расхода газа. По полученным показаниям производится расчет коэффициента газопроницаемости при заданном значении обратного порового давления согласно формуле Дарси. Для измерения коэффициента абсолютной газопроницаемости согласно эффекту Клинкенберга проводится от трех и более измерений коэффициента газопроницаемости образца при различных значениях обратного порового давления.
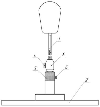
Конструктивно приборы состоят из следующих блоков: блок кернодержателей в виде металлической подставки с установленным на ней кернодержателем (кернодержателями); основной блок со встроенными в него электронным блоком управления, газовым трактом, датчиками давления и температуры, расходомерами, пневматическими и электромеханическими клапанами; блок создания давления обжима исследуемого образца в кернодержателе, оснащенный пневматическим и/или гидравлическим насосом; персональный компьютер для управления прибором. Функционирование пневматических клапанов и блока создания давления обжима осуществляется с помощью давления сжатого воздуха, создаваемого компрессором (поставляется опционально) или иным способом.
Корпус приборов изготавливают из металлических сплавов, окрашивают в соответствии с технической документацией производителя.
в цвета
боковой формат
Каждый экземпляр приборов имеет заводской номер, расположенный на стороне основного блока прибора. Заводской номер имеет буквенно-цифровой и наносится травлением, гравированием, типографским или иным пригодным способом. Нанесение знака поверки на средство измерений не предусмотрено.
Общий вид и место нанесения заводского номера на приборы представлены на рисунке 1.
Место нанесения заводского номера

Рисунок 1 - Общий вид и место нанесения заводского номера на приборы для определения газопроницаемости СМП-ГП
Пломбирование приборов не предусмотрено. Конструкция приборов обеспечивает ограничение доступа к частям приборов, несущим первичную измерительную информацию, и местам настройки (регулировки).
Программное обеспечение
Приборы оснащены программным обеспечением (далее - ПО), позволяющим осуществлять контроль процесса измерений, осуществлять сбор экспериментальных данных, обрабатывать и сохранять полученные результаты.
Уровень защиты ПО приборов от непреднамеренных и преднамеренных изменений соответствует уровню «Средний» по Р 50.2.077-2014.
Идентификационные данные ПО приборов приведены в таблице 1.
Таблица 1 - Идентификационные данные ПО
|
Идентификационные данные (признаки) |
Значение |
|
Идентификационное наименование ПО |
СМП-ГП |
|
Номер версии (идентификационный номер) ПО |
1.0.0.XX* |
|
Цифровой идентификатор |
- |
|
*«X» не относится к метрологически значимой части ПО |
и принимает значения |
|
от 0 до 9 |
Влияние ПО на метрологические характеристики приборов учтено при нормировании характеристик.
Метрологические и технические характеристики
Таблица 2 -
|
Наименование характеристики |
Значение |
|
Диапазон измерений коэффициента газопроницаемости при заданном значении обратного порового давления, 10-3^мкм2 (мД) 1) |
от 0,05 до 5 000 |
|
Пределы допускаемой относительной погрешности измерений коэффициента газопроницаемости при заданном значении обратного порового давления в поддиапазоне от 0,05 до 0,24 [10-3^мкм2] (мД) 1) включ., % |
± 25 |
|
Пределы допускаемой абсолютной погрешности измерений коэффициента газопроницаемости при заданном значении обратного порового давления в поддиапазоне св. 0,24 до 1 [10-3^мкм2] (мД) 1) включ., [10-3^мкм2] (мД) 1) |
± 0,06 |
|
Пределы допускаемой относительной погрешности измерений коэффициента газопроницаемости при заданном значении обратного порового давления в поддиапазоне св. 1 до 5000 [10-3^мкм2] (мД) 1), % |
± 6 |
|
Диапазон измерений коэффициента абсолютной газопроницаемости, 10-3^мкм2 (мД) 1) |
от 0,05 до 5 000 |
|
Пределы допускаемой относительной погрешности измерений коэффициента абсолютной газопроницаемости в поддиапазоне от 0,05 до 0,24 [10-3^мкм2] (мД) 1) включ., % |
± 25 |
|
Пределы допускаемой абсолютной погрешности измерений коэффициента абсолютной газопроницаемости в поддиапазоне св. 0,24 до 1 [10-3^мкм2] (мД) 1) включ., [10-3^мкм2] (мД) 1) |
± 0,06 |
|
Пределы допускаемой относительной погрешности измерений коэффициента абсолютной газопроницаемости в поддиапазоне св. 1 до 5000 [10-3^мкм2] (мД) 1), % |
± 6 |
|
1) 1 миллидарси [мД]=0,986923^10-15 м2 = 0,986923^10-3 мкм2 |
Таблица 3 - Основные технические характеристики
|
Наименование характеристики |
Значение |
|
Диаметр исследуемых образцов цилиндрической формы, мм |
от 8 до 110 |
|
Длина исследуемых образцов цилиндрической формы, мм, не более |
100 |
|
Длина ребра исследуемых образцов кубической формы, мм |
30; 40; 50 |
|
Диапазон давления обжима газом, МПа |
от 1 до 3 |
|
Диапазон давления обжима жидкостью, МПа |
от 1 до 70 |
|
Диапазон порового давления, МПа |
от 0,01 до 1,6 |
|
Давление сжатого воздуха для функционирования пневматических клапанов и блока создания давления обжима, МПа |
от 0,55 до 0,65 |
|
Используемые газы при измерениях |
гелий, азот, воздух |
|
Параметры электрического питания: - напряжение переменного тока, В |
220±22 |
|
- частота переменного тока, Г ц |
50/60 |
|
Наименование характеристики |
Значение |
|
Габаритные размеры блока кернодержателей, мм, не более: - высота |
2000 |
|
- ширина |
800 |
|
- длина |
800 |
|
Габаритные размеры основного блока, мм, не более: - высота |
450 |
|
- ширина |
750 |
|
- длина |
750 |
|
Габаритные размеры блока создания давления обжима, оснащенного пневматическим насосом, мм, не более: - высота |
400 |
|
- ширина |
450 |
|
- длина |
850 |
|
Габаритные размеры блока создания давления обжима, оснащенного гидравлическим насосом, мм, не более: - высота |
400 |
|
- ширина |
450 |
|
- длина |
850 |
|
Масса, кг, не более |
500 |
|
Условия окружающей среды: - температура окружающей среды, °С |
от +20 до +30 |
|
- относительная влажность, % |
от 10 до 80 |
Знак утверждения типа
наносится на титульный лист руководства по эксплуатации типографским способом.
Комплектность средства измерений
Таблица 4 - Комплектность средства измерений
|
Наименование |
Обозначение |
Количество |
|
Прибор для определения газопроницаемости |
СМП-ГП |
1 шт. |
|
Кернодержатель для цилиндрических образцов диаметром, отличным от 30 мм |
- |
1 шт.* |
|
Кернодержатель для кубических образцов |
- |
1 шт.* |
|
Блок создания давления обжима, оснащенный гидравлическим насосом |
- |
1 шт.* |
|
Компрессор с ресивером и фильтрами |
- |
1 шт.* |
|
Наименование |
Обозначение |
Количество |
|
Персональный компьютер (системный блок в комплекте с монитором, клавиатурой и компьютерной мышью либо моноблок в комплекте с клавиатурой и компьютерной мышью, либо ноутбук в комплекте с компьютерной мышью) |
- |
1 шт. |
|
Программное обеспечение |
СМП-ГП |
1 шт. |
|
Комплект кабелей |
- |
1 шт. |
|
Комплект расходных материалов и ЗИП |
- |
1 шт. |
|
Руководство по эксплуатации |
01440184.441424.КТ.XХХХ РЭ** |
1 экз. |
|
Руководство по эксплуатации программного обеспечения |
01440184.441424.КТ.XХХХ РЭ ПО** |
1 экз. |
|
Паспорт |
01440184. 441424.КТ.ХХХХ ПС** |
1 экз. |
|
Методика поверки |
- |
1 экз.* |
|
* - по заказу ** «XXXX» - заводской номер прибора | ||
Сведения о методиках (методах) измерений
приведены в документе 01440184.441424.КТ.ХХХХ РЭ «Прибор для определения газопроницаемости СМП-ГП. Руководство по эксплуатации», раздел 1.1 «Описание и работа».
Применение приборов в сфере государственного регулирования обеспечения единства измерений осуществляется в соответствии с аттестованными методиками (методами) измерений.
Нормативные документы, устанавливающие требования к средству измерений
№ 315 удельной открытой
Приказ Росстандарта Российской Федерации от 15 марта 2021 г.
«Об утверждении Государственной поверочной схемы для средств измерений адсорбции газов, удельной поверхности, удельного объема пор, размера пор, пористости и коэффициента газопроницаемости твердых веществ и материалов»;
ТУ 28.99.39-011-01440184-2022 «Прибор для определения газопроницаемости СМП-ГП. Технические условия».
Правообладатель
Общество с ограниченной ответственностью «Кортех» (ООО «Кортех») ИНН 5029202619
Юридический адрес: 141006, Московская обл., г. Мытищи, 2-й Рупасовский пер., лит.
3, оф. 205 Телефон/факс: +7 (499) 707-79-66 E-mail: office@kortekh.ru
Web-сайт: www.kortekh.ru
Изготовитель
Общество с ограниченной ответственностью «Кортех» (ООО «Кортех»)
ИНН 5029202619
Адрес места осуществления деятельности: 141006, Московская обл., г.о. Мытищи, ш. Волковское, стр. 15Г/2, оф. 205
Телефон/факс: +7 (499) 707-79-66
E-mail: office@kortekh.ru
Web-сайт: www.kortekh.ru
Испытательный центр
Уральский научно-исследовательский институт метрологии - филиал Федерального государственного унитарного предприятия «Всероссийский научно-исследовательский институт метрологии имени Д.И. Менделеева» (УНИИМ - филиал ФГУП «ВНИИМ им. Д.И.Менделеева»)
Адрес: 620075, г. Екатеринбург, ул. Красноармейская, д. 4
Уникальный номер записи в реестре аккредитованных лиц № RA.RU.311373.
УТВЕРЖДЕНО приказом Федерального агентства по техническому регулированию и метрологии от «02» июня 2025 г. №1071
Лист № 1
Всего листов 6
предназначены
Регистрационный № 93108-24
ОПИСАНИЕ ТИПА СРЕДСТВА ИЗМЕРЕНИЙ
Газометры автоматические КИНГ-Газометр
Назначение средства измерений
Газометры автоматические КИНГ-Газометр (далее - газометры) для измерений объема газа при заданном давлении.
Описание средства измерений
Принцип действия газометра состоит в наполнении измерительного цилиндра газом при известном давлении и температуре. Измеренный объем пропорционален перемещению поршня при известной площади поперечного сечения измерительного цилиндра.
В корпусе газометра размещены: панели управления газометром, преобразователи давления и температуры, блок вентилей, перистальтический циркуляционный насос, измерительный цилиндр из нержавеющей стали с поршнем. Перемещение поршня внутри измерительного цилиндра осуществляется при помощи серводвигателя с угловым энкодером. Перемещение поршня может осуществляться в двух режимах: режим постоянной скорости изменения объема (постоянной скорости перемещения поршня) и режим поддержания постоянного давления.
Управление газометром осуществляется при помощи сенсорного программируемого контроллера.
Ручные впускные и выпускные вентили используются для управления потоком газа. Корпус газометров изготавливается из алюминиевого профиля, окрашенного в цвета по требованиям заказчика, и панелей, изготавливаемых из композитного материала или листового металла, окрашенных в цвета по требованиям заказчика. Газометр смонтирован на раме, которая оснащена четырьмя роликовыми колесами для его перемещения. По заказу газометры поставляются с различным исполнением измерительного цилиндра (2, 4, 6 или 10 дм3).
Ниша под панелью управления предназначена для размещения устройства для отбора проб газа после замера его объема, или ловушки для улавливания капель жидкости. На задней панели ниши на свободном пространстве могут располагаться вентили, предназначенные для удобного перевода пробы газа в пробоотборные устройства.
Общий вид газометра представлен на рисунках 1 и 2.
Нанесение знака поверки на газометры не предусмотрено. Газометры имеют маркировку: наименование производителя, наименование средства измерений, заводской номер, год выпуска, которая наносится на табличку, закрепленную на свободном пространстве лицевой панели корпуса прибора. Цвет таблички может быть серым или белым. Заводской номер имеет буквенно-цифровой формат: «КТ.XXXX». Маркировка наносится травлением, гравированием, типографским или иным пригодным способом.
Общий вид маркировочной таблички показан на рисунке 3.
Пломбирование газометра не предусмотрено. Конструкция газометров обеспечивает несущим первичную измерительную информацию, местам
ограничение доступа к частям, настройки (регулировки).
Рисунок 1 - Общий вид газометра со стальной рамой без вентилей в нише

Рисунок 2 - Общий вид газометра с рамой из алюминиевого профиля с вентилями на задней панели ниши, ловушкой для улавливания капель жидкости
ООО «Кортеж» 141006,
Россия, г Мытищи, переулок2-й Рупасовский, литера 3 ИНН 5029202619 КПП 502901001 теп . 8 (499) 707-79-66 http://kortekh.ru
е-гп.аЦ office@kortekh.ru

№ КТ. 1173
2022 г. Сделано в России
Рисунок 3 - Общий вид маркировочной таблички
Программное обеспечение
Программное обеспечение (ПО) газометра является встроенным и устанавливается в сенсорном программируемом контролере блока управления, имеет функции: управления работой газометра, вывода на цифровое табло индикации блока управления информации о давлении, объеме, и температуре измерительного цилиндра.
Идентификационные данные программного обеспечения (ПО) приведены в таблице 1.
Таблица 1 - Идентификационные данные ПО
|
Идентификационные данные (признаки) |
Значение |
|
Идентификационное наименование ПО |
КИНГ -Г азометр |
|
Номер версии (идентификационный номер) ПО |
3.5.16.ХХ |
|
Цифровой идентификатор ПО |
- |
|
Примечания: Обозначение «Х» в записи номера версии заменяет элементы, отвечающие за метрологически незначимую часть ПО и может принимать значения от 0 до 9. | |
Уровень защиты программного обеспечения от непреднамеренных и преднамеренных изменений соответствует уровню «средний» в соответствии с Р 50.2.077-2014 .
Нормирование метрологических характеристик проведено с учетом того, что программное обеспечение является неотъемлемой частью газометра.
Метрологические и технические характеристики
Таблица 2 - Метрологические характеристики
|
Наименование характеристики |
Значение |
|
Диапазон измерений объема газа, дм3 |
от 0,05 до 10 |
|
Пределы допускаемой относительной погрешности измерений вместимости рабочего участка измерительного цилиндра, % |
±0,1 |
Таблица 3 - Основные технические
|
Наименование характеристик |
Значение |
|
Температура рабочего цилиндра °C |
от +10 до +60 |
|
Вместимость измерительного цилиндра, дм3 |
2, 4, 6, 10 (по заказу) |
|
Рабочее избыточное давление, МПа |
от 0 до 0,4 |
|
Условия эксплуатации: - температура окружающей среды, °С |
от +15 до +35 |
|
- относительная влажность, % |
от 10 до 80 |
|
Габаритные размеры, мм, не более - высота |
1700 |
|
- ширина |
550 |
|
- длина |
650 |
|
Масса, кг, не более |
160 |
|
Средний срок службы, лет |
12 |
|
Средняя наработка до отказа, ч, не менее |
31500 |
Знак утверждения типа
наносится на маркировочную табличку методом печати, которая крепится на корпусе газометра, и на титульные листы эксплуатационной документации типографским способом.
Комплектность средства измерений
Комплектность средства измерений представлена в таблице 4.
Таблица 4 - Комплектность
|
Наименование |
Обозначение |
Количество |
|
Г азометр автоматический |
КИНГ -Г азометр |
1 шт. |
|
Расходные материалы и ЗИП |
- |
1 комплект |
|
Ловушка для жидкости |
- |
1 шт. * |
|
Термостат для ловушки (блок холодной сепарации) |
- |
1 шт. * |
|
Циркуляционный насос |
- |
1 шт. * |
|
Паспорт (в соответствии с исполнением измерительного цилиндра) |
01440184.441424. ХХХХ** ПС |
1 экз. |
|
Руководство по эксплуатации |
01440184. 441424. ГА РЭ |
1 экз. |
|
Примечания: *- в соответствии с заказом **- заводской номер | ||
Сведения о методиках (методах) измерений
приведены в разделе 2 «Использование по назначению» руководства по эксплуатации 01440184. 441424.ГА РЭ «Газометр автоматический» КИНГ-Газометр.
Нормативные документы, устанавливающие требования к средству измерений
ТУ 28.99.39-008-01440184-2022 Газометр автоматический КИНГ-Газометр. Технические условия.
Правообладатель
Общество с ограниченной ответственностью «Кортех» (ООО «Кортех») ИНН 5029202619
Юридический адрес: 141006, Московская обл., г. Мытищи, Рупасовский 2-й пер., лит. №3, оф. 205
Телефон: 8 (499) 707-79-66
E-mail: office@ kortekh.ru
Web-сайт www.kortekh.ru
Изготовитель
Общество с ограниченной ответственностью «Кортех» (ООО «Кортех») ИНН 5029202619
Адрес места осуществления деятельности: 141006, Московская обл., г.о. Мытищи, ш. Волковское, стр. 15Г/2, оф. 205
Телефон: 8 (499) 707-79-66
E-mail: office@ kortekh.ru
Web-сайт www.kortekh.ru
Испытательный центр Федеральное государственное научно-исследовательский институт (ФГУП «ВНИИМ им. Д.И. Менделеева»)
Адрес: 190005, г. Санкт-Петербург, Московский пр-кт, д. 19 Телефон: (812) 251-76-01 Факс: (812) 713-01-14 E-mail: info@vniim.ru
Web-сайт: www.vniim.ru
Уникальный номер записи в реестре аккредитованных лиц № RA.RU.314555.
унитарное метрологии
предприятие имени Д.И.
«Всероссийский
Менделеева»
УТВЕРЖДЕНО приказом Федерального агентства по техническому регулированию и метрологии от «02» июня 2025 г. №1071
Лист № 1
Всего листов 5
Регистрационный № 87352-22
ОПИСАНИЕ ТИПА СРЕДСТВА ИЗМЕРЕНИЙ
Приборы для изучения акустических свойств образцов горных пород в атмосферных условиях СМП-УЗ
Назначение средства измерений
Приборы для изучения акустических свойств образцов горных пород в атмосферных условиях СМП-УЗ (далее - приборы) предназначены для измерений скорости распространения упругих продольных и сдвиговых (поперечных) ультразвуковых волн в образцах горных пород.
Описание средства измерений
Принцип действия приборов основан на измерении времени распространения упругих продольных и сдвиговых (поперечных) ультразвуковых волн от источника этих волн до приемника через исследуемый образец. На основе данных об измерении времени распространения упругих продольных и сдвиговых ультразвуковых волн и длины исследуемого образца производится расчет скорости распространения упругих продольных и сдвиговых волн. Скорость распространения упругих продольных и сдвиговых ультразвуковых волн зависит от структуры твердой среды. Распространение упругих волн в твердой среде сопровождается постепенным уменьшением их интенсивности (амплитуды) по мере удаления от источника излучения. Уменьшение интенсивности (амплитуды) упругих волн происходит в результате поглощения части энергии упругих колебаний частицами твердой среды и преобразования их в тепловую, обусловленную взаимным трением частиц твердой среды, совершающих колебательные движения, а также рассеивания акустической энергии на неоднородностях твердой среды. Конструктивно приборы представляют собой систему, состоящую из следующих блоков: устройство для фиксации образцов (пресс), электронный блок, генерирующий ультразвуковые волны, осциллограф.
Нанесение знака поверки на приборы не предусмотрено. Приборы имеют заводские номера, расположенные на устройстве для фиксации образцов. Заводской номер имеет буквенно-цифровой формат и наносится травлением, гравированием, типографским или иным пригодным способом.
Пломбирование приборов не предусмотрено. Конструкция приборов обеспечивает ограничение доступа к частям, несущим первичную измерительную информацию, местам настройки (регулировки).
Общий вид приборов представлен на рисунке 1. Место расположения заводского номера представлено на рисунке 2.
Рисунок 1 - Общий вид приборов для изучения акустических свойств образцов горных пород в атмосферных условиях СМП-УЗ
Рисунок 2 - Место расположения заводского номера
Программное обеспечение
Приборы оснащены внешним программным обеспечением, позволяющим проводить контроль процесса измерений, осуществлять сбор экспериментальных данных, обрабатывать и сохранять полученные результаты, передавать результаты измерений на персональный компьютер.
Уровень защиты программного обеспечения от непреднамеренных и преднамеренных изменений соответствует уровню «высокий» в соответствии с Р 50.2.077-2014.
Идентификационные данные программного обеспечения (ПО) приборов приведены в таблице 1.
Таблица 1 - Идентификационные данные ПО
|
Идентификационные данные (признаки) |
Значение |
|
Идентификационное наименование ПО |
СМП-УЗ |
|
Номер версии (идентификационный номер) ПО |
не ниже 1.0.0.0 |
|
Цифровой идентификатор ПО |
- |
Метрологические и технические характеристики
Таблица 2 -
|
Наименование характеристики |
Значение |
|
Диапазон измерений скорости распространения продольных ультразвуковых волн, м/с |
от 2000 до 7000 |
|
Пределы допускаемой относительной погрешности измерений скорости распространения продольных ультразвуковых волн, % |
± 3 |
|
Диапазон измерений скорости распространения сдвиговых ультразвуковых волн, м/с |
от 500 до 4000 |
|
Пределы допускаемой абсолютной погрешности измерений скорости распространения сдвиговых ультразвуковых волн в диапазоне от 500 до 1400 м/с включ., м/с |
± 55 |
|
Пределы допускаемой относительной погрешности измерений скорости распространения сдвиговых ультразвуковых волн в диапазоне св. 1400 до 4000 м/с включ., % |
± 4 |
|
Диапазон показаний скорости распространения упругих продольных ультразвуковых волн, м/с |
от 1000 до 9000 |
|
Диапазон показаний скорости распространения сдвиговых ультразвуковых волн, м/с |
от 200 до 5000 |
Таблица 3 - Основные технические характеристики
|
Наименование характеристики |
Значение |
|
Диаметр исследуемых образцов цилиндрической формы, мм |
от 25 до 130 |
|
Длина исследуемых образцов цилиндрической формы, мм, не более |
от 25 до 150 |
|
Сторона ребра исследуемых образцов кубической формы, мм |
30, 40, 50 |
|
Допускаемое отклонение геометрических размеров образцов, мм |
±1 |
|
Частота повторения зондирующих импульсов, Гц |
от 1 до 1000 |
|
Амплитуда выходных импульсов, В |
от 200 до 400 |
|
Усилитель (коэффициент усиления) |
10, 20, 30, 40 и 50 |
|
Регулируемая частота сигнала, МГ ц |
от 0,1 до 1 |
|
Изменяемая длительность выходных импульсов, мкс |
0,5 и 1 |
|
Наименование характеристики |
Значение |
|
Максимальное осевое усилие, создаваемой на измерительном прессе, кН |
10 |
|
Параметры электрического питания: - напряжение переменного тока, В |
220±11 |
|
- частота переменного тока, Г ц |
50/60 |
|
Габаритные размеры устройства для фиксации образцов (пресс), мм, не более | |
|
- высота |
600 |
|
- ширина |
250 |
|
- длина |
250 |
|
Габаритные размеры электронного блок, генерирующий ультразвуковые волны, мм, не более | |
|
- высота |
150 |
|
- ширина |
200 |
|
- длина |
300 |
|
Габаритные размеры осциллографа, мм, не более | |
|
- высота |
300 |
|
- ширина |
300 |
|
- длина |
500 |
|
Масса, кг, не более |
50 |
|
Условия эксплуатации: - температура окружающей среды, °С |
от +15 до +30 |
|
- относительная влажность, % |
от 10 до 80 |
Знак утверждения типа
наносится на титульный лист руководства по эксплуатации типографским способом.
Комплектность средства измерений
Таблица 4 - Комплектность
|
Наименование |
Обозначение |
Количество |
|
Прибор для изучения акустических свойств образцов горных пород в атмосферных условиях в составе: |
СМП-УЗ |
1 шт. |
|
Устройство для фиксации образцов (пресс), |
- |
1 шт. |
|
Электронный блок, генерирующий ультразвуковые волны, |
- |
1 шт. |
|
Осциллограф |
- |
1 шт. |
|
ЗИП |
- |
1 комплект |
|
Персональный компьютер |
- |
1 шт. |
|
Комплект кабелей |
- |
1 шт. |
|
Программное обеспечение |
СМП-УЗ |
1 шт. |
|
Руководство по эксплуатации |
01440184.441424.УЗ РЭ |
1 экз. |
|
Паспорт |
01440184.441424.XXXXXX* ПС |
1 экз. |
|
Методика поверки |
- |
1 экз |
|
* - заводской номер прибора | ||
Сведения о методиках (методах) измерений
приведены в руководстве по эксплуатации 01440184.441424.УЗ РЭ, раздел 1 «Описание и работа».
Нормативные и технические документы, устанавливающие требования к средству измерений
Приказ Росстандарта от 29 декабря 2018 г. №2842 «Об утверждении Государственной поверочной схемы для средств измерений скоростей распространения и коэффициента затухания ультразвуковых волн в твердых средах»;
ТУ 28.99.39-005-01440184-2021 Прибор для изучения акустических свойств образцов горных пород в атмосферных условиях «СМП-УЗ». Технические условия.
Правообладатель
Общество с ограниченной ответственностью «Кортех» (ООО «Кортех»)
Адрес: 141006, Московская обл., г. Мытищи, Рупасовский 2-й пер., лит. № 3, оф. 205
Изготовитель
Общество с ограниченной ответственностью «Кортех» (ООО «Кортех»)
Адрес юридического лица: 141006, Московская обл., г. Мытищи, Рупасовский 2-й пер., лит. № 3, оф. 205
Адрес места осуществления деятельности: 141006, Московская обл., г.о. Мытищи, ш. Волковское, стр. 15Г/2, оф. 205
Испытательный центр
Уральский научно-исследовательский институт метрологии - филиал Федерального государственного унитарного предприятия «Всероссийский научно-исследовательский институт метрологии имени Д.И. Менделеева» (УНИИМ - филиал ФГУП «ВНИИМ им. Д.И. Менделеева»)
Адрес: 620075, г. Екатеринбург, улица Красноармейская, д. 4
Уникальный номер записи в реестре аккредитованных лиц № RA.RU.311373.
УТВЕРЖДЕНО приказом Федерального агентства по техническому регулированию и метрологии от «02» июня 2025 г. №1071
Лист № 1
Всего листов 7
Регистрационный № 83400-21
ОПИСАНИЕ ТИПА СРЕДСТВА ИЗМЕРЕНИЙ
Установки для измерения пористости и проницаемости СМП-ПП
Назначение средства измерений
Установки для измерения пористости и проницаемости СМП-ПП (далее - установки) предназначены для измерений открытой пористости газоволюметрическим методом и коэффициента абсолютной газопроницаемости методом нестационарной фильтрации.
Описание средства измерений
Принцип действия установок основан на фильтрации газа исследуемым образцом керна.
При измерении открытой пористости исследуемый образец керна цилиндрической формы с известными значениями длины и диаметра (либо образец кубической формы с известным значением длины ребра) помещается в кернодержатель установки, после чего происходит его герметизация путем обжима резиновой манжетой внутри кернодержателя с заданным значением обжимного давления. Таким образом, объём камеры, в которой находится исследуемый образец керна, становится равным объёму этого образца. Выбирается газ для измерений (гелий или азот). Далее производится расширение выбранного газа из ёмкости известного объёма в камеру с образцом. Так как резиновая манжета плотно обжимает образец, газ занимает только объём пор образца. По разности значений давления и температуры газа до и после расширения, согласно закону Бойля-Мариотта, производится расчет объёма пор исследуемого образца керна. По полученному значению объёма пор и известным значениям длины и диаметра цилиндрического образца (либо длины ребра кубического образца) производится расчет открытой пористости.
При измерении коэффициента абсолютной газопроницаемости исследуемый образец керна цилиндрической формы с известными значениями длины и диаметра (либо образец кубической формы с известными значениями длины ребра) помещается в кернодержатель установки, после чего происходит его герметизация путем обжима резиновой манжетой внутри кернодержателя с заданным значением обжимного давления. Выбирается газ для измерений (гелий или азот). Производится измерение открытой пористости образца, значение которой необходимо для расчета коэффициента абсолютной газопроницаемости. После измерения открытой пористости начинается измерение коэффициента абсолютной газопроницаемости. Происходит открытие клапана, соединяющего камеру с образцом и ёмкость известного объёма над образцом, в которой находится газ с заданным значением давления. Начинается процесс фильтрации газа из ёмкости над образцом через исследуемый образец в окружающую среду. В ходе данного процесса программным обеспечением установки фиксируются показания датчика давления, установленного в ёмкости над образцом, и соответствующие этим показаниям значения времени. По полученной зависимости давления от времени производится расчет коэффициента абсолютной газопроницаемости.
Конструктивно установки представляют собой автоматизированную систему измерений параметров открытой пористости и коэффициента абсолютной газопроницаемости образцов керна. Установка включает в себя следующие основные функциональные блоки: блок поддержания обжимного давления, блок поддержания порового давления, блок измерения температуры и давления газа, ёмкости с калиброванным объёмом, блок манифольда, кернодержатель, система пневматических клапанов, регулятор давления, контроллер управления, а также периферийные блоки, отвечающие за функционирование основных. Корпус установок изготавливается из алюминиевого профиля, окрашенного в цвета по требованиям заказчика, и панелей, изготавливаемых из композитного материала или листового металла, окрашенных в цвета по требованиям заказчика. По требованию заказчика в комплекте с установкой могут поставляться дополнительный кернодержатель для цилиндрических образцов диаметром, отличным от 30 мм, а также кернодержатель для кубических образцов. Дополнительные кернодержатели располагаются отдельно от корпуса установки на специальной подставке и соединяются с корпусом установки трубками для подачи газа. Для удобства контроля входного давления от баллона с газом на лицевой панели корпуса, справа или слева от кернодержателя, может располагаться манометр входного газа, дублирующий показания манометра на редукторе баллона. Также установки могут оснащаться цифровой информационной панелью, расположенной в свободной части лицевой панели.
Нанесение знака поверки на установки не предусмотрено. Установки имеют маркировку: наименование производителя, наименование средства измерений, заводской номер, год выпуска, которая наносится на табличку, закрепленную на свободном пространстве лицевой панели корпуса прибора слева или справа от кернодержателя. Цвет таблички может быть серым или белым. Заводской номер имеет буквенно-цифровой формат. Маркировка наносится травлением, гравированием, типографским или иным пригодным способом.
Общий вид установок представлен на рисунках 1-4.
Рисунок 1 - Общий вид установки для измерения пористости и проницаемости СМП-ПП без манометра входного давления с указанием места нанесения маркировки
Рисунок 2 - Общий вид установки для измерения пористости и проницаемости СМП-ПП с манометром входного давления слева от кернодержателя с указанием места нанесения маркировки
Рисунок 3 - Общий вид установки для измерения пористости и проницаемости СМП-ПП с манометром входного давления справа от кернодержателя с указанием места нанесения маркировки
Рисунок 4 - Общий вид установки для измерения пористости и проницаемости СМП-ПП с манометром входного давления и цифровой информационной панелью с указанием места нанесения маркировки
Пломбирование установок не предусмотрено. Конструкция установок обеспечивает ограничение доступа к частям, несущим первичную измерительную информацию, местам настройки (регулировки).
Программное обеспечение
Установки оснащены внешним программным обеспечением, позволяющим проводить контроль процесса измерений, осуществлять сбор экспериментальных данных, обрабатывать и сохранять полученные результаты, передавать результаты измерений на персональный компьютер.
Уровень защиты программного обеспечения от непреднамеренных и преднамеренных изменений соответствует уровню «высокий» в соответствии с Р 50.2.077-2014.
Идентификационные данные программного обеспечения (ПО) установок приведены в таблице 1.
Таблица 1 -
данные ПО
|
Идентификационные данные (признаки) |
Значение |
|
Идентификационное наименование ПО |
СМП-ПП |
|
Номер версии (идентификационный номер) ПО |
не ниже 1.0.0.29 |
|
Цифровой идентификатор ПО |
- |
Метрологические и технические характеристики
Таблица 2 - Метрологические характеристики
|
Наименование характеристики |
Значение |
|
Диапазон измерений открытой пористости, % |
от 0,6 до 52 |
|
Пределы допускаемой абсолютной погрешности измерений открытой пористости в поддиапазоне от 0,6 до 16,7 % включ., % |
± 0,5 |
|
Пределы допускаемой относительной погрешности измерений открытой пористости в поддиапазоне св. 16,7 до 52 %, % |
± 3 |
|
Диапазон измерений коэффициента абсолютной газопроницаемости, 10-3 мкм2 (мД) 1) |
от 0,1 до 5000 |
|
Пределы допускаемой абсолютной погрешности измерений коэффициента абсолютной газопроницаемости в поддиапазоне от 0,1^10-3 до 0,633^10-3 мкм2 (мД) 1) включ., 10-3 мкм2 (мД) 1) |
± 0,05 |
|
Пределы допускаемой относительной погрешности измерений коэффициента абсолютной газопроницаемости в поддиапазоне св. 0,633^10-3 до 5000^10-3 мкм2 (мД) D, % |
± 8 |
|
Диапазон показаний открытой пористости, % |
от 0 до 60 |
|
Диапазон показаний коэффициента абсолютной газопроницаемости, 10-3 мкм2 (мД) 1) |
от 0,001 до 10000 |
|
1) 1 миллидарси [мД]=0,986923^10-15 м2 = 0,986923^10-3 мкм2 | |
Таблица 3 - Основные технические
|
Наименование характеристики |
Значение |
|
Диаметр исследуемых образцов цилиндрической формы, мм |
от 8 до 110 |
|
Длина исследуемых образцов цилиндрической формы, мм, не более |
100 |
|
Сторона ребра исследуемых образцов кубической формы, мм |
30, 40, 50 |
|
Давление обжима исследуемого образца, МПа, не более |
70 |
|
Поровое давление, МПа, не более |
1,7 |
|
Поддерживаемые газы |
азот, гелий, воздух |
|
Входное давление сжатых газов для проведения измерений, МПа |
2,0 |
|
Входное давление сжатого воздуха для управления системой пневматических клапанов и создания давления обжима, МПа |
от 0,45 до 0,65 |
|
Параметры электрического питания: - напряжение переменного тока, В |
220±22 |
|
- частота переменного тока, Г ц |
50/60 |
|
Габаритные размеры, мм, не более - высота |
900 |
|
- ширина |
830 |
|
- длина |
850 |
|
Масса, кг, не более |
70 |
|
Условия эксплуатации: - температура окружающей среды, °С |
от +20 до +30 |
|
- относительная влажность, % |
от 10 до 80 |
Знак утверждения типа
наносится на титульный лист руководства по эксплуатации типографским способом.
Комплектность средства измерений
Таблица 4 - Комплектность
|
Наименование |
Обозначение |
Количество |
|
Установка для измерения пористости и пр оницаемости |
СМП-ПП |
1 шт. |
|
Набор калибровочных образцов открытой пористости |
- |
1 шт. |
|
Компрессор с ресивером и фильтрами (в том числе грубой очистки, осушки рабочего газа от влаги) |
- |
1 шт.* |
|
Редуктор для газового баллона |
- |
1 шт.* |
|
Кернодержатель для цилиндрических образцов диаметром, отличным от 30 мм |
- |
1 шт.* |
|
Кернодержатель для кубических образцов |
- |
1 шт.* |
|
Выдвижная полка в нижней части корпуса |
- |
1 шт.* |
|
Расходные материалы и ЗИП |
- |
1 комплект |
|
Цифровой штангенциркуль |
- |
1 шт.* |
|
Персональный компьютер (системный блок в комплекте с монитором, клавиатурой и компьютерной мышью либо моноблок в комплекте с клавиатурой и компьютерной мышью, либо ноутбук в комплекте с компьютерной мышью) |
- |
1 шт. |
|
Комплект кабелей |
- |
1 шт. |
|
Русифицированное программное обеспечение |
СМП-ПП |
1 шт. |
|
Руководство по эксплуатации |
28.99.39-002-01440184-ПП РЭ |
1 экз. |
|
Паспорт |
28.99.39-002-01440184-ПП ПС |
1 экз. |
|
Методика поверки |
- |
1 экз. |
|
* - по заказу | ||
Сведения о методиках (методах) измерений
приведены в руководстве по эксплуатации, раздел 1 «Описание и работа».
Нормативные и технические документы, устанавливающие требования к средству измерений
Система
ТУ 28.99.39-002-01440184-2022;
Приказ Росстандарта от 15 марта 2021 г. № 315 «Об утверждении Государственной поверочной схемы для средств измерений удельной адсорбции газов, удельной поверхности, удельного объема пор, размера пор, открытой пористости и коэффициента газопроницаемости твердых веществ и материалов».
моделирования
пласта.
СМП.
Технические
условия.
Правообладатель
Общество с ограниченной ответственностью «Кортех» (ООО «Кортех»)
ИНН 5029202619
Адрес: 141006, г. Мытищи, Рупасовский 2-й пер., лит. № 3, оф. 205
Изготовитель
Общество с ограниченной ответственностью «Кортех» (ООО «Кортех»)
ИНН 5029202619
Адрес места осуществления деятельности: 141006, Московская обл., г.о. Мытищи, ш. Волковское, стр. 15Г/2, оф. 205
Испытательный центр
Уральский научно-исследовательский институт метрологии - филиал Федерального государственного унитарного предприятия «Всероссийский научно-исследовательский институт метрологии имени Д.И. Менделеева» (УНИИМ - филиал ФГУП «ВНИИМ им. Д.И.Менделеева»)
Адрес: 620075, г. Екатеринбург, улица Красноармейская, д. 4
Уникальный номер записи в реестре аккредитованных лиц № RA.RU.311373.
УТВЕРЖДЕНО приказом Федерального агентства по техническому регулированию и метрологии от «02» июня 2025 г. №1071
Лист № 1
Всего листов 5
Регистрационный № 87255-22
ОПИСАНИЕ ТИПА СРЕДСТВА ИЗМЕРЕНИЙ
Порозиметры гелиевые СМП-ПГ
Назначение средства измерений
Порозиметры гелиевые СМП-ПГ (далее - порозиметры) предназначены для измерений объёма и открытой пористости газоволюметрическим методом.
Описание средства измерений
Принцип действия порозиметров основан на вытеснении инертного газа анализируемым образцом из измерительной камеры. По изменению показаний датчика давления при открытии камеры сравнения оценивается объем вытесненного газа, равный объему твердой фазы анализируемого пористого образца, введенного в измерительную камеру. На основе данных об измерении объёма твердой фазы образца и его геометрических параметров производится расчет открытой пористости образца.
Конструктивно порозиметры представляют собой автоматизированную систему измерений параметров объёма и открытой пористости образцов керна. Порозиметр состоит из следующих блоков: измерительные камеры, камеры сравнения известного объёма, блок измерения температуры и давления газа, блок манифольда, система пневматических клапанов, контроллер управления, а также основных.
периферийные блоки, отвечающие за функционирование
на порозиметры не предусмотрено. Порозиметры имеют на передней панели средств измерений. Заводской номер
Нанесение знака поверки заводские номера, расположенные имеет буквенно-цифровой формат и наносится травлением, гравированием, типографским или иным пригодным способом.
Пломбирование порозиметров не предусмотрено. Конструкция порозиметров обеспечивает ограничение доступа к частям, несущим первичную измерительную информацию, местам настройки (регулировки).
Общий вид порозиметров представлен на рисунке 1. Место расположения заводского номера и знака утверждения типа номера представлено на рисунке 2.
Рисунок 1 - Общий вид порозиметров гелиевых СМП-ПГ
Рисунок 2 - Место расположения заводского номера и знака утверждения типа
Программное обеспечение
Порозиметры оснащены внешним программным обеспечением, позволяющим проводить контроль процесса измерений, осуществлять сбор экспериментальных данных, обрабатывать и сохранять полученные результаты, передавать результаты измерений на персональный компьютер.
Уровень защиты программного обеспечения от непреднамеренных и преднамеренных изменений соответствует уровню «высокий» в соответствии с Р 50.2.077-2014.
Идентификационные данные программного обеспечения (ПО) порозиметров приведены в таблице 1.
Таблица 1 -
данные ПО
|
Идентификационные данные (признаки) |
Значение |
|
Идентификационное наименование ПО |
СМП-ПГ |
|
Номер версии (идентификационный номер) ПО |
не ниже 1.0.0.0 |
|
Цифровой идентификатор ПО |
- |
Метрологические и технические характеристики
Таблица 2 -
|
Наименование характеристики |
Значение |
|
Диапазон измерений объёма, см3 |
от 0 до 40 |
|
Пределы допускаемой абсолютной погрешности измерений объёма в поддиапазоне от 0 до 10 см3 включ., см3 |
± 0,05 |
|
Пределы допускаемой относительной погрешности измерений объёма в поддиапазоне св. 10 до 40 см3 включ., % |
± 0,5 |
|
Диапазон измерений открытой пористости, % |
от 0,6 до 52 |
|
Пределы допускаемой абсолютной погрешности измерений открытой пористости в поддиапазоне от 0,6 % до 10,0 % включ., % |
± 0,3 |
|
Пределы допускаемой относительной погрешности измерений открытой пористости в поддиапазоне св. 10,0 % до 52 % включ., % |
± 3 |
|
Диапазон показаний объёма, см3 |
от 0 до 70 |
|
Диапазон показаний открытой пористости, % |
от 0 до 60 |
Таблица 3 - Основные технические
|
Наименование характеристики |
Значение |
|
Диаметр исследуемых образцов цилиндрической формы, мм |
от 8 до 110 |
|
Длина исследуемых образцов цилиндрической формы, мм, не более |
130 |
|
Сторона ребра исследуемы образцов кубической формы, мм |
30, 40, 50 |
|
Поровое давление, МПа, не более |
1,6 |
|
Поддерживаемые газы |
гелий, азот |
|
Входное давление сжатых газов для проведения измерений, МПа |
2,0 |
|
Входное давление сжатого воздуха для управления системой пневматических клапанов и создания давления обжима, МПа |
от 0,45 до 0,65 |
|
Параметры электрического питания: - напряжение переменного тока, В |
220±11 |
|
- частота переменного тока, Гц |
50/60 |
|
Наименование характеристики |
Значение |
|
Габаритные размеры, мм, не более | |
|
- высота |
600 |
|
- ширина |
350 |
|
- длина |
600 |
|
Масса, кг, не более |
70 |
|
Условия эксплуатации: | |
|
- температура окружающей среды, °С |
от +20 до +30 |
|
- относительная влажность, % |
от 10 до 80 |
Знак утверждения типа наносится на корпус порозиметра.
Комплектность средства измерений
Таблица 4 - Комплектность средства измерений
|
Наименование |
Обозначение |
Количество |
|
Порозиметр гелиевый |
СМП-ПГ |
1 шт. |
|
Набор образцов пористости и калибровочных дисков |
- |
1 комплект |
|
Расходные материалы и ЗИП |
- |
1 комплект |
|
Персональный компьютер |
- |
1 шт. |
|
Комплект кабелей |
- |
1 шт. |
|
Программное обеспечение |
СМП-ПГ |
1 шт. |
|
Руководство по эксплуатации |
01440184.441424.ПГ РЭ |
1 экз. |
|
Паспорт |
01440184.441424.XXXXXX* ПС |
1 экз. |
|
Методика поверки |
- |
1 экз. |
|
* - заводской номер порозиметра | ||
Сведения о методиках (методах) измерений
приведены в руководстве по эксплуатации 01440184.441424.ПГ РЭ, раздел 1 «Описание и работа».
Нормативные и технические документы, устанавливающие требования к порозиметрам гелиевым СМП-ПГ
Порозиметр гелиевый
ТУ 28.99.39-004-014440184-2021;
Приказ Росстандарта от 15 марта 2021 г. № 315 «Об утверждении Государственной поверочной схемы для средств измерений удельной адсорбции газов, удельной поверхности, удельного объема пор, размера пор, открытой пористости и коэффициента газопроницаемости твердых веществ и материалов».
«СМП-ПГ».
Технические
условия.
Правообладатель
Общество с ограниченной ответственностью «Кортех» (ООО «Кортех»)
Адрес: 141006, г. Мытищи, Рупасовский 2-й пер., лит. № 3, оф. 205
Изготовитель
Общество с ограниченной ответственностью «Кортех» (ООО «Кортех») Адрес юридического лица: 141006, г. Мытищи, Рупасовский 2-й пер., лит. № 3, оф. 205 Адрес места осуществления деятельности: 141006, Московская обл., г.о. Мытищи, ш. Волковское, стр. 15Г/2, оф. 205
Испытательный центр
Уральский научно-исследовательский институт метрологии - филиал Федерального государственного унитарного предприятия «Всероссийский научно-исследовательский институт метрологии имени Д.И. Менделеева» (УНИИМ - филиал ФГУП «ВНИИМ им. Д.И. Менделеева»)
Адрес: 620075, г. Екатеринбург, улица Красноармейская, д. 4
Уникальный номер записи в реестре аккредитованных лиц № RA.RU.311373.
УТВЕРЖДЕНО приказом Федерального агентства по техническому регулированию и метрологии от «02» июня 2025 г. №1071
Лист № 1
Всего листов 4
Регистрационный № 80551-20
ОПИСАНИЕ ТИПА СРЕДСТВА ИЗМЕРЕНИЙ
Шаблоны КТО
Назначение средства измерений
Шаблоны КТО (далее по тексту - шаблоны) предназначены для измерений габарита низких, средних и высоких пассажирских платформ (высоты платформы от уровня головки рельса и расстояния от оси пути до края платформы).
Описание средства измерений
перемещения подвижных измеренного параметра
Принцип действия шаблонов основан на преобразовании указателей относительно неподвижных шкал в значения на измерительных шкалах.
основания, уровня, ручки,
Шаблоны состоят из каретки, указателя, рейки со шкалой, винтов и уголка.
Шаблоны выпускаются в следующих модификациях:
-
- шаблоны КТО-010.00.000 с диапазоном измерений по шкале рейки от 120 до 560 мм;
-
- шаблоны КТО-011.00.000 с диапазоном измерений по шкале рейки от 450 до 1500 мм.
Рисунок 1 - Общий вид шаблонов КТО -010.000.000
3 - рейка со шкалой;
i
1
J
1 - каретка; 2 - указатель;
4 - основание; 5 - уровень; 6 - ручка; 7 - винт; 8 - уголок
Рисунок 2 - Общий вид шаблонов КТО -011.000.000
Пломбирование шаблонов не предусмотрено.
Программное обеспечение отсутствует.
Метрологические и технические характеристики
Таблица 1 -
|
Наименование характеристики |
Значение | |
|
Модификация |
КТО-010.00.000 |
КТО-011.00.000 |
|
Диапазон измерений, мм: - по шкале рейки |
от 120 до 560 |
от 450 до 1500 |
|
- по шкале основания |
от 1400 до 2100 |
от 1400 до 2100 |
|
Пределы допускаемой основной абсолютной погрешности измерений по шкале рейки и шкале основания, мм |
±1,0 | |
|
Пределы допускаемой дополнительной абсолютной погрешности измерений по шкале рейки и шкале основания от изменения температуры окружающего воздуха в диапазоне рабочих температур на каждые 10 °С, °С |
±0,5 | |
|
Цена деления шкалы рейки и шкалы основания, мм |
1,0 | |
|
Нормальные условия измерений: - температура окружающего воздуха, °С |
от +15 до +25 | |
|
- относительная влажность воздуха, %, не более |
80 | |
Таблица 2 -Основные технические характеристики
|
Наименование характеристики |
Значение | |
|
Модификация |
КТО-010.00.000 |
КТО-011.00.000 |
|
Длина штрихов шкалы рейки и шкалы основания, мм, не менее |
2,0 | |
|
Ширина штрихов шкалы рейки и шкалы основания, мм |
О,2±0,1 | |
|
Допуск перпендикулярности рейки со шкалой и основания, мм |
0,3 | |
|
Допуск параллельности измерительной поверхности указателя рейки со шкалой и основания, мм |
0,3 | |
|
Параметр шероховатости Ra по ГОСТ 2789-73, мкм, не более: - измерительных поверхностей |
6,3 | |
|
- рабочих поверхностей |
3,2 | |
|
Габаритные размеры, мм, не более: - высота |
650 |
1640 |
|
- длина |
1620 |
1650 |
|
- ширина |
65 |
65 |
|
Масса, кг, не более |
5,0 | |
|
Условия эксплуатации: - температура окружающего воздуха, °С |
от -35 до +40 | |
|
- относительная влажность воздуха, %, не более |
80 | |
|
Средний срок службы, лет |
3 | |
Знак утверждения типа
Наносится на основание шаблонов методом лазерной гравировки и на паспорт типографским способом.
Комплектность средства измерений
Таблица 3 - Комплектность средства измерений
|
Наименование |
Обозначение |
Количество |
|
Шаблон |
КТО |
1 шт. |
|
Чехол |
— |
1 шт. |
|
Комплект ЗИП |
— |
1 комплект |
|
Паспорт |
— |
1 экз. |
|
Методика поверки |
— |
1 экз. в один адрес |
Сведения о методиках (методах) измерений приведены в эксплуатационном документе.
Нормативные и технические документы, устанавливающие требования к шаблонам КТО ТУ 26.51.33.191-038-74229882-2020 Шаблоны КТО. Технические условия;
Государственная поверочная схема для средств измерений длины в диапазоне от 1^10-9 до 100 м и длин волн в диапазоне от 0,2 до 50 мкм, утвержденная приказом Росстандарта от 29 декабря 2018 г. № 2840.
Изготовитель
Общество с ограниченной ответственностью Научно-Производственное Предприятие «Челябинский инструментальный завод» (ООО НПП «ЧИЗ»)
ИНН 7432013916
Адрес места осуществления деятельности: 454008, Челябинская обл., г.о. Челябинский,
г. Челябинск, тракт Свердловский, д. 38
Телефон (факс): +7 (351) 211-60-61; +7 (351) 242-01-42
E-mail: chiz@chiz.ru
Web-сайт: http://chiz.ru
Испытательный центр
Федеральное бюджетное учреждение «Государственный региональный центр стандартизации, метрологии и испытаний в Омской области» (ФБУ «Омский ЦСМ») Адрес: 644116, г. Омск, ул. 24 Северная, д. 117-А
Телефон (факс): +7 (3812) 68-07-99; 68-04-07
E-mail: info@ocsm.omsk.ru
Web-сайт: http://csm.omsk.ru
Уникальный номер записи в реестре аккредитованных лиц № RA.RU.311670.
УТВЕРЖДЕНО приказом Федерального агентства по техническому регулированию и метрологии от «02» июня 2025 г. №1071
Лист № 1
Всего листов 5
Регистрационный № 80916-21
ОПИСАНИЕ ТИПА СРЕДСТВА ИЗМЕРЕНИЙ
Толщиномеры игольчатые ТИ
Назначение средства измерений
Толщиномеры игольчатые ТИ (далее по тексту - толщиномеры) предназначены для измерений толщины теплоизоляционных изделий и других мягких материалов.
Описание средства измерений
Принцип действия толщиномеров основан на прокалывании иглой изделия до упора в поверхность основания, на котором проводят измерения, с последующим снятием показаний методом непосредственной оценки совпадения нижнего торца втулки или указателя экрана с делениями шкалы иглы.
Толщиномеры состоят из иглы, корпуса, втулки или экрана с указателем, винта зажимного и ручки с зажимным винтом в зависимости от модификации.
Толщиномеры выпускаются в различных модификациях, которые отличаются диапазоном измерений, создаваемой нагрузкой и исполнением. Структура условного обозначения представлена в таблице 1.
Толщиномер игольчатый ТИ- | X | - | X | - | X |
1 2 3
|
Таблица 1 |
- Структура условного обозначения | ||
|
№ поля |
Описание поля |
Код поля |
Расшифровка |
|
1 |
Исполнение |
1 |
См. рисунок 1 |
|
2 |
См. рисунок 2 | ||
|
3 |
См. рисунок 3 | ||
|
2 |
Удельная нагрузка |
50, 100, 250, 500, 1000, 2000 |
Удельная нагрузка, создаваемая толщиномером, в Па |
|
3 |
Диапазон измерений |
от 150 до 250 |
Верхний предел диапазон измерений в мм |
Общий вид толщиномеров приведен на рисунках 1-3.


1 - игла; 2 - корпус; 3 - втулка; 4 - винт зажимной
Рисунок 1 - Общий вид толщиномеров ТИ-1-X-X


1 - игла; 2 - корпус; 3, 5 - втулка; 4, 6 - винт зажимной
Рисунок 2 - Общий вид толщиномеров ТИ-2-X-X


1 - игла; 2 - корпус; 3 - экран с указателем; 4 - винт зажимной; 5 - ручка с зажимным винтом
Рисунок 3 - Общий вид толщиномеров ТИ-3-X-X
Пломбирование толщиномеров не предусмотрено.
Программное обеспечение отсутствует.
Метрологические и технические характеристики
Таблица 2 - Метрологические характеристики
|
Наименование характеристики |
Значение |
|
Диапазон измерений толщины, мм |
от 0 до 250* |
|
Пределы допускаемой абсолютной погрешности измерений толщины, мм |
±0,5 |
|
Цена деления шкалы, мм |
1,0 |
|
* диапазон измерений устанавливается по заказу потребителя. | |
Таблица 3 -Основные технические
|
Наименование характеристики |
Значение | ||
|
Модификация |
ТИ-1-X-X |
ТИ-2-X-X |
ТИ-3-X-X |
|
Создаваемая удельная нагрузка, Па |
(50,0±1,5) |
(250,0±5,0) |
(250,0±5,0) |
|
(100,0±5,0) |
(500,0±7,5) |
(500,0±7,5) | |
|
(1000,0±15,0) |
(1000,0±15,0) | ||
|
(2000,0±25,0) |
(2000,0±25,0) | ||
|
Габаритные размеры, мм, не более: | |||
|
- высота |
430 |
430 |
550 |
|
- длина |
202 |
202 |
202 |
|
- ширина |
202 |
202 |
202 |
|
Наименование характеристики |
Значение | ||
|
Масса корпуса, кг, не более |
0,428 |
8,257 |
6,482 |
|
Длина штрихов шкалы иглы, мм, не менее |
2,0 | ||
|
Ширина штрихов шкалы иглы, мм |
0,25±0,10 | ||
|
Допуск плоскостности поверхности основания | |||
|
корпуса, мм |
0,5 | ||
|
Условия эксплуатации: | |||
|
- температура окружающего воздуха, °С |
от +18 до +28 | ||
|
- относительная влажность, %, не более |
80 | ||
|
Средний срок службы, лет |
1,5 | ||
Знак утверждения типа
наносится на основание корпуса или маркировочную табличку методом лазерной гравировки и на паспорт типографским способом.
Комплектность средства измерений
Таблица 4 - Комплектность
|
Наименование |
Обозначение |
Количество |
|
Толщиномер игольчатый |
ТИ |
1 шт. |
|
Паспорт |
— |
1 экз. |
|
Методика поверки |
— |
1 экз. в один адрес |
Сведения о методиках (методах) измерений приведены в разделе 5 паспорта.
Нормативные и технические документы, устанавливающие требования к толщиномерам игольчатым ТИ
ТУ 26.51.6-030-74229882-2020 Толщиномеры игольчатые ТИ. Технические условия;
Государственная поверочная схема для средств измерений длины в диапазоне от 1^10-9 до 100 м и длин волн в диапазоне от 0,2 до 50 мкм, утвержденная приказом Росстандарта от 29 декабря 2018 г. № 2840.
Правообладатель
Общество с ограниченной ответственностью Научно-Производственное Предприятие «Челябинский инструментальный завод» (ООО НПП «ЧИЗ»)
ИНН 7432013916
Юридический адрес: 454008, Челябинская обл., г. Челябинск, Свердловский тракт,
д. 38, к. 4, оф. 517
Изготовитель
Общество с ограниченной ответственностью Научно-Производственное Предприятие «Челябинский инструментальный завод» (ООО НПП «ЧИЗ»)
ИНН 7432013916
Адрес места осуществления деятельности: 454008, Челябинская обл., г.о. Челябинский, г. Челябинск, тракт Свердловский, д. 38
Телефон (факс): +7 (351) 211-60-61; +7 (351) 242-01-42 E-mail: chiz@chiz.ru
Web-сайт: http://chiz.ru
Испытательный центр
Федеральное бюджетное учреждение «Государственный региональный центр стандартизации, метрологии и испытаний в Омской области» (ФБУ «Омский ЦСМ») Адрес: 644116, г. Омск, ул. 24 Северная, д. 117-А
Телефон (факс): +7 (3812) 68-07-99; 68-04-07
E-mail: info@ocsm.omsk.ru
Web-сайт: http://csm.omsk.ru
Уникальный номер записи в реестре аккредитованных лиц № RA.RU.311670.

1ШН11СТЕРСТВО ПРОаШШЛЕННОСГИ и ТОРГОВЛИ
РОССИЙСКОЙ ФЕДЕРАЦИИ
ФЕДЕРАЛЬНОЕ АГЕНТСТВО
ПО ТЕХНИЧЕСКОМУ РЕГУЛИРОВАНИЮ И МЕТРОЛОГИИ
(Росстандарт)
ПРИКАЗ
02 июня 2025 г.
1071
Ус
Москва
О внесении изменений в сведения об утвержденных типах средств измерений
В соответствии с Административным регламентом по предоставлению Федеральным агентством по техническому регулированию и метрологии государственной услуги по утверждению типа стандартных образцов или типа средств измерений, утвержденным приказом Федерального агентства по техническому регулированию и метрологии от 12 ноября 2018 г. № 2346, п р и к а з ы в а ю:
-
1. Внести изменения в сведения об утвержденных типах средств измерений в части сведений о месте осуществления деятельности изготовителей утвержденных типов средств измерений согласно приложению к настоящему приказу.
-
2. Утвердить измененные описания типов средств измерений, прилагаемые к настоящему приказу.
-
3. ФБУ «НИЦ ПМ - Ростест» внести сведения об утвержденных типах средств измерений согласно приложению к настоящему приказу в Федеральный информационный фонд по обеспечению единства измерений в соответствии с Порядком создания и ведения Федерального информационного фонда по обеспечению единства измерений, передачи сведений в него и внесения изменений в данные сведения, предоставления содержащихся в нем документов и сведений, утвержденным приказом Министерства промышленности и торговли Российской Федерации от 28 августа 2020 г. № 2906.
-
4. Контроль за исполнением настоящего приказа оставляю за собой.
Л \
Подлинник электронного документа, подписанного ЭП, хранится в системе электронного документооборота Федерального агентства по техническому
Заместитель руководителя
регулированию и метрологии
Е.Р. Лазаренко
Сертификат: 7B1801563EA497F787EAF40A918A8D6F
Кому выдан: Лазаренко Евгений Русланович
Действителен: с 19.05.2025 до 12.08.2026
ч
ПРИЛОЖЕНИЕ
к приказу Федерального агентства по техническому регулированию
и метрологии
от «__ » 2025 г. № _“_
Сведения
об утвержденных типах средств измерений, подлежащие изменению в части сведений о месте осуществления деятельности изготовителей
|
№ п/п |
Наименование типа |
Обозначение типа |
Регистрационный номер в ФИФ |
Изготовитель |
Место осуществления деятельности Изготовителя |
Заявитель | |
|
Прежний адрес |
Новый адрес | ||||||
|
1 |
2 |
3 |
4 |
5 |
6 |
7 |
8 |
|
1. |
Шаблоны |
КТО |
80551-20 |
Общество с ограниченной ответственностью НаучноПроизводственное Предприятие «Челябинский инструментальный завод» (ООО НПП «ЧИЗ»), г. Челябинск |
Адрес: 454008, г. Челябинск, Свердловский тракт, д. 38, к. 4, оф. 517 |
Адрес места осуществления деятельности: 454008, Челябинская обл., г.о. Челябинский, г. Челябинск, тракт Свердловский, д. 38 |
Общество с ограниченной ответственностью НаучноПроизводственное Предприятие «Челябинский инструментальный завод» (ООО НПП «ЧИЗ»), г. Челябинск |
|
2. |
Толщиномеры игольчатые |
ТИ |
80916-21 |
Общество с ограниченной ответственностью НаучноПроизводственное Предприятие «Челябинский инструментальный завод» (ООО НПП «ЧИЗ»), г. Челябинск |
Адрес: 454008, г. Челябинск, Свердловский тракт,д. 38, к. 4 |
Адрес места осуществления деятельности: 454008, Челябинская обл., г.о. Челябинский, г. Челябинск, тракт Свердловский, д. 38 |
Общество с ограниченной ответственностью НаучноПроизводственное Предприятие «Челябинский инструментальный завод» (ООО НПП «ЧИЗ»), г. Челябинск |
|
3. |
Приборы для изучения акустических свойств образцов горных пород в атмосферных условиях |
СМП-УЗ |
87352-22 |
Общество с ограниченной ответственностью «Кортех» (ООО «Кортех»), Московская обл., г. Мытищи |
141006, Московская обл., г. Мытищи, Рупасовский 2-й пер., лит. № 3, оф.205 |
141006, Московская обл., г.о. Мытищи, ш. Волковское, стр.15Г/2, оф. 205 |
Общество с ограниченной ответственностью «Кортех» (ООО «Кортех»), Московская обл., г. Мытищи |
|
4. |
Порозиметры гелиевые |
СМП-ПГ |
87255-22 |
Общество с ограниченной ответственностью «Кортех» (ООО «Кортех»), Московская обл., г. Мытищи |
141006, Московская обл., г. Мытищи, Рупасовский 2-й пер., лит. № 3, оф.205 |
141006, Московская обл., г.о. Мытищи, ш. Волковское, стр.15Г/2, оф. 205 |
Общество с ограниченной ответственностью «Кортех» (ООО «Кортех»), Московская обл., г. Мытищи |
|
5. |
Установки для измерения пористости и проницаемости |
СМП-ПП |
83400-21 |
Общество с ограниченной ответственностью «Кортех» (ООО «Кортех»), Московская обл., г. Мытищи |
141006, Московская обл., г. Мытищи, Рупасовский 2-й пер., лит. № 3, оф.205 |
141006, Московская обл., г.о. Мытищи, ш. Волковское, стр.15Г/2, оф. 205 |
Общество с ограниченной ответственностью «Кортех» (ООО «Кортех»), Московская обл., г. Мытищи |
|
6. |
Приборы для определения газопроницаемости |
СМП-ГП |
94094-24 |
Общество с ограниченной ответственностью «Кортех» (ООО «Кортех»), Московская обл., г. Мытищи |
Адрес: 141006, Московская обл., г. Мытищи, 2-й Рупасовский пер., лит. 3, оф. 205 |
Адрес места осуществления деятельности: 141006, Московская обл., г.о. Мытищи, ш. Волковское, стр. 15Г/2, оф. 205 |
Общество с ограниченной ответственностью «Кортех» (ООО «Кортех»), Московская обл., г. Мытищи |
|
7. |
Газометры автоматические |
КИНГ- Газометр |
93108-24 |
Общество с ограниченной ответственностью «Кортех» (ООО «Кортех»), Московская обл., г. Мытищи |
Адрес: 141006, Московская обл., г. Мытищи, 2-й Рупасовский пер., лит. 3, оф. 205 |
Адрес места осуществления деятельности: 141006, Московская обл., г.о. Мытищи, ш. Волковское, стр. 15Г/2, оф. 205 |
Общество с ограниченной ответственностью «Кортех» (ООО «Кортех»), Московская обл., г. Мытищи |

