Номер по Госреестру СИ: 47849-11
47849-11 Комплексы программно-технические
(Космотроника)
Назначение средства измерений:
Комплексы программно-технические «Космотроника» (далее - ПТК) предназначены для измерений выходных аналоговых сигналов первичных измерительных преобразователей в виде напряжения и силы постоянного/переменного тока, сигналов от термопреобразователей сопротивления; активной и реактивной электроэнергии; контроля электрических величин; сбора и обработки, в соответствии с заданными программами и алгоритмами, дискретной и аналоговой измерительной информации; формирования и реализации выходных аналоговых и дискретных сигналов управления технологическими процессами; приема и передачи по различным каналам измерительной информации и управляющих воздействий между источниками дискретных и аналоговых измерительных сигналов, исполнительными механизмами, технологическими контроллерами, управляющими ЭВМ различного уровня и технологическими объектами.
Программное обеспечение
Программное обеспечение (ПО) ПТК имеет разделение программной части на метрологически значимую и метрологически незначимую.
Метрологически незначимая часть состоит из программно-математических средств автоматизированного рабочего места (АРМ), коммуникационного сервера, а также ПО метрологически незначимых модулей контроллера.
Метрологически значимая часть отвечает за обработку результатов измерений сигналов, хранение результатов измерений, а также прием-передачу данных по цифровому интерфейсу.
Все метрологически значимые вычисления выполняются ПО контроллеров, метрологические характеристики которых нормированы с учетом влияния на них встроенного ПО.
ПО модулей контроллеров хранится в микросхеме энергонезависимой памяти, запаянной на печатной плате.
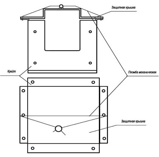
Для защиты накопленной и текущей информации, конфигурационных параметров от несанкционированного доступа в ПТК, предусмотрен физический контроль доступа (запираемые шкафы, пломбирование) и программный контроль доступа. Схема пломбирования приведена на рисунке 2.
Защита ПО от непреднамеренных и преднамеренных изменений соответствует уровню «С» по МИ 3286-2010.
Идентификационные данные метрологически значимого ПО приведены в таблице 1.
Таблица 1 Идентификационные данные метрологически значимого ПО
|
Наименование ПО |
Идентификационное наименование ПО |
Номер версии |
Цифровой идентификатор ПО |
Алгоритм вычисления цифрового идентификатора ПО |
|
Подпрограмма обработки, хранения и передачи цифровых значений |
qmicro |
03.12.0091 |
4CE136FE |
CRC16 |
Рисунок 1.1 - Шкаф управления ПТК «Космотроника»
Рисунок 1.2 - Контроллер ПТК «Космотроника»
Рисунок 2 - Схема пломбировки от несанкционированного доступа
Знак утверждения типа
Знак утверждения типаЗнак утверждения типа наносится на модули ПТК методом наклейки этикеток и на титульные листы руководства по эксплуатации типографским способом.
Сведения о методиках измерений
Сведения о методиках (методах) измерений
Метод измерений приведён в руководстве по эксплуатации СШМК.466451.018 РЭ.
Нормативные и технические документы
Нормативные и технические документы, устанавливающие требования к комплексам программно-техническим «Космотроника»
ГОСТ 6651-2009 Термопреобразователи сопротивления. Общие технические требования и
методы испытаний
ГОСТ 22261-94 Средства измерений электрических и магнитных величин. Общие техни
ческие условия
СШМК.466451.018 ТУ Комплексы программно-технические «Космотроника»
лист № 8 всего листов 8
Поверка
Поверка осуществляется в соответствии с разделом 4 "Методы и средства поверки" Руководства по эксплуатации СШМК.466451.018 РЭ, утверждённым ГЦИ СИ ФГУП «ВНИИМС» 29.06.2011 г.Перечень основных средств поверки:
Установка для поверки счетчиков электрической энергии ЦУ6804М: диапазон выходного напряжения переменного тока от 20 до 288 В, диапазон силы выходного переменного тока от 0,001 до 10 А, класс точности 0,1.
Калибратор Н4-11: воспроизведение напряжений постоянного тока от 0 до 20 В, Д= ±(0,05% U + 0,005%Un); от 20 до 200 В, Д= ±(0,1% U + 0,01%Un); от 200 до 350 В, Д= ±(0,1% U + 0,01%ип); воспроизведение силы постоянного тока от 0 до 20 мА, Д= ±(0,1% I + 0,01%1п).
Г енератор сигналов Г3-122 (Д= ±5 • 10-7f).
Калибратор - вольтметр универсальный В1-28 измерение напряжения от 0 до 5В, Д= ±(0,003%U+0,0003%UM); измерение силы постоянного тока от 0 до 20 мА, Д= ±(0,01%I+0,0015%IM).
Магазин сопротивлений МСР 60-М, диапазон сопротивлений от 0 до 10 кОм, класс точности 0,02.
Изготовитель
ЗАО «ПИК ПРОГРЕСС»
Адрес: 111024, г. Москва, ул. Авиамоторная, 51А
Испытательный центр
ГЦИ СИ ФГУП «ВНИИМС»,
ПТК представляет собой многоуровневую систему, включающую в свой состав унифицированные технические средства - модули, объединенные стандартизованными каналами связи (RS422/485, радиосвязь, связь по телефонным линиям, связь по сетям Ethernet), а также программно-математическими средствами, обеспечивающими функционирование комплекса в целом. Верхний уровень, который может иметь несколько ярусов, реализуется на базе специализированных серверов или промышленных компьютеров типа IBM PC. Нижний уровень, составляющий основу ПТК, реализуется на базе контроллеров, интерфейсных и измерительных модулей.
ПТК может быть реализован как сосредоточенная или распределенная система.
Сосредоточенная система строится на базе модулей телеизмерений, телесигнализации, телеуправления, устройств коммутации и согласования, питающих модулей, процессорных модулей, объединенных в единый промышленный контроллер нижнего уровня. В такой системе, соединение входящих в контроллеры модулей с технологическими объектами осуществляется через кабельные трассы.
Основу сосредоточенной системы составляют:
модуль АЦП - четырёх- или восьмиканальный модуль ввода аналоговых сигналов силы и напряжения постоянного тока.
модуль МНУ - восьмиканальный модуль ввода сигналов от термопреобразователей сопротивления.
модуль ЦАП - восьмиканальный модуль вывода аналоговых сигналов управления.
модуль АДС - модуль ввода/вывода дискретных сигналов. Модуль имеет 24 гальванически изолированных канала.
Распределенная система строится на базе малогабаритных модулей удаленных устройств сопряжения с объектами (УСО), реализованных на базе микроконтроллеров. Удаленные УСО, в соответствии с их типом и настройкой, могут выполнять функции
прямых измерений электроэнергии, мощности, сигналов силы и напряжения постоянно-го/переменного тока; обработку измерительных сигналов поступающих от термопреобразователей сопротивления и токов короткого замыкания; анализ состояния телесигнализации; передачу команд управления исполнительным устройствам. Удаленные модули УСО, устанавливают в различных частях объекта и подключают к коммутационному промышленному контроллеру нижнего уровня стандартизованными каналами связи.
Основу распределенной системы составляют:
-
- удаленные модули УСО ТС - модуль ввода дискретных сигналов. Модуль может иметь до 64 каналов и подключаться к контроллеру нижнего уровня через канал RS485;
-
- удаленные модули УСО ТИ - модуль ввода аналоговых сигналов силы и напряжения постоянного тока и напряжения переменного тока. Модуль может иметь до 32 измерительных каналов и подключаться к контроллеру нижнего уровня через канал RS485;
-
- удаленные модули УСО ТИ-А - модуль ввода аналоговых сигналов силы переменного тока. Модуль может иметь до 8 измерительных каналов и подключаться к контроллеру нижнего уровня через канал RS485;
-
- удалённые модули УСО-ЦАП - модуль вывода аналоговых сигналов управления. Модуль имеет 8 каналов.
-
- удаленные модули аналогового, цифрового ввода, телеуправления УСО-К;
-
- удаленные модули УСО ТУ - модуль вывода дискретных и аналоговых сигналов силы и напряжения постоянного и переменного тока. Модуль может иметь до 16 каналов и подключаться к контроллеру нижнего уровня через канал RS485;
-
- удаленные модули аналогового, цифрового ввода, телеуправления УСО-М;
-
- приборы технического учета электроэнергии ПТУ-М;
-
- приборы технического учета электроэнергии ПТУ;
-
- удаленные модули аналогового, цифрового ввода, телеуправления и учета электроэнергии УСО-ТМ.
Фотографии общего вида ПТК приведены на рисунках 1.1 и 1.2, схема пломбировки от несанкционированного доступа на рисунке 2.
В комплект поставки входят :
- ПТК «Космотроника» - комплектация согласно заказу;
- руководство по эксплуатации;
- индивидуальная и групповая упаковка.
Основные метрологические и технические характеристики приведены в таблице 2. Таблица 2.
|
Модуль |
Сигналы: |
Пределы допускаемой основной по грешности до |
Пределы допускаемой дополн. погрешности при изменении температуры окр. среды на 10°С | |
|
на входе |
на выходе | |||
|
1 |
2 |
3 |
4 |
5 |
|
АЦП |
Сила и напряжение постоянного тока 0 - 5 мА 4 - 20 мА 0 - 5 В |
12 бит |
± 0,4% от диапазона |
± 0,4до |
|
ЦАП |
12 бит |
0 - 5 В 0 - 20 мА |
± 0,25% от диапазона |
± 0,4до |
|
МНУ |
Сигналы от термопреобразователей сопротивления 50М: от минус 50 до +50 °С от минус 50 до +100 °С от минус 50 до +150 °С 50П: от 0 до 100 °С от 0 до 200 °С от 0 до 300 °С |
0 - 20 мА |
± 0,4% от диапазона |
± 0,5до |
|
УСО ТИ (УТИ) |
Сила и напряжение постоянного тока 0 - 20 мА 2,5 - 250 В Сила и напряжение переменного тока частотой 50 Гц 0 - 20 мА 0 - 5 А 25 - 250 В |
RS 485 |
± 0,5% от диапазона |
± 0,4до |
|
УСО ТИ-А |
Сила переменного тока частотой 50 Гц 0 - 1 А |
RS 485 |
± 1% от диапазона |
± 0,5до |
|
УСО-М |
Сила и напряжение постоянного тока 0 - 20 мА 2,5 - 250 В Сила и напряжение переменного тока частотой 50 Гц 0 - 20 мА 0 - 5 А 25 - 250 В |
RS 485 |
± 0,5% от диапазона |
± 0,4до |
|
УСО-К |
Сила постоянного тока 0 - 20 мА |
RS 485 |
± 0,3 % от диа пазона |
± 0,5до |
|
1 |
2 |
3 |
4 |
5 |
|
УСО ПТУ-М |
Мощность активной/ реактивной электроэнергии прямого и обратного направления 0 - 3,75 кВт/квар Сила и напряжение переменного тока частотой 50 Гц 0 - 10 А 0 - 300 В |
RS 485 |
± 1,0 %отн* акт. эл. ± 2,0 % отн* реакт. эл. ± 0,5 %отн.* ± 0,5 %отн.* |
± 0,4go* |
|
УСО-ЦАП (УАВ) |
12 бит |
0 - 5 В 0 - 20 мА |
± 0,25% от диапазона |
± 0,4до |
|
УСО ПТУ |
Мощность активной/ реактивной электроэнергии прямого и обратного направления 0 - 3,75 кВт/квар Сила и напряжение переменного тока частотой 50 Гц 0 - 10 А 0 - 300 В |
RS 485 |
± 0,5 %отн.* -акт. эл. ± 1,0 %отн.*-реакт. эл. ± 0,5 %отн.* ± 0,5 %отн.* |
± 0,4до* |
|
УСО-ТМ |
Сила и напряжение постоянного тока 0 - 20 мА 2,5 - 250 В Сила и напряжение переменного тока частотой 50 Гц 0 - 20 мА 0 - 5 А 25 - 250 В Мощность активной - реактивной электроэнергии прямого и обратного направления 0 - 3,75 кВт/квар |
RS 485 |
± 0,5% от диапазона ± 0,5% отн.* ± 1,0% отн.* |
± 0,4до |
|
АДС-ТС |
Измерение числа импульсов от 1 до 100 Гц и длительностью не ниже 5 мс |
8 бит |
± 1 имп. в рабочих условиях | |
|
УСО ТС (УТС), УСО-М, УСО-ТМ УСО К |
Измерение числа импульсов от 1 до 100 Гц и длительностью не ниже 5 мс |
RS 485 |
± 1 имп. в рабочих условиях | |
|
УСО R-FI4 |
Измерение частоты следования импульсов 0,1 -10 кГц |
RS 485 |
± 0,1% отн. в рабочих условиях | |
Примечания:
1. Бинарные (дискретные) модули, источники питания, процессорные модули, входя-
щие в состав ПТК, не являются измерительными компонентами и не требуют свидетельства об утверждении типа.
2. Пределы * допускаемого значения основной относительной погрешности модулей при измерении активной, реактивной и полной электроэнергии (мощности) прямого и обратного направления нормированы для информативных значений входного сигнала: напряжение - (0,8.. .1,1) Uhom, коэффициент активной мощности cosj = 0,5 (емк.) - 1,0 - 0,5 (инд.), коэффициент реактивной мощности sinj = 0,5 (емк.) - 1,0 - 0,5 (инд.).
Погрешность ведения единого времени ± 3 секунд.
Рабочие условия применения комплекса:
- температура окружающего воздуха от минус 40 до + 50 °С;
- атмосферное давление от 84 до 107 кПа;
- относительная влажность до 80 % без конденсации влаги при температуре + 35 ° С ;
- температура транспортирования от минус 50 до + 60 ° С ;
Напряжение питания от сети переменного тока напряжением 220 В ± 10% частотой (50 ± 1) Гц.
Потребляемая мощность, габаритные размеры и масса в зависимости от комплектации комплекса.
Срок службы - 10 лет.

