Номер по Госреестру СИ: 96871-25
96871-25 Установки контроля расхода воздушного потока многофункциональные
(УКРМ21)
Назначение средства измерений:
Установки контроля расхода воздушного потока многофункциональные УКРМ-21 (далее - установки) предназначены для измерений скорости, температуры, относительной влажности воздуха и негорючих газов (газовых смесей), вычисления объемного расхода и объема контролируемой среды, регулирования объемного расхода.

Внешний вид.
Установки контроля расхода воздушного потока многофункциональные
Рисунок № 1

Внешний вид.
Установки контроля расхода воздушного потока многофункциональные
Рисунок № 2

Внешний вид.
Установки контроля расхода воздушного потока многофункциональные
Рисунок № 3

Внешний вид.
Установки контроля расхода воздушного потока многофункциональные
Рисунок № 4

Внешний вид.
Установки контроля расхода воздушного потока многофункциональные
Рисунок № 5

Внешний вид.
Установки контроля расхода воздушного потока многофункциональные
Рисунок № 6

Внешний вид.
Установки контроля расхода воздушного потока многофункциональные
Рисунок № 7
Программное обеспечение
Установки имеют метрологически значимое встроенное программное обеспечение (далее - ПО) БИ-21, БОИ-21, установленное и записанное в энергонезависимой памяти установок производителем, и прикладное ПО «Конфигуратор УКРМ-21».
Основное назначение встроенного ПО БИ-21 - обработка первичных данных от датчиков и передача её БОИ-21.
Основное назначение встроенного ПО БОИ-21 - получение данных от БИ-21, обработка, индикация полученных данных, передача данных, хранящихся в памяти устройства, на верхний уровень, а также управление УР-21 (исполнение УКРМ-21-02Р).
Основное назначение прикладного ПО «Конфигуратор УКРМ-21» - настройка, управление УКРМ-21, считывание данных из архива измерений из внутренней энергонезависимой памяти БОИ-21.
Защита программного обеспечения и измеренных данных от непреднамеренных и преднамеренных изменений соответствует уровню «Высокий» в соответствии с Р 50.2.077-2014.
Идентификационные данные ПО приведены в таблице 2.
Таблица 2 - Идентификационные данные программного обеспечения
|
Идентификационные данные (признаки) |
Значение | ||
|
Встроенное ПО БИ-21 |
Встроенное ПО БОИ-21 |
Прикладное ПО | |
|
Идентификационное наименование ПО |
- |
- |
Конфигуратор УКРМ-21 |
|
Номер версии (идентификационный номер ПО) |
1.0.X.Y* |
2.0.X.Y* |
не ниже 1.X.Y* |
|
Цифровой идентификатор ПО |
- |
- |
* |
|
Алгоритм вычисления идентификатора ПО |
- |
- |
MD5 |
Примечание:
* «X.Y» не относится к метрологически значимой части ПО. X, Y принимают значения от 0 до 99. Фактический номер версии ПО и цифровой идентификатор вносится в паспорт при выпуске из производства.
Знак утверждения типа
Знак утверждения типананосится на маркировочную табличку на верхней плоскости корпуса БИ-21 и на титульный лист руководства по эксплуатации типографским способом.
Сведения о методиках измерений
Сведения о методиках (методах) измерений
приведены в разделе 1.4 «Устройство и работа» Руководства по эксплуатации НДРП.408828.001 РЭ.
Нормативные и технические документы
Нормативные документы, устанавливающие требования к средству измерений
Приказ Федерального агентства по техническому регулированию и метрологии от 25 ноября 2019 г. № 2815 «Об утверждении Государственной поверочной схемы для средств измерений скорости воздушного потока»;
Приказ Росстандарта от 21 ноября 2023 г. № 2415 «Об утверждении государственной поверочной схемы для средств измерений влажности газов и температуры конденсации углеводородов» (часть А.1);
Приказ Федерального агентства по техническому регулированию и метрологии от 11 мая 2022 г. №1133 «Об утверждении государственной поверочной схемы для средств измерений объемного и массового расходов газа»;
Приказ Федерального агентства по техническому регулированию и метрологии от 19 ноября 2024 г. № 2712 «Об утверждении Государственной поверочной схемы для средств измерений температуры»;
НДРП.408828.001 ТУ «Установки контроля расхода воздушного потока многофункциональные УКРМ-21. Технические условия».
Правообладатель
Общество с ограниченной ответственностью «НЕОРАДТЕХ»
(ООО «НЕОРАДТЕХ»)
ИНН4025435970
Юридический адрес: 249031, Калужская обл., г. Обнинск, ул. Курчатова, д. 19а, офис 405
Испытательный центр
Общество с ограниченной ответственностью «ПРОММАШ ТЕСТ Метрология»(ООО «ПРОММАШ ТЕСТ Метрология»)
Юридический адрес: 119415, город Москва, пр-кт Вернадского, д. 41 стр. 1, помещ. 263 Адрес места осуществления деятельности: 142300, Московская обл., г. Чехов, ш. Симферопольское, д. 2, лит. А, пом. I
Телефон: +7 (495) 108-69-50
E-mail: info@metrologiya.prommashtest.ru
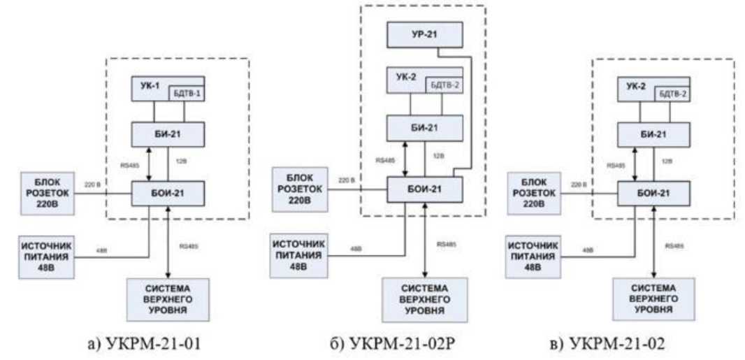
Конструктивно установки выполнены в виде совместимых между собой блоков. В основном блоке - блоке измерения БИ-21 (далее - БИ-21) размещается плата электроники, которая выполняет преобразование параметров воздушного потока в цифровой сигнал. К БИ-21, в зависимости от исполнения, подключается узел контроля УК-1 или УК-2 с установленными ультразвуковыми приемо-передатчиками (далее - УПП), кроме того в УК-1 и УК-2 закрепляется блок датчика температуры и влажности (БДТВ-1 и БДТВ-2 соответственно), который в свою очередь также подключается к БИ-21. Для информационного обмена с верхним уровнем автоматизированных систем используется блок обработки информации БОИ-21 (далее - БОИ-21). БОИ-21 представляет собой модуль, в котором размещены: основная плата (с микропроцессором, блоком питания, разъемами интерфейсов связи с периферийными устройствами), дисплей и дополнительные платы. БОИ-21 оснащен двумя интерфейсами RS-485, первый - для обмена информацией с БИ-21, второй - для информационного обмена с ПК и ВУ АС (протокол ModBUS-RTU) по кабелю связи длиной до 1 км. Кроме того, БОИ-21 отображает информацию о параметрах контролируемой среды на встроенном дисплее, а также поддерживает заданный объемный расход посредством управления узлом регулирования расхода УР-21 (в исполнении УКРМ-21-02Р). Узел регулирования расхода УР-21 состоит из вентиля из вентиля, электропривода и соединительных фитингов, присоединяется посредством резьбового соединения к УК-2 или монтируется на панели монтажной (раме).
Узел контроля УК-1 - плоская платформа, на которой закреплены УПП и БДТВ-1. УК-1 размещается на специальной штанге или непосредственно в вентиляционной трубе (канале).
Узел контроля УК-2 - корпус в виде отрезка трубы, внутри которого размещены УПП и БДТВ-2. УПП располагаются внутри корпуса УК-2 с противоположных сторон расходомерного участка.
Принцип действия установок при измерении скорости воздушного потока (исполнение УКРМ-21-01) основан на измерении времени прохождения акустического сигнала между ультразвуковыми пьезоэлектрическими приемопередатчиками в прямом и обратном направлении движения потока и известному расстоянию между УПП. Разность времен пропорциональна средней скорости движения потока измеряемой среды. Принцип действия установок при измерении объемного расхода (исполнения УКРМ-21-02 и УКРМ-21-02Р) основан на измерении времени прохождения акустического сигнала между ультразвуковыми пьезоэлектрическими приемопередатчиками в прямом и обратном направлении движения потока и известному расстоянию между УПП. Разность времен пропорциональна средней скорости движения потока измеряемой среды. Зная площадь внутреннего сечения и распределение скоростей в расходомерном участке можно определить объемный расход и суммарный объем измеряемой среды. Принцип действия установок при измерении температуры основан на изменении сопротивления терморезистора в зависимости от температуры окружающей среды. Принцип действия установок при измерении влажности воздушного потока основан на изменении электрической ёмкости преобразователя влажности в зависимости от влажности окружающей среды.
Установки изготавливаются в следующих исполнениях, которые отличаются вариантом узла контроля и наличием узла регулирования расхода:
УКРМ-21-01 (НДРП.408828.001); УКРМ-21-02Р (НДРП.408828.001-01);
УКРМ-21-02 (НДРП.408828.001-02).
Структура обозначений исполнений установок приведена в таблице 1.
Таблица 1- Структура обозначений исполнений установок
|
Исполнение |
Опции | |
|
УКРМ-21 |
-ХХХ | |
|
-01 |
Исполнение с узлом контроля УК-1* | |
|
-02 |
Исполнение с узлом контроля УК-2** | |
|
-02Р |
Исполнение с узлом контроля УК-2 и узлом регулирования расхода УР-21** | |
|
Примечание: * исполнение для использования в вентиляционных системах, поставляется без узла регулирования расхода; ** исполнения для использования в средствах пробоотбора воздуха и негорючих газов (газовых смесей). | ||
Структурные схемы исполнений УКРМ-21-01, УКРМ-21-02Р и УКРМ-02 представлены на рисунках 1а), 1б) и 1в) соответственно.
Заводской номер, идентифицирующий каждый экземпляр средства измерений, состоящий из арабских цифр, наносится методом печати на маркировочную табличку, которая крепится на корпус каждого экземпляра средства измерений. Проект маркировочной таблички и указание мест пломбировки и нанесения заводского номера, знака утверждения типа приведены на рисунке 3.
Общий вид УК-1, УК-2, БИ-21, БОИ-21, УР-21 с указанием места размещения маркировочной таблички представлен на рисунке 2.
Рисунок 1 - Структурные схемы исполнений установок
а) Узел контроля УК-1
б) Узел контроля УК-2
Место размещения маркировочной таблички установки


в) Блок измерения БИ-21 г) Узел регулирования расхода УР-21 д) Блок обработки информации БОИ-21
Рисунок 2 - Общий вид УК-1, УК-2, БИ-21, УР-21, БОИ-21 с указанием места размещения маркировочной таблички


Места установки пломб предприятия-изготовителя
ООО "НЕОРАДТЕХ" Установка контроля расхода воздушного потока многофункциональная УКРМ-21-02Место нанесения заводского номера
№ 0003

-220 В. 50Гц, 15ВА
04.2024 г.
Сделано в России г. Обнинск
Место нанесения знака утверждения типа
Рисунок 3 -Проект маркировочной таблички и указание мест пломбировки и нанесения заводского номера, знака утверждения типа
Пломбирование установок осуществляется предприятием-изготовителем с помощью разрушающейся пломбы-наклейки, которая размещается поверх одного из крепежных винтов крышки блока измерения БИ-21 и крышки БОИ-21.
Таблица 6 -
|
Наименование |
Обозначение |
Количество |
|
Установка контроля расхода воздушного потока многофункциональная УКРМ-21 |
УКРМ-21 |
1 шт. |
|
Установки контроля расхода воздушного потока многофункциональные УКРМ-21. Руководство по эксплуатации |
НДРП.408828.001 РЭ |
1 экз. |
|
Установка контроля расхода воздушного потока многофункциональная УКРМ-21. Паспорт |
НДРП.408828.001 ПС |
1 экз. |
|
Электронный носитель (Прикладное ПО «Конфигуратор УКРМ-21», Руководство оператора «Конфигуратор УКРМ-21» в электронном виде)* |
НДРП.303024.01.00-01 |
1 экз. |
|
Примечание: * Поставляется на оптическом диске CD-R. | ||
Таблица 3 - Метрологические характеристики
|
Наименование характеристики |
Значение |
|
Диапазон измерений объемного расхода (исполнения УКРМ-21-02 и УКРМ-21-02Р) от Qmin до Qmax, м3/ч |
от 0,06 до 6,60 |
|
Диапазон измерений скорости потока воздуха и негорючих газов (газовых смесей) (исполнение УКРМ-21-01) от Vmin до Vmax, м/с |
от 0,15 до 40,00 |
|
Диапазон измерений температуры потока воздуха и негорючих газов (газовых смесей), °С |
от -40 до +60 |
|
Диапазон измерений влажности потока воздуха и негорючих газов (газовых смесей), % |
от 10 до 95 |
|
Пределы допускаемой относительной погрешности измерений объемного расхода Q, % (исполнения УКРМ-21-02 и УКРМ-21-02Р):
|
5 X Qmin ±(1 + Q ) ±1,0 |
|
Пределы допускаемой относительной погрешности измерений объема, %, в зависимости от диапазона объемного расхода Q (исполнения УКРМ-21-02 и УКРМ-21-02Р):
|
5 X Qmin ±(2+--О™) ±3,0 |
Продолжение таблицы 3
|
Наименование характеристики |
Значение |
|
Пределы допускаемой относительной погрешности измерений скорости потока воздуха и негорючих газов (газовых смесей) V в диапазоне от 0,15 до 0,50 м/с, % (исполнение УКРМ-21-01) |
(V - Vmin) ±(25-20 0,35 > |
|
Пределы допускаемой относительной погрешности измерений скорости потока воздуха и негорючих газов (газовых смесей) V в диапазоне от 0,5 до 40,0 м/с, % (исполнение УКРМ-21-01) |
±5,0 |
|
Пределы допускаемой абсолютной погрешности измерений температуры потока воздуха и негорючих газов (газовых смесей), °С |
±0,4 |
|
Пределы допускаемой абсолютной погрешности измерений относительной влажности потока воздуха и негорючих газов (газовых смесей), % |
±5,0 |
Таблица 4 - Технические характеристики
|
Наименование характеристики |
Значение |
|
Напряжение питания от источника переменного тока частотой (50±3) Гц, В |
220 +3 |
|
Напряжение питания от стабилизированного источника тока, В |
от 10 до 54 |
|
Условия эксплуатации: | |
|
- температура окружающей среды, °С |
от -40 до +60 |
|
- относительная влажность воздуха (при температуре плюс 35 °С и ниже, | |
|
без конденсации влаги), % |
до 98 |
|
- атмосферное давление, кПа |
от 84,0 до 106,7 |
|
Габаритные размеры БОИ-21 не более, мм | |
|
- длина |
250 |
|
- ширина |
200 |
|
- высота |
100 |
|
Габаритные размеры УР-21 не более, мм | |
|
- длина |
200 |
|
- ширина |
160 |
|
- высота |
70 |
|
Габаритные размеры установок УКРМ-21-01 (без учета БОИ-21) не более, мм | |
|
- длина |
180 |
|
- ширина |
60 |
|
- высота |
125 |
|
Габаритные размеры установок УКРМ-21-02Р (без учета БОИ-21) не более, мм | |
|
- длина |
378 |
|
- ширина |
200 |
|
- высота |
200 |
|
Габаритные размеры установок УКРМ-21-02 (без учета БОИ-21) не более, мм | |
|
- длина |
220 |
|
- ширина |
95 |
|
- высота |
90 |
Продолжение таблицы 4
|
Наименование характеристики |
Значение |
|
Масса, кг, не более: | |
|
- УКРМ-21-01 (без учета БОИ-21) |
0,6 |
|
- УКРМ-21-02Р (без учета БОИ-21) |
4,5 |
|
- УКРМ-21-02 (без учета БОИ-21) |
3,0 |
|
- БОИ-21 |
1,5 |
|
- УР-21 |
1,5 |
Таблица 5 - Показатели надежности
|
Наименование характеристики |
Значение |
|
Средний срок службы, лет, не менее |
15 |
|
Средняя наработка на отказ, ч, не менее |
30000 |

