Номер по Госреестру СИ: 96796-25
96796-25 Расходомеры -счетчики газа ультразвуковые широкодиапазонные
(Turbo Flow UFG-WR)
Назначение средства измерений:
Расходомеры - счетчики газа ультразвуковые широкодиапазонные Turbo Flow UFG-WR (далее - расходомеры) предназначены для измерений объемного расхода и объема газа при рабочих условиях и вычислений объемного расхода и объема газа, приведенного к стандартным условиям, а также для вычислений массового расхода и массы газов.

Внешний вид.
Расходомеры -счетчики газа ультразвуковые широкодиапазонные
Рисунок № 1

Внешний вид.
Расходомеры -счетчики газа ультразвуковые широкодиапазонные
Рисунок № 2

Внешний вид.
Расходомеры -счетчики газа ультразвуковые широкодиапазонные
Рисунок № 3

Внешний вид.
Расходомеры -счетчики газа ультразвуковые широкодиапазонные
Рисунок № 4

Внешний вид.
Расходомеры -счетчики газа ультразвуковые широкодиапазонные
Рисунок № 5

Внешний вид.
Расходомеры -счетчики газа ультразвуковые широкодиапазонные
Рисунок № 6

Внешний вид.
Расходомеры -счетчики газа ультразвуковые широкодиапазонные
Рисунок № 7

Внешний вид.
Расходомеры -счетчики газа ультразвуковые широкодиапазонные
Рисунок № 8

Внешний вид.
Расходомеры -счетчики газа ультразвуковые широкодиапазонные
Рисунок № 9

Внешний вид.
Расходомеры -счетчики газа ультразвуковые широкодиапазонные
Рисунок № 10
Программное обеспечение
Программное обеспечение (далее - ПО) расходомеров по аппаратному обеспечению является встроенным. Преобразование измеряемых величин и обработка измерительных данных выполняется с использованием внутренних аппаратных и программных средств. ПО хранится в энергонезависимой памяти. Программная среда постоянна, отсутствуют средства и пользовательская оболочка для программирования или изменения ПО.
Метрологические характеристики расходомеров нормированы с учетом влияния программного обеспечения.
Программное обеспечение разделено на:
- метрологически значимую часть;
- метрологически незначимую часть.
Разделение программного обеспечения выполнено внутри кода ПО на уровне языка программирования. К метрологически значимой части ПО относятся:
- программные модули, принимающие участие в обработке (расчетах) результатов измерений или влияющие на них;
- программные модули, осуществляющие отображение измерительной информации, ее хранение, передачу, идентификацию, защиту ПО и данных;
- параметры, участвующие в вычислениях и влияющие на результат измерений;
- компоненты защищенного интерфейса для обмена данными с внешними устройствами.
Примененные специальные средства защиты в достаточной мере исключают возможность несанкционированной модификации, обновления (загрузки), удаления и иных преднамеренных изменений метрологически значимой части ПО и измеренных (вычисленных) данных. Уровень защиты программного обеспечения расходомеров от преднамеренных и непреднамеренных изменений - «средний» в соответствии с Р 50.2.077-2014.
Таблица 2 - Идентификационные данные программного обеспечения
|
Идентификационные данные (признаки) |
Значение |
|
Идентификационное наименование ПО |
UFG.WR |
|
Номер версии (идентификационный номер) ПО |
2.00 |
|
Цифровой идентификатор ПО |
0xB7B9EBBE |
|
Алгоритм вычисления цифрового идентификатора программного обеспечения |
CRC-32 |
Знак утверждения типа
Знак утверждения типа наносится на маркировочную табличку, закрепленную на корпусе ЭБ и РШ (при наличии) методом аппликации или лазерной гравировки. Заводской номер, состоящий из шести арабских цифр, наносится на маркировочную табличку, закрепленную на корпусе ЭБ. Формат и место нанесения заводского номера (1) и знака утверждения типа (2) представлены на рисунке 17.Ограничение доступа к местам настройки (регулировки), расположенным в ЭБ, осуществляется путем нанесения свинцовых или мастичных пломб с изображением знака поверки на винтах крепления ЭБ к УПР. Схема пломбировки от несанкционированного доступа, обозначение мест нанесения знаков поверки представлены на рисунках 10 - 16.
Таблица 1 -
Исполнения
в зависимости от состава и выполняемых
|
Исполнение |
УПР, ЭБ |
Преобразователи |
ВР встроен в ЭБ |
ВР вынесен в РШ |
ВТ/ВТ(М) или РШ с ПК |
Корректор объема газа Суперфлоу 23 |
Преобразователь плотности UDM | |
|
Тем пе- ратуры |
Давления | |||||||
|
C1TP |
+ |
+ |
+ |
+ |
- |
+/- |
- |
- |
|
C2TP |
+ |
+ |
+ |
- |
+ |
+/- |
- |
- |
|
C4 |
+ |
- |
- |
- |
- |
+/- |
+ |
- |
|
C5TP |
+ |
+ |
+ |
+ |
- |
+/- |
- |
+ |
Примечание: «+» - входит в состав расходомера, «-» - не входит в состав расходомера «+/-» - может входить опционально (по заказу)
В расходомерах предусмотрены:
-
- возможность замены попарно согласованных ультразвуковых приемопередатчиков, под рабочим давлением без остановки потока газа;
-
- автоматическая самодиагностика и проверка нулевых и контрольных значений измеряемых величин;
-
- возможность измерений расхода газа в прямом и в обратном направлении (реверсивный режим);
-
- для исполнений С1 TP, C2TP возможность подключения преобразователей плотности;
-
- для исполнений C1TP, C2TP по заказу доступна функция индикации рассчитанной плотности измеряемой среды в рабочих и стандартных условиях;
-
- выбор метода приведения объема (объемного расхода) газа к стандартным условиям:
«PTZ - пересчет» по измеренным значениям объема (объемного расхода) при рабочих условиях, температуры и давления газа и условно-постоянным данным по составу газа;
«р - пересчет» для исполнений C1TP, C2TP, С5ТР по измеренным значениям объема (объемного расхода) при рабочих условиях, плотности при рабочих и стандартных условиях.
Расходомеры обеспечивают выполнение следующих функций:
- архивирование в энергонезависимой памяти и вывод на показывающее устройство результатов измерений и вычислений объема, расхода, температуры, давления, плотности, архивов событий и параметров функционирования;
- введение и регистрацию значений условно-постоянных величин;
- защиту от несанкционированного доступа к параметризации и архивам;
- передачу измеренных данных, параметров настройки и архивной информации;
- разделение и ограничение напряжения и тока в искробезопасных цепях;
- диагностическую функцию расчета плотности.
Расходомеры обеспечивают индикацию следующих параметров:
- отношение коэффициентов сжимаемости при рабочих и стандартных условиях*;
- текущего значения объема и объемного расхода газа при рабочих условиях;
- текущего значения объемного расхода газа, приведенного к стандартным условиям;
- текущего значения температуры измеряемой среды;
- текущего значения давления измеряемой среды;
- текущего значения скорости потока измеряемой среды;
- текущего значения скорости звука;
- текущего значения накопленного объема газа, приведенного к стандартным условиям;
- текущего значения массового расхода газа*;
- текущего значения плотности газа*;
- текущего значения плотности газа при стандартных условиях*;
- текущих параметров даты и времени;
- суммарного накопленного рабочего объема, массы и объема газа, приведенного к стандартным условиям;
- параметров функционирования расходомера.
Общий вид расходомеров представлен на рисунках 1 - 9.
Рисунок 1 - УПР в корпусе круглого сечения с Рисунок 2 - УПР в корпусе прямоугольного раздельными защитными крышками с сечения с совмещенными защитными
преобразователем температуры и давления крышками с преобразователем температуры и давления

для всех исполнений кроме C4.
Рисунок 3 - УПР в корпусе круглого сечения с защитным кожухом с преобразователем температуры и давления
Рисунок 4 - Расходомеры - счетчики газа ультразвуковые широкодиапазонные Turbo Flow UFG-WR модификация С5ТР с преобразователем плотности газа Turbo Flow UDM модификации UDM-I
Рисунок 5 - Расходомеры - счетчики газа ультразвуковые широкодиапазонные Turbo Flow UFG-WR модификация С5ТР с преобразователем плотности газа Turbo Flow UDM модификации UDM-B
Рисунок 6 - Расходомерный
шкаф
Рисунок 7 -Расходомерный шкаф с промышленным компьютером
Рисунок 8 - Выносной терминал (ВТ)
Вид сверху
Рисунок 9 - Выносной терминал в металлическом корпусе (ВТМ)

Рисунок 10 - Корпус круглого сечения с раздельными защитными крышками
Вид сверху

Рисунок 11 - Корпус прямоугольного сечения с совмещенными защитными крышками
Вид сверху Вид сбоку
Рисунок 12 - Корпус круглого сечения с защитным кожухом
Рисунок 13 - Расходомерный шкаф
Рисунок 14 - Выносной терминал (ВТ)
Рисунок 15 - Выносной терминал в металлическом корпусе (ВТМ)
|
- | ||
|
тъмао *vow | ||
|
® ® ж ® ® ® ® ® |

3
Рисунок 16 - Электронный блок
-
1 - пломба свинцовая предприятия-изготовителя;
-
2 - места для нанесения знака поверки способом давления на специальную мастику;
-
3 - пломбы предприятия-изготовителя способом давления на специальную мастику;
-
4 - отверстия для пломбирования газоснабжающими организациями.
Место
нанесения
заводского
номера
Место
нанесения
утверждения
Рисунок 17 - Маркировочная табличка расходомеров - счетчиков газа ультразвуковых широкодиапазонных Turbo Flow UFG-WR
знака
Программное обеспечение (далее - ПО) расходомеров по аппаратному обеспечению является встроенным. Преобразование измеряемых величин и обработка измерительных данных выполняется с использованием внутренних аппаратных и программных средств. ПО хранится в энергонезависимой памяти. Программная среда постоянна, отсутствуют средства и пользовательская оболочка для программирования или изменения ПО.
Метрологические характеристики расходомеров нормированы с учетом влияния программного обеспечения.
Программное обеспечение разделено на:
- метрологически значимую часть;
- метрологически незначимую часть.
Разделение программного обеспечения выполнено внутри кода ПО на уровне языка программирования. К метрологически значимой части ПО относятся:
- программные модули, принимающие участие в обработке (расчетах) результатов измерений или влияющие на них;
- программные модули, осуществляющие отображение измерительной информации, ее хранение, передачу, идентификацию, защиту ПО и данных;
- параметры, участвующие в вычислениях и влияющие на результат измерений;
- компоненты защищенного интерфейса для обмена данными с внешними устройствами.
Примененные специальные средства защиты в достаточной мере исключают возможность несанкционированной модификации, обновления (загрузки), удаления и иных преднамеренных изменений метрологически значимой части ПО и измеренных (вычисленных) данных. Уровень защиты программного обеспечения расходомеров от преднамеренных и непреднамеренных изменений - «средний» в соответствии с Р 50.2.077-2014.
Таблица 2 - Идентификационные данные программного обеспечения
|
Идентификационные данные (признаки) |
Значение |
|
Идентификационное наименование ПО |
UFG.WR |
|
Номер версии (идентификационный номер) ПО |
2.00 |
|
Цифровой идентификатор ПО |
0xB7B9EBBE |
|
Алгоритм вычисления цифрового идентификатора программного обеспечения |
CRC-32 |
Метрологические и технические характеристики
Таблица 3 - Метрологические характеристики
|
Наименование характеристики |
Значение | |
|
Диаметр номинальный DN, мм |
от 50 до 500 |
от 600 до 1400 |
|
Диапазон измерений объемного расхода газа в рабочих условиях, м3/ч |
от 0,7 до 32000 |
от 150 до 150000 |
|
Скорость потока газа в обоих направлениях, м/с, не более |
45 |
35 |
|
Наименование характеристики |
Значение | ||
|
Пределы допускаемой относительной погрешности измерений объемного расхода и объема газа при рабочих условиях, в диапазоне расходов^ |
Qmin<Q<0,01Qmax |
0,01Qmax<Q<Qmax |
Qmin<Q<Qmax |
|
исполнение Д, % |
±3,0/3,22) (3,5)3) |
±1,5/1,72) (2,0)3) |
- |
|
исполнение Г, % |
±2,0/2,22) (2,5)3) |
±1,0/1,22) (1,5)3) |
- |
|
исполнение В, % |
±1,0/1,22) (1,5)3) |
±0,5/0,72) (1,0)3) |
- |
|
исполнение Б, % |
±0,5/0,72) (1,0)3) | ||
|
исполнение А, % |
±0,5/0,72) (0,7)3) - | ||
|
Верхний предел измерений избыточного давления (ВПИ)4), МПа |
от 0,0025 до 45 | ||
|
Верхний предел измерений абсолютного давления (ВПИ)4), МПа |
от 0,1 до 45 | ||
|
Пределы допускаемой относительной погрешности измерений давления4-*, % |
±(0,1+0,01-ВПИ/Р), где P - измеряемое давление | ||
|
Рабочий диапазон измерений давления4*, % ВПИ |
от 10 до 100 | ||
|
Диапазон измерений плотности газа в рабочих условиях преобразователя плотности газа для исполнения C5TP, кг/м3 |
от 0,14 до 3505) | ||
|
Пределы допускаемой относительной погрешности измерений плотности газа для исполнения C5TP6), % при рабочих условиях при стандартных условиях |
±0,14; ±0,3; ±0,5; ±1,5 ±(|Х|+ 0,1 %), где Х - пределы допускаемой относительной погрешности измерений плотности газа в рабочих условиях | ||
|
Пределы допускаемой приведенной к диапазону измерений погрешности расходомера при преобразовании значения расхода газа в токовый выходной сигнал от 4 до 20 мА, % |
±0,1 | ||
|
Пределы допускаемой относительной погрешности расходомера при преобразовании значения расхода газа в частотный выходной сигнал, % |
±0,1 | ||
|
Диапазон измерений температуры газа4), °С для исполнения М для исполнения Х |
от -30 до +70 от -60 до +70 | ||
|
Пределы допускаемой абсолютной погрешности измерений температуры газа4), °С |
±(0,15 + 0,002-|t|), где t - измеряемая температура | ||
|
Наименование характеристики |
Значение |
|
Пределы допускаемой относительной погрешности вычислителя ВР, вычислений массового расхода и массы газа, объемного расхода и объема газа, приведенного к стандартным условиям4), % |
±0,01 |
| |
Таблица 4 - Технические характеристики
|
Наименование характеристики |
Значение |
|
Цифровые проводные интерфейсы |
протокол HART, протокол MODBUS RTU по интерфейсам RS-232, RS-232 TTL и RS-485, Namur |
|
Цифровые беспроводные интерфейсы |
GSM, GPRS, Bluetooth, IrDA (ИК-порт), Zig Bee, M2M 433/868 МГц, NB-IOT, NB-Fi, LoRa |
|
Маркировка взрывозащиты |
1Ex db ib [ia Ga] IIC T4 Gb 1Ex db [ia Ga] IIC T4 Gb 1Ex db ma ib [ia Ga] IIC T4 Gb 1Ex db ma [ia Ga] IIC T4 Gb |
|
Степень защиты по ГОСТ 14254-2015 |
IP67 |
|
Параметры электрического питания, В: -от встроенной батареи -от внешнего блока питания |
3,6 от 12 до 24 |
|
Потребляемая мощность, Вт, не более |
10 |
|
Условия эксплуатации:
для исполнения Х
|
от -30 до +70 от -60 до +70 до 95 от 84,0 до 106,7 |
|
Наименование характеристики |
Значение |
|
Избыточное давление измеряемой среды, МПа, не более |
24 |
|
Диапазон температуры измеряемой среды1), °С | |
|
для исполнения М |
от -30 до +70 |
|
для исполнения Х |
от -60 до +70 |
|
Масса, кг |
от 18 до 50000 |
|
Габаритные размеры, мм, не более | |
|
- высота |
2400 |
|
- ширина |
2200 |
|
- длина |
8400 |
|
1) конкретные значения указываются в эксплуатационной документации изготовителя. | |
Таблица 5 - Показания надежности
|
Наименование характеристики |
Значение |
|
Средний срок службы, не менее, лет |
16 |
|
Средняя наработка на отказ, не менее, ч |
70000 |
наносится на маркировочную табличку, закрепленную на корпусе ЭБ и РШ (при наличии) методом аппликации или лазерной гравировки и на титульные листы руководства по эксплуатации и паспорта печатным способом.
Сведения о методиках измерений
Сведения о методиках (методах) измерений
приведены в разделе 2 «Использование по назначению» Руководства по эксплуатации ТУАС.407252.003 РЭ.
Нормативные и технические документы
Нормативные и технические документы, устанавливающие требования к средству измеренийПриказ Росстандарта от 11 мая 2022 г. № 1133 «Об утверждении государственной поверочной схемы для средств измерений объемного и массового расходов газа»
ГОСТ 8.611-2024 «ГСИ. Расход и объем газа. Методика (метод) измерений с применением ультразвуковых преобразователей расхода», регистрационный номер методики измерений в Федеральном информационном фонде по обеспечению единства измерений ФР.1.29.2024.49397
ГОСТ 30319.2-2015 Газ природный. Методы расчета физических свойств. Вычисление физических свойств на основе данных о плотности при стандартных условиях и содержании азота и диоксида углерода
ГОСТ 30319.3-2015 Газ природный. Методы расчета физических свойств. Вычисление физических свойств на основе данных о компонентном составе
ГОСТ Р 70927-2023 Газ природный. Методы расчета физических свойств. Вычисление коэффициента сжимаемости в области низких температур
ГСССД МР 273-2018 Методика расчетного определения плотности, фактора сжимаемости, скорости звука, показателя адиабаты, коэффициента динамической вязкости влажных газовых смесей в диапазоне температур от 263 К до 500 К при давлениях до 30 МПа
ГСССД МР 118-2005 Расчет плотности, фактора сжимаемости, показателя адиабаты и коэффициента динамической вязкости умеренно сжатых газовых смесей
ГСССД МР 229-2014 Методика расчетного определения термодинамических свойств и коэффициента динамической вязкости природного газа при температурах 250...350 К и давлениях до 30 МПа на основе ГОСТ Р 8.662-2009 и ГОСТ Р 8.770-2011
ГСССД МР 134-2007 Расчет плотности, фактора сжимаемости, показателя адиабаты и коэффициента динамической вязкости азота, ацетилена, кислорода, диоксида углерода, аммиака, аргона и водорода в диапазоне температур 200 . 425 K и давлений до 10 МПа
ГСССД МР 277-2019 «Методика расчётного определения плотности гелиевого концентрата в диапазонах температур от -5 °С до 45 °С и абсолютных давлений от 0,1 МПа до 17 МПа»
ГСССД МР 147-2008 Расчет плотности, энтальпии, показателя адиабаты и коэффициента динамической вязкости воды и водяного пара при температурах 0.1000 С и давлениях 0,0005.100 МПа на основании таблиц стандартных справочных данных ГСССД 187-99 и ГСССД 6-89
ТУ 26.51.52.110-036-70670506-2023 Расходомеры - счетчики газа ультразвуковые широкодиапазонные Turbo Flow UFG-WR. Технические условия
Правообладатель
Общество с ограниченной ответственностью «Газпром трансгаз Саратов»
(ООО «Газпром трансгаз Саратов»)
Юридический адрес: 410052, Саратовская обл., г. Саратов, пр-кт им. 50 лет Октября, д. 118А, стр. 1
Изготовитель
Общество с ограниченной ответственностью НПО «Турбулентность-ДОН»
(ООО НПО «Турбулентность-ДОН»)
ИНН 6141021685
Юридический адрес: 129110, г. Москва, вн. тер. г. муниципальный округ Мещанский, ул. Щепкина, д. 47, стр. 1, офис V, ком. 11
Адрес места осуществления деятельности: 346815, Ростовская обл., Мясниковский м.р-н, Краснокрымское с.п., автодорога Ростов-на-Дону - Новошахтинск тер., 1-й км, зд. 6/8
Испытательный центр
Федеральное бюджетное учреждение «Научно-исследовательский центр прикладной метрологии - Ростест»(ФБУ «НИЦ ПМ - Ростест»)
Юридический адрес: 117418, г. Москва, Нахимовский пр-кт, д. 31
Адрес места осуществления деятельности: 119361, г. Москва, ул. Озерная, д. 46
Телефон: +7 (495) 544-00-00
Web-сайт: www.rostest.ru
E-mail: info@rostest.ru
Правообладатель
Общество с ограниченной ответственностью «Газпром трансгаз Саратов»
(ООО «Газпром трансгаз Саратов»)
Юридический адрес: 410052, Саратовская обл., г. Саратов, пр-кт им. 50 лет Октября, д. 118А, стр. 1
Принцип работы расходомеров основан на методе измерений разности между временем прохождения ультразвуковых импульсов по потоку и против потока газа. Измеренная разность времени пропорциональна скорости потока и объемному расходу газа. По измеренным значениям объемного расхода и объема при рабочих условиях, давления, температуры и плотности газа по стандартизованным алгоритмам, в том числе в соответствии с ГОСТ 8.611-2024, вычисляют объемный расход и объем газа, приведенный к стандартным условиям, а также массовый расход и массу газа. Информация о плотности при стандартных условиях и составе измеряемой среды может быть задана в виде условно-постоянных параметров.
В зависимости от исполнения в состав расходомеров могут входить:
-
- преобразователь расхода ультразвуковой (далее - УПР) в корпусном исполнении опционально с защитными крышками или кожухом;
-
- выносной преобразователь температуры;
-
- выносной преобразователь давления;
-
- преобразователь плотности газа Turbo Flow UDM (регистрационный номер 86699-22);
-
- электронный блок (далее - ЭБ), который осуществляет прием - передачу сигналов от ультразвуковых приемо-передатчиков, преобразователей давления, температуры, плотности, их преобразование, обработку и вычисление объемного и массового расхода газа, расчетного значения плотности, с последующим формированием цифровых выходных сигналов. ЭБ устанавливается на УПР или удаленно;
-
- вычислитель расхода (далее - ВР), который обрабатывает входные сигналы и вычисляет объемный расход и объем газа при рабочих и стандартных условиях, а также массовый расход и массу газа, или корректор объема газа Суперфлоу 23 (регистрационный номер 89873-23). ВР может быть встроен в ЭБ или вынесен в расходомерный шкаф (далее - РШ).
Расходомеры изготавливаются по заказу в любой цветовой гамме.
В расходомерах возможно частичное или полное дублирование ультразвуковых приемо-передатчиков, ЭБ с ВР, преобразователей давления, преобразователей температуры.
Для возможности дистанционного считывания информации расходомер может быть укомплектован выносным терминалом (далее - ВТ или ВТ(М), либо РШ с промышленным компьютером (далее -РШ с ПК).
Расходомеры выпускаются в исполнениях С1ТР, С2ТР, С4, С5ТР, которые отличаются составом и выполняемыми функциями, указанными в таблице 1.
Расходомеры имеют исполнения А, Б, В, Г, Д, которые отличаются значениями допускаемой относительной погрешности, количеством пар приемопередатчиков и требованиями к прямолинейным участкам. При необходимости сокращения длин прямолинейных участков до и после расходомера для исполнений В, Г, Д в комплект поставки могут входить прямолинейные участки 2DN до расходомера и 1DN после расходомера с устройством формирования потока УФП С1, изготовленные ООО НПО «Турбулентность-ДОН».
В зависимости от диапазонов температуры окружающей и измеряемой среды расходомеры имеют исполнения М и Х.
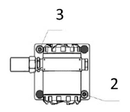
Знак утверждения типа наносится на маркировочную табличку, закрепленную на корпусе ЭБ и РШ (при наличии) методом аппликации или лазерной гравировки. Заводской номер, состоящий из шести арабских цифр, наносится на маркировочную табличку, закрепленную на корпусе ЭБ. Формат и место нанесения заводского номера (1) и знака утверждения типа (2) представлены на рисунке 17.
Ограничение доступа к местам настройки (регулировки), расположенным в ЭБ, осуществляется путем нанесения свинцовых или мастичных пломб с изображением знака поверки на винтах крепления ЭБ к УПР. Схема пломбировки от несанкционированного доступа, обозначение мест нанесения знаков поверки представлены на рисунках 10 - 16.
Таблица 1 -
Исполнения
в зависимости от состава и выполняемых
|
Исполнение |
УПР, ЭБ |
Преобразователи |
ВР встроен в ЭБ |
ВР вынесен в РШ |
ВТ/ВТ(М) или РШ с ПК |
Корректор объема газа Суперфлоу 23 |
Преобразователь плотности UDM | |
|
Тем пе- ратуры |
Давления | |||||||
|
C1TP |
+ |
+ |
+ |
+ |
- |
+/- |
- |
- |
|
C2TP |
+ |
+ |
+ |
- |
+ |
+/- |
- |
- |
|
C4 |
+ |
- |
- |
- |
- |
+/- |
+ |
- |
|
C5TP |
+ |
+ |
+ |
+ |
- |
+/- |
- |
+ |
Примечание: «+» - входит в состав расходомера, «-» - не входит в состав расходомера «+/-» - может входить опционально (по заказу)
В расходомерах предусмотрены:
-
- возможность замены попарно согласованных ультразвуковых приемопередатчиков, под рабочим давлением без остановки потока газа;
-
- автоматическая самодиагностика и проверка нулевых и контрольных значений измеряемых величин;
-
- возможность измерений расхода газа в прямом и в обратном направлении (реверсивный режим);
-
- для исполнений С1 TP, C2TP возможность подключения преобразователей плотности;
-
- для исполнений C1TP, C2TP по заказу доступна функция индикации рассчитанной плотности измеряемой среды в рабочих и стандартных условиях;
-
- выбор метода приведения объема (объемного расхода) газа к стандартным условиям:
«PTZ - пересчет» по измеренным значениям объема (объемного расхода) при рабочих условиях, температуры и давления газа и условно-постоянным данным по составу газа;
«р - пересчет» для исполнений C1TP, C2TP, С5ТР по измеренным значениям объема (объемного расхода) при рабочих условиях, плотности при рабочих и стандартных условиях.
Расходомеры обеспечивают выполнение следующих функций:
- архивирование в энергонезависимой памяти и вывод на показывающее устройство результатов измерений и вычислений объема, расхода, температуры, давления, плотности, архивов событий и параметров функционирования;
- введение и регистрацию значений условно-постоянных величин;
- защиту от несанкционированного доступа к параметризации и архивам;
- передачу измеренных данных, параметров настройки и архивной информации;
- разделение и ограничение напряжения и тока в искробезопасных цепях;
- диагностическую функцию расчета плотности.
Расходомеры обеспечивают индикацию следующих параметров:
- отношение коэффициентов сжимаемости при рабочих и стандартных условиях*;
- текущего значения объема и объемного расхода газа при рабочих условиях;
- текущего значения объемного расхода газа, приведенного к стандартным условиям;
- текущего значения температуры измеряемой среды;
- текущего значения давления измеряемой среды;
- текущего значения скорости потока измеряемой среды;
- текущего значения скорости звука;
- текущего значения накопленного объема газа, приведенного к стандартным условиям;
- текущего значения массового расхода газа*;
- текущего значения плотности газа*;
- текущего значения плотности газа при стандартных условиях*;
- текущих параметров даты и времени;
- суммарного накопленного рабочего объема, массы и объема газа, приведенного к стандартным условиям;
- параметров функционирования расходомера.
Общий вид расходомеров представлен на рисунках 1 - 9.
Рисунок 1 - УПР в корпусе круглого сечения с Рисунок 2 - УПР в корпусе прямоугольного раздельными защитными крышками с сечения с совмещенными защитными
преобразователем температуры и давления крышками с преобразователем температуры и давления

для всех исполнений кроме C4.
Рисунок 3 - УПР в корпусе круглого сечения с защитным кожухом с преобразователем температуры и давления
Рисунок 4 - Расходомеры - счетчики газа ультразвуковые широкодиапазонные Turbo Flow UFG-WR модификация С5ТР с преобразователем плотности газа Turbo Flow UDM модификации UDM-I
Рисунок 5 - Расходомеры - счетчики газа ультразвуковые широкодиапазонные Turbo Flow UFG-WR модификация С5ТР с преобразователем плотности газа Turbo Flow UDM модификации UDM-B
Рисунок 6 - Расходомерный
шкаф
Рисунок 7 -Расходомерный шкаф с промышленным компьютером
Рисунок 8 - Выносной терминал (ВТ)
Вид сверху
Рисунок 9 - Выносной терминал в металлическом корпусе (ВТМ)

Рисунок 10 - Корпус круглого сечения с раздельными защитными крышками
Вид сверху

Рисунок 11 - Корпус прямоугольного сечения с совмещенными защитными крышками
Вид сверху Вид сбоку
Рисунок 12 - Корпус круглого сечения с защитным кожухом
Рисунок 13 - Расходомерный шкаф
Рисунок 14 - Выносной терминал (ВТ)
Рисунок 15 - Выносной терминал в металлическом корпусе (ВТМ)
|
- | ||
|
тъмао *vow | ||
|
® ® ж ® ® ® ® ® |

3
Рисунок 16 - Электронный блок
-
1 - пломба свинцовая предприятия-изготовителя;
-
2 - места для нанесения знака поверки способом давления на специальную мастику;
-
3 - пломбы предприятия-изготовителя способом давления на специальную мастику;
-
4 - отверстия для пломбирования газоснабжающими организациями.
Место
нанесения
заводского
номера
Место
нанесения
утверждения
Рисунок 17 - Маркировочная табличка расходомеров - счетчиков газа ультразвуковых широкодиапазонных Turbo Flow UFG-WR
знака
Таблица 6 -
|
Наименование |
Обозначение |
Количество |
|
Расходомер-счетчик газа ультразвуковой широкодиапазонный |
Turbo Flow UFG-WR |
1 шт. |
|
Расходомеры - счетчики газа ультразвуковые широкодиапазонные Turbo Flow UFG-WR. Руководство по эксплуатации |
ТУАС.407252.003 РЭ |
1 экз. Допускается поставлять один экземпляр в один адрес отгрузки |
|
Расходомеры - счетчики газа ультразвуковые широкодиапазонные Turbo Flow UFG-WR. Паспорт |
ТУАС.407252.003 ПС |
1 экз. |
|
Эксплуатационная документация на корректор объема газа Суперфлоу 23 |
1 комплект (для исполнения С4) | |
|
Эксплуатационная документация на преобразователь плотности газа Turbo Flow UDM |
1 комплект (для исполнения С5ТР) | |
|
Комплект монтажных частей |
1 комплект (по заказу) | |
|
Прямолинейные участки с устройством формирования потока УФП С1 |
1 комплект (по заказу) |
Таблица 3 - Метрологические характеристики
|
Наименование характеристики |
Значение | |
|
Диаметр номинальный DN, мм |
от 50 до 500 |
от 600 до 1400 |
|
Диапазон измерений объемного расхода газа в рабочих условиях, м3/ч |
от 0,7 до 32000 |
от 150 до 150000 |
|
Скорость потока газа в обоих направлениях, м/с, не более |
45 |
35 |
|
Наименование характеристики |
Значение | ||
|
Пределы допускаемой относительной погрешности измерений объемного расхода и объема газа при рабочих условиях, в диапазоне расходов^ |
Qmin<Q<0,01Qmax |
0,01Qmax<Q<Qmax |
Qmin<Q<Qmax |
|
исполнение Д, % |
±3,0/3,22) (3,5)3) |
±1,5/1,72) (2,0)3) |
- |
|
исполнение Г, % |
±2,0/2,22) (2,5)3) |
±1,0/1,22) (1,5)3) |
- |
|
исполнение В, % |
±1,0/1,22) (1,5)3) |
±0,5/0,72) (1,0)3) |
- |
|
исполнение Б, % |
±0,5/0,72) (1,0)3) | ||
|
исполнение А, % |
±0,5/0,72) (0,7)3) - | ||
|
Верхний предел измерений избыточного давления (ВПИ)4), МПа |
от 0,0025 до 45 | ||
|
Верхний предел измерений абсолютного давления (ВПИ)4), МПа |
от 0,1 до 45 | ||
|
Пределы допускаемой относительной погрешности измерений давления4-*, % |
±(0,1+0,01-ВПИ/Р), где P - измеряемое давление | ||
|
Рабочий диапазон измерений давления4*, % ВПИ |
от 10 до 100 | ||
|
Диапазон измерений плотности газа в рабочих условиях преобразователя плотности газа для исполнения C5TP, кг/м3 |
от 0,14 до 3505) | ||
|
Пределы допускаемой относительной погрешности измерений плотности газа для исполнения C5TP6), % при рабочих условиях при стандартных условиях |
±0,14; ±0,3; ±0,5; ±1,5 ±(|Х|+ 0,1 %), где Х - пределы допускаемой относительной погрешности измерений плотности газа в рабочих условиях | ||
|
Пределы допускаемой приведенной к диапазону измерений погрешности расходомера при преобразовании значения расхода газа в токовый выходной сигнал от 4 до 20 мА, % |
±0,1 | ||
|
Пределы допускаемой относительной погрешности расходомера при преобразовании значения расхода газа в частотный выходной сигнал, % |
±0,1 | ||
|
Диапазон измерений температуры газа4), °С для исполнения М для исполнения Х |
от -30 до +70 от -60 до +70 | ||
|
Пределы допускаемой абсолютной погрешности измерений температуры газа4), °С |
±(0,15 + 0,002-|t|), где t - измеряемая температура | ||
|
Наименование характеристики |
Значение |
|
Пределы допускаемой относительной погрешности вычислителя ВР, вычислений массового расхода и массы газа, объемного расхода и объема газа, приведенного к стандартным условиям4), % |
±0,01 |
| |
Таблица 4 - Технические характеристики
|
Наименование характеристики |
Значение |
|
Цифровые проводные интерфейсы |
протокол HART, протокол MODBUS RTU по интерфейсам RS-232, RS-232 TTL и RS-485, Namur |
|
Цифровые беспроводные интерфейсы |
GSM, GPRS, Bluetooth, IrDA (ИК-порт), Zig Bee, M2M 433/868 МГц, NB-IOT, NB-Fi, LoRa |
|
Маркировка взрывозащиты |
1Ex db ib [ia Ga] IIC T4 Gb 1Ex db [ia Ga] IIC T4 Gb 1Ex db ma ib [ia Ga] IIC T4 Gb 1Ex db ma [ia Ga] IIC T4 Gb |
|
Степень защиты по ГОСТ 14254-2015 |
IP67 |
|
Параметры электрического питания, В: -от встроенной батареи -от внешнего блока питания |
3,6 от 12 до 24 |
|
Потребляемая мощность, Вт, не более |
10 |
|
Условия эксплуатации:
для исполнения Х
|
от -30 до +70 от -60 до +70 до 95 от 84,0 до 106,7 |
|
Наименование характеристики |
Значение |
|
Избыточное давление измеряемой среды, МПа, не более |
24 |
|
Диапазон температуры измеряемой среды1), °С | |
|
для исполнения М |
от -30 до +70 |
|
для исполнения Х |
от -60 до +70 |
|
Масса, кг |
от 18 до 50000 |
|
Габаритные размеры, мм, не более | |
|
- высота |
2400 |
|
- ширина |
2200 |
|
- длина |
8400 |
|
1) конкретные значения указываются в эксплуатационной документации изготовителя. | |
Таблица 5 - Показания надежности
|
Наименование характеристики |
Значение |
|
Средний срок службы, не менее, лет |
16 |
|
Средняя наработка на отказ, не менее, ч |
70000 |

