Номер по Госреестру СИ: 96166-25
96166-25 Танки наливного судна "ТО-1545"
()
Назначение средства измерений:
Танки наливного судна «ТО-1545» (далее - танки) предназначены для измерений объема нефти и нефтепродуктов, а также для их приема, хранения, отпуска и транспортировки.

Внешний вид.
Танки наливного судна "ТО-1545"
Рисунок № 1

Внешний вид.
Танки наливного судна "ТО-1545"
Рисунок № 2

Внешний вид.
Танки наливного судна "ТО-1545"
Рисунок № 3
Знак утверждения типа
Знак утверждения типананосится на титульный лист паспорта танка типографским способом.
Сведения о методиках измерений
Сведения о методиках (методах) измеренийприведены в разделе 8 «Порядок работы» паспорта.
Нормативные и технические документы
Нормативные документы, устанавливающие требования к средству измерений
Приказ Росстандарта от 26 сентября 2022 года № 2356 «Об утверждении Государственной поверочной схемы для средств измерений массы и объема жидкости в потоке, объема жидкости и вместимости при статических измерениях, массового и объемного расходов жидкости».
Правообладатель
Публичное акционерное общество «Ленское объединенное речное пароходство»
(ПАО «ЛОРП»)
ИНН 1435029085
Юридический адрес: 677000, Республика Саха (Якутия), г. Якутск, ул. Дзержинского, 2
Телефон/факс: +7 (4112) 42-02-07/(4112) 42-00-11
Изготовитель
Публичное акционерное общество «Ленское объединенное речное пароходство»
(ПАО «ЛОРП»)
ИНН 1435029085
Адрес: 677000, Республика Саха (Якутия), г. Якутск, ул. Дзержинского, 2
Телефон/факс: +7 (4112) 42-02-07/(4112) 42-00-11
Испытательный центр
Всероссийский научно-исследовательский институт расходометрии - филиал Федерального государственного унитарного предприятия «Всероссийский научноисследовательский институт метрологии им. Д.И. Менделеева»
(ВНИИР - филиал ФГУП «ВНИИМ им. Д.И. Менделеева»)
Адрес места осуществления деятельности: 420088, Республика Татарстан, г. Казань, ул. 2-я Азинская, 7 «а»
Юридический адрес: 190005, г. Санкт-Петербург, Московский пр-кт, д. 19
Телефон/ факс: +7 (843) 272-70-62/(843) 272-00-32
Web-сайт: vniir.org
E-mail: office@vniir.org
Правообладатель
Публичное акционерное общество «Ленское объединенное речное пароходство»
(ПАО «ЛОРП»)
ИНН 1435029085
Юридический адрес: 677000, Республика Саха (Якутия), г. Якутск, ул. Дзержинского, 2
Телефон/факс: +7 (4112) 42-02-07/(4112) 42-00-11
Принцип действия танков основан на заполнении их нефтью или нефтепродуктом до произвольных уровней, соответствующих определенным объемам (вместимостям), приведенных в градуировочной таблице резервуара.
Танки представляют собой прямоугольные сосуды, расположенные в трюме судна «ТО-1545» по правому и левому борту и разделены между собой непроницаемыми переборками.
Переборки танков представляют собой обшивку из листовой стали, подкрепленную силовым набором.
Сверху танки закрыты герметичной крышей, на которой расположены мерная труба и технологический люк.
Заполнение и выдача продукта осуществляются через приемно-раздаточные патрубки, расположенные в нижней части танка.
Заводские номера танков в виде цифрового обозначения, состоящие из арабских цифр, нанесены методом аэрографии на крышки люков лаза танков (рисунок 1).
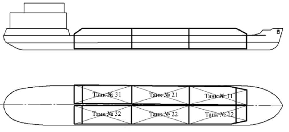
Танки с заводскими номерами 11, 12, 21, 22, 31, 32 расположены на наливном судне «ТО-1545».
Общий вид наливного судна «ТО-1545» и эскиз общего вида с расположением танков представлен на рисунках 2, 3.
Нанесение знака поверки на средство измерений не предусмотрено.
Рисунок 1 - Заводские номера, нанесенные на люк лазы
Рисунок 2 -
Эскиз общего вида и расположения танков наливного судна «ТО-1545»
Рисунок 3 - Общий вид наливного судна «ТО-1545»
Пломбирование танков не предусмотрено.
аблица 1 - Метрологические характеристики
|
Наименование характеристики |
Значение | |||||
|
Номера танков | ||||||
|
11 |
12 |
21 |
22 |
31 |
32 | |
|
Номинальная вместимость, м3 |
375 |
375 |
475 |
475 |
280 |
280 |
|
Пределы допускаемой относительной погрешности измерений вместимости, % |
±0,25 | |||||
Таблица 2 - Технические характеристики
|
Наименование характеристики |
Значение |
|
Условия эксплуатации: | |
|
Температура окружающего воздуха, оС |
от -50 до +50 |
|
Атмосферное давление, кПа |
от 84,0 до 106,7 |
Таблица 3 - Показатели надежности
|
Наименование характеристики |
Значение |
|
Средний срок службы, лет, не менее |
50 |

