Номер по Госреестру СИ: 94063-24
94063-24 Угольники поверочные 90° ЧИЗ
(Обозначение отсутствует)
Назначение средства измерений:
Угольники поверочные 90° ЧИЗ (далее по тексту угольники) предназначены для измерений отклонений от перпендикулярности взаимного расположения поверхностей деталей контактным методом.

Внешний вид.
Угольники поверочные 90° ЧИЗ
Рисунок № 1

Внешний вид.
Угольники поверочные 90° ЧИЗ
Рисунок № 2

Внешний вид.
Угольники поверочные 90° ЧИЗ
Рисунок № 3

Внешний вид.
Угольники поверочные 90° ЧИЗ
Рисунок № 4

Внешний вид.
Угольники поверочные 90° ЧИЗ
Рисунок № 5

Внешний вид.
Угольники поверочные 90° ЧИЗ
Рисунок № 6

Внешний вид.
Угольники поверочные 90° ЧИЗ
Рисунок № 7

Внешний вид.
Угольники поверочные 90° ЧИЗ
Рисунок № 8

Внешний вид.
Угольники поверочные 90° ЧИЗ
Рисунок № 9

Внешний вид.
Угольники поверочные 90° ЧИЗ
Рисунок № 10
Знак утверждения типа
Знак утверждения типананосится типографским способом на титульный лист паспорта.
Сведения о методиках измерений
Сведения о методиках (методах) измеренийприведены в разделе 5 «Порядок работы и техническое обслуживание» документа «Угольники поверочные 90° ЧИЗ. Паспорт.»
Нормативные и технические документы
Нормативные документы, устанавливающие требования к средствуизмеренийЛокальная поверочная схема для средств измерений отклонений от перпендикулярности;
Стандарт предприятия SHANGHAI UNI-STAR INDUSTRIAL & TRADING CO., LTD. «Угольники поверочные 90° ЧИЗ».
ПравообладательSHANGHAI UNI-STAR INDUSTRIAL & TRADING CO., LTD., КНР
Адрес: No.15-2, Hangqi Road, Damaiwan Industrial Park, Pudong, Shanghai, China, 201316
Испытательный центр
Общество с ограниченной ответственностью Региональный метрологический центр «Калиброн» (ООО РМЦ «Калиброн»)Адрес: 111524, г. Москва, ул. Электродная, д. 2, стр. 23
Тел.: +7 (495) 796-92-75
E-mail: info@calibronrmc.ru
Принцип действия угольников основан на сравнении просвета между измерительными поверхностями угольника и контролируемым взаимно-перпендикулярным расположением плоскостей детали с «образцом просвета», составленного из концевых мер длины, притертых к плоской стеклянной пластине или при помощи щупа.
Угольники представляют собой стальные изделия с термической и механической обработкой.
Угольники выпускаются следующих типов:
-
- УЛП - лекальные плоские;
-
- УП - слесарные плоские;
-
- УШ - слесарные с широким основанием
Угольники типа УЛП изготавливаются в исполнениях КЛ.0 и КЛ.1, угольники типов УП и УШ - в исполнениях КЛ.1 и КЛ.2, отличающиеся между собой допусками перпендикулярности, параллельности, плоскостности и прямолинейности, а также параметром шероховатости для измерительных и опорных поверхностей.
Угольники типа УШ изготавливаются в моделях 1 и 2, отличающиеся между собой общим видом.
Каждый тип угольников имеет ряд типоразмеров, которые отличаются друг от друга габаритами.

Товарный знак наносится на нерабочую поверхность угольника методом
лазерной маркировки и на паспорт угольников типографским методом.
Заводской номер в виде цифрового обозначения, состоящего из арабских цифр, типоразмер и исполнение угольника наносятся на нерабочую поверхность угольника методом лазерной маркировки или краской.
Возможность нанесения знака поверки на средство измерений отсутствует.
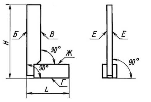
Общий вид угольников, место нанесения заводского номера и обозначение условных размеров поверхностей представлены на рисунках 1-4, где Б, В - измерительные поверхности угольников, Г, Ж - опорные поверхности, Е - боковые поверхности, Н - высота угольника, L -длина угольника.
Пломбирование угольников не предусмотрено.
Место нанесения заводского номера


нанесения заводского номера и
Рисунок 2 - Общий вид угольников типа УП с местом обозначение условных размеров и поверхностей
Место нанесения заводского номера


Место нанесения заводского номера
Рисунок 3 - Общий вид угольников типа УШ модель 1 с местом нанесения заводского номера и обозначение условных размеров и поверхностей

Рисунок 4 - Общий вид угольников типа УШ модель 2 с местом нанесения заводского номера и обозначение условных размеров и поверхностей
Таблица 1 - Основные размеры угольников
|
Тип |
Н, мм |
£,мм |
|
УЛП |
60 |
40 |
|
100 |
60 | |
|
160 |
100 | |
|
250 |
160 | |
|
УП |
60 |
40 |
|
100 |
60 | |
|
160 |
100 | |
|
250 |
160 | |
|
400 |
250 | |
|
630 |
400 | |
|
1000 |
630 | |
|
УШ |
60 |
40 |
|
100 |
60 | |
|
160 |
100 | |
|
250 |
160 | |
|
400 |
250 | |
|
630 |
400 | |
|
1000 |
630 | |
|
1600 |
1000 |
Таблица 2 - Исполнения угольников
|
Тип |
Исполнение |
|
УЛП |
КЛ.0; КЛ.1 |
|
УП; УШ |
КЛ.1; КЛ.2 |
Таблица 3 - Допуск перпендикулярности измерительных поверхностей Б и В к опорным поверхностям Г и Ж для угольников всех типов на высоте Н
|
Н, мм |
Допуск перпендикулярности, мкм, для исполнений | ||
|
КЛ.0 |
КЛ.1 |
КЛ.2 | |
|
60 |
2,5 |
5,0 |
26,0 |
|
100 |
3,0 |
6,0 |
30,0 |
|
160 |
3,5 |
7,0 |
35,0 |
|
250 |
4,5 |
9,0 |
45,0 |
|
400 |
- |
12,0 |
60,0 |
|
630 |
- |
16,0 |
80,0 |
|
1000 |
- |
20,0 |
120,0 |
|
1600 |
- |
90,0 |
160,0 |
Примечание: Для угольников типа УЛП допуск перпендикулярности выдержан в пределах угла поворота угольника в плоскости опорной поверхности на ±15° от среднего положения
Таблица 4 - Допуск плоскостности измерительных поверхностей Б и В, а также допуски плоскостности и параллельности опорных поверхностей Г и Ж на высоте Н угольников типов УП и УШ
|
Н, мм |
Допуск, мкм | |||||
|
плоскостности измерительных поверхностей Б и В |
плоскостности опорных поверхностей Г и Ж |
параллельности опорных поверхностей Г и Ж | ||||
|
для исполнений | ||||||
|
КЛ.1 |
КЛ.2 |
КЛ.1 |
КЛ.2 |
КЛ.1 |
КЛ.2 | |
|
60 |
2,0 |
8,0 |
2,5 |
10,0 |
5,0 |
15,0 |
|
100 |
2,0 |
8,0 |
2,5 |
10,0 |
6,0 |
18,0 |
|
160 |
3,0 |
12,0 |
4,0 |
16,0 |
7,0 |
21,0 |
|
250 |
3,0 |
12,0 |
4,0 |
16,0 |
9,0 |
27,0 |
|
400 |
5,0 |
20,0 |
6,0 |
24,0 |
12,0 |
32,0 |
|
630 |
6,0 |
24,0 |
8,0 |
32,0 |
16,0 |
45,0 |
|
1000 |
10,0 |
40,0 |
12,0 |
48,0 |
24,0 |
60,0 |
|
1600 |
20,0 |
60,0 |
30,0 |
72,0 |
40,0 |
100,0 |
Таблица 5 - Допуск прямолинейности измерительных поверхностей Б и В на высоте Н, а также допуски плоскостности и параллельности опорных поверхностей Г и Ж на высоте Н угольников типа УЛП
|
Н, мм |
Допуск, мкм | |||||
|
прямолинейности измерительных поверхностей Б и В |
плоскостности опорных поверхностей Г и Ж |
параллельности опорных поверхностей Г и Ж | ||||
|
для исполнений | ||||||
|
КЛ.0 |
КЛ.1 |
КЛ.0 |
КЛ.1 |
КЛ.0 |
КЛ.1 | |
|
60 |
1,0 |
3,0 |
1,5 |
4,0 |
2,5 |
7,0 |
|
100 |
1,0 |
3,0 |
1,5 |
4,0 |
3,0 |
8,0 |
|
160 |
1,5 |
4,0 |
2,0 |
6,0 |
3,5 |
9,0 |
|
250 |
1,5 |
4,0 |
2,0 |
6,0 |
4,5 |
10,0 |
Примечание: Допуск прямолинейности измерительных поверхностей Б и В выдержан в пределах угла поворота угольника в плоскости опорной поверхности на ±15° от среднего положения
Таблица 6 - Допуск перпендикулярности боковых поверхностей Е угольников типов УП и УШ к опорной поверхности Г
|
Н, мм |
Допуск перпендикулярности боковых поверхностей Е к опорной поверхности Г, мкм, для исполнений | |
|
КЛ.1 |
КЛ.2 | |
|
60 |
40 |
155 |
|
100 |
50 |
200 |
|
160 |
60 |
250 |
|
250 |
80 |
320 |
|
400 |
100 |
400 |
|
630 |
125 |
500 |
|
1000 |
160 |
600 |
|
1600 |
200 |
700 |
Опорных Г и Ж
Тип
Таблица 7 - Параметры шероховатости Ra измерительных и опорных поверхностей угольников на базовой длине 0,8 мм по ГОСТ 2789-73
Параметр шероховатости Ra поверхностей, мкм, не более Измерительных Б и В__
для исполнений
|
КЛ.0 |
КЛ.1 |
КЛ.2 |
КЛ.0 |
КЛ.1 |
КЛ.2 | |
|
УЛП |
0,04 |
0,08 |
- |
0,08 |
0,08 |
- |
|
УП |
- |
0,08 |
0,32 |
- |
0,16 |
0,32 |
|
УШ |
- |
0,08 |
0,32 |
- |
0,32 |
0,63 |
|
Таблица 8 - Габаритные размеры и масса угольников | ||||||
|
Тип |
Н, мм |
£,мм |
Габаритные |
размеры, мм, не более |
Масса, кг, не более | |
|
высота |
длина |
ширина | ||||
|
УЛП |
60 |
40 |
60 |
40 |
7 |
0,10 |
|
100 |
60 |
100 |
60 |
8 |
0,20 | |
|
160 |
100 |
160 |
100 |
9 |
0,40 | |
|
250 |
160 |
250 |
160 |
10 |
0,72 | |
|
УП |
60 |
40 |
60 |
40 |
7 |
0,10 |
|
100 |
60 |
100 |
60 |
8 |
0,20 | |
|
160 |
100 |
160 |
100 |
9 |
0,40 | |
|
250 |
160 |
250 |
160 |
10 |
1,11 | |
|
400 |
250 |
400 |
250 |
12 |
2,32 | |
|
630 |
400 |
630 |
400 |
14 |
5,00 | |
|
1000 |
630 |
1000 |
630 |
15 |
7,00 | |
|
УШ |
60 |
40 |
60 |
40 |
18 |
0,20 |
|
100 |
60 |
100 |
60 |
22 |
0,30 | |
|
160 |
100 |
160 |
100 |
27 |
0,70 | |
|
250 |
160 |
250 |
160 |
35 |
1,15 | |
|
400 |
250 |
400 |
250 |
38 |
3,00 | |
|
630 |
400 |
630 |
400 |
40 |
6,30 | |
|
1000 |
630 |
1000 |
630 |
43 |
12,50 | |
|
1600 |
1000 |
1600 |
1000 |
45 |
25,00 | |
Таблица 9 -Условия
|
Наименование характеристики |
Значение |
|
Условия эксплуатации:
|
от +16,5 до +23,5 от 5 до 80 |
Таблица 10 -
надежности
|
Наименование характеристики |
Значение |
|
Средний срок службы, лет, не менее |
3 |
|
Средняя наработка на отказ, условных измерений |
18000 |

