Номер по Госреестру СИ: 89187-23
89187-23 Модули приема дискретных и периодических сигналов с дифференциальными входами с преобразованием частота/код, период/код, длительность импульса/код
(ТН3/СЧ)
Назначение средства измерений:
Модули приема дискретных и периодических сигналов с дифференциальными входами с преобразованием частота/код, период/код, длительность импульса/код ТН3/СЧ (далее - модули) предназначены для измерений частоты и периода сигналов, счета количества импульсов с последующим формированием цифрового кода измеренных значений для обеспечения испытаний авиационной техники.

Внешний вид.
Модули приема дискретных и периодических сигналов с дифференциальными входами с преобразованием частота/код, период/код, длительность импульса/код
Рисунок № 1

Внешний вид.
Модули приема дискретных и периодических сигналов с дифференциальными входами с преобразованием частота/код, период/код, длительность импульса/код
Рисунок № 2

Внешний вид.
Модули приема дискретных и периодических сигналов с дифференциальными входами с преобразованием частота/код, период/код, длительность импульса/код
Рисунок № 3

Внешний вид.
Модули приема дискретных и периодических сигналов с дифференциальными входами с преобразованием частота/код, период/код, длительность импульса/код
Рисунок № 4
Программное обеспечение
Программное обеспечение (далее - ПО) «TN3LAB» включает прикладные управляющие программы, специализированные для выполнения отдельных видов работ:
-
- работа по считыванию или стиранию накопленной информации, загрузке подготовленных заданий в кассету памяти накопителя;
-
- подготовка заданий для функционирования накопителя при экспериментах;
-
- преобразование полученных при считывании файлов данных к виду, пригодному для дальнейшей обработки.
ПО реализовано без выделения метрологически значимой части. Влияние ПО не приводит к выходу метрологических характеристик за пределы допускаемых значений.
Уровень защиты встроенного ПО от непреднамеренных и преднамеренных воздействий
- «Высокий», внешнего ПО - «Средний» в соответствии с Р 50.2.077- 2014.
Идентификационные данные ПО приведены в таблице 1.
Таблица 1 - Идентификационные данные ПО
|
Идентификационные данные (признаки) |
Значение | |
|
внешнее ПО |
встроенное ПО | |
|
Модуль ТН3/СЧ/001 | ||
|
Идентификационное наименование ПО |
TN3LAB |
CT01 |
|
Номер версии (идентификационный номер) ПО |
Не ниже v. 1.0.0.7 |
не ниже v. 1.21 |
|
Цифровой идентификатор ПО |
- |
- |
|
Модуль ТН3/СЧ/301 | ||
|
Идентификационное наименование ПО |
TN3LAB |
CTM1 |
|
Номер версии (идентификационный номер) ПО |
Не ниже v. 1.0.0.7 |
Не ниже v. 1.00 |
|
Цифровой идентификатор ПО |
- |
- |
Знак утверждения типа
Сведения о методиках измерений
Сведения о методиках (методах) измеренийприведены в документе КМНТ.467166.001 РЭ «Модули приема дискретных и периодических сигналов с дифференциальными входами с преобразованием частота/код, период/код, длительность импульса/код ТН3/СЧ», раздел 2.
Нормативные и технические документы
Нормативные и технические документы, устанавливающие требования к средствам измеренийГОСТ 14014-91 Приборы и преобразователи измерительные цифровые напряжения, тока, сопротивления. Общие технические требования и методы испытаний;
Приказ Росстандарта от 26 сентября 2022 г. № 2360 «Об утверждении Государственной поверочной схемы для средств измерений времени и частоты»;
КМНТ. 467166.001 ТУ Модули приема дискретных и периодических сигналов с дифференциальными входами с преобразованием частота/код, период/код, длительность импульса/код ТН3/СЧ. Технические условия.
ПравообладательАкционерное общество «Конвед-6 ЛИИ» (АО «Конвед-6 ЛИИ») ИНН 5013000335
Адрес: 140185, Московская обл., г. Жуковский, ул. Гарнаева, д. 1, эт. 4, ком. 1 Телефон: (495) 534-10-12
E-mail: konved-6@mail.ru
Изготовитель
Акционерное общество «Конвед-6 ЛИИ» (АО «Конвед-6 ЛИИ») ИНН 5013000335Адрес: 140185, Московская обл., г. Жуковский, ул. Гарнаева, д. 1, эт. 4, ком. 1 Телефон: (495) 534-10-12
E-mail: konved-6@mail.ru
Испытательный центр
Федеральное государственное унитарное предприятие «Всероссийский научно-исследовательский институт физико-технических и радиотехнических измерений»(ФГУП «ВНИИФТРИ»)
Адрес: 141570, Московская обл., г. Солнечногорск, р.п. Менделеево,
промзона ФГУП ВНИИФТРИ
Телефон (факс): (495) 526-63-00
Web-сайт: www.vniiftri.ru
E-mail: office@vniiftri.ru
Правообладатель
Акционерное общество «Конвед-6 ЛИИ» (АО «Конвед-6 ЛИИ») ИНН 5013000335Адрес: 140185, Московская обл., г. Жуковский, ул. Гарнаева, д. 1, эт. 4, ком. 1 Телефон: (495) 534-10-12
E-mail: konved-6@mail.ru
Принцип действия модулей заключается в приеме и измерении определенной аналоговой информации, с последующим преобразованием ее в цифровой вид и передаче в буферную память платы сбора. Для каждого модуля в плате сбора отведена своя буферная память. Каждые 1/1024 секунды контроллер платы сбора передает всю собранную за это время информацию в кассету памяти, где она сохраняется в энергонезависимой памяти. Сохраненная в процессе регистрации в кассете памяти информация впоследствии передается в ПЭВМ через канал USB.
Модули выпускаются в следующих модификациях: ТН3/СЧ/001, ТН3/СЧ/301.
Конструктивно основу модуля составляет печатная плата с установленными на нее элементами. На передней части платы установлена лицевая панель. К лицевой панели прикреплены входные разъемы модуля, служащие для подключения к модулю внешних источников информации, место нанесения заводского номера и модификации модуля. На задней стороне платы установлен разъем для соединения модуля с внутренней шиной накопителя.
Модуль вне зависимости от назначения может быть установлен в любой слот кожуха. Крепление модуля осуществляется двумя винтами, крепящими лицевую панель к кожуху с лицевой стороны.
Нанесение знака поверки на модули не предусмотрено. Заводской номер в виде цифробуквенного обозначения, состоящего из арабских цифр и букв латинского алфавита, фрезеруется на переднюю панель модуля.
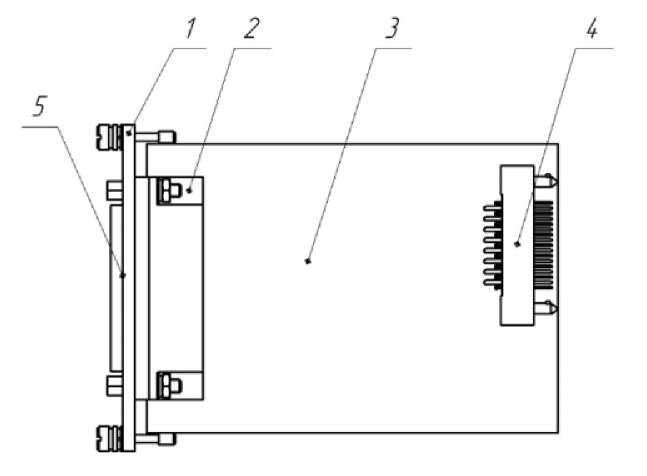
Общий вид модулей с указанием мест нанесения заводских номеров приведены на рисунках 1 и 2.
12 J 4
1 - лицевая панель; 2 - входные разъемы модуля; 3 - печатная плата; 4 - разъем для соединения модуля с внутренней шиной накопителя; 5 - место нанесения заводского номера и модификации модуля
Рисунок 1 - Общий вид модуля ТН3/СЧ/001
1 - лицевая панель; 2 - входные разъемы модуля; 3 - печатная плата; 4 - разъем для соединения модуля с внутренней шиной накопителя; 5 - место нанесения заводского номера и модификации модуля
Рисунок 2 - Общий вид модуля ТН3/СЧ/301
Общий вид модуля ТН3/СЧ/001 приведен на рисунке 3.
Рисунок 3 - Общий вид модуля ТН3/СЧ/001
Модуль ТН3/СЧ/001 имеет в своём составе 24 компаратора и частотомера. Каждый входной сигнал подключён к своему компаратору и частотомеру. Каждый канал может быть индивидуально настроен на определенный период накопления. Пороги срабатывания компаратора настраиваются для каждого канала индивидуально. Регистрация осуществляется пакетами с периодичностью 1024 раза в секунду. Внутри пакета находятся данные с частотомера, соответствующие текущему моменту времени.
Модуль ТН3/СЧ/001 комплектуется двумя ответными разъемами VS-15-BU-DSUB-HD-CD-B (контакты под обжим) или двумя VS-15-BU-DSUB-HD-EG (контакты под пайку).
Общий вид модуля ТН3/СЧ/301 приведен на рисунке 4.
Рисунок 4 - Внешний вид модуля ТН3/СЧ/301
Модуль ТН3/СЧ/301 имеет в своём составе 16 компараторов и частотомеров. Каждый входной сигнал подключён к своему компаратору и частотомеру. Каждый канал может быть индивидуально настроен на определенный период накопления. Пороги срабатывания компаратора настраиваются для каждого канала индивидуально. Регистрация осуществляется пакетами с периодичностью 1024 раза в секунду. Внутри пакета находятся данные с частотомера, соответствующие текущему моменту времени.
Модуль ТН3/СЧ/301 комплектуется ответным разъемом VS-25-BU-DSUB-HD-EG -1655221 (контакты под пайку).
Таблица 2 - Метрологические характеристики
|
Наименование характеристики |
Значение |
|
Диапазон измерения частоты входного сигнала, кГц |
от 1 • 10-4 до 2-103 включ. |
|
Пределы допускаемой основной относительной погрешности измерения частоты в диапазоне: от 1-10-4 до 1-102 кГц включ. св. 1-102 до 2-103 кГц включ. |
±0,01 (5 от ИЗ)1) ±0,04 (5 от Из)Х) |
|
Пределы допускаемой дополнительной относительной погрешности измерения частоты в диапазоне: от 1 -10-4 до 1 -102 кГц включ. св. 1 -102 до 2-103 кГц включ. |
±0,02 (5 от ИЗ)2) ±0,08 (5 от ИЗ)2) |
|
Х) 5 от ИЗ - относительная погрешность измерений от измеренного значения. 2) 5 от ИЗ - дополнительная относительная погрешность измерений от измеренного значения, вызванная использованием средства измерений в рабочих условиях эксплуатации (в отличии от нормальных от плюс 15 до плюс 35 °С включ.), в диапазоне температуры окружающего воздуха от минус 50 до плюс 60 °С. | |
Таблица 3 - Технические характеристики
|
Наименование характеристики |
Значение |
|
Напряжение питания постоянного тока, В |
27 |
|
Нормальные условия эксплуатации: - температура окружающего воздуха, °С |
от +15 до +35 |
|
- относительная влажность окружающего воздуха при, % |
от 30 до 80 |
|
- атмосферное давление, мм рт. ст. |
от 720 до 780 |
|
Рабочие условия эксплуатации: - температура окружающего воздуха, °С |
от - 50 до + 60 |
|
- относительная влажность окружающего воздуха при, % |
от 30 до 80 |
|
- атмосферное давление, мм рт. ст. |
от 720 до 780 |
|
Модуль ТН3/СЧ/001 | |
|
Количество входных каналов |
24 |
|
Габаритные размеры, мм, не более: | |
|
длина |
144 |
|
ширина |
103 |
|
высота |
21,7 |
|
Масса, г, не более |
120 |
|
Режимы работы модуля |
частота/код, период/код, длительность импульса/код |
|
Модуль ТН3/СЧ/301 | |
|
Количество входных каналов |
16 |
|
Габаритные размеры, мм, не более: | |
|
длина |
111 |
|
ширина |
78,5 |
|
высота |
19,8 |
|
Масса, г, не более |
120 |
|
Режимы работы модуля |
частота/код, период/код, длительность импульса/код, количество импульсов/код |

