Номер по Госреестру СИ: 79158-20
79158-20 Резервуары стальные горизонтальные цилиндрические
(РГС-18, РГС-25, РГС-40, РГС-50)
Назначение средства измерений:
Резервуары стальные горизонтальные цилиндрические РГС-18, РГС-25, РГС-40, РГС-50 предназначены для измерения объема при приеме, хранении и отпуске нефти и нефтепродуктов.

Внешний вид.
Резервуары стальные горизонтальные цилиндрические
Рисунок № 1

Внешний вид.
Резервуары стальные горизонтальные цилиндрические
Рисунок № 2

Внешний вид.
Резервуары стальные горизонтальные цилиндрические
Рисунок № 3
Знак утверждения типа
Знак утверждения типананосится на титульный лист паспорта типографским способом.
Сведения о методиках измерений
Сведения о методиках (методах) измеренийотсутствуют.
Нормативные и технические документы
Нормативные документы, устанавливающие требования к резервуарам стальным горизонтальным цилиндрическим РГС-18, РГС-25, РГС-40, РГС-50
Государственная поверочная схема для средств измерений массы и объема жидкости в потоке, объема жидкости и вместимости при статических измерениях, массового и объемного расходов жидкости, утвержденная приказом Федерального агентства по техническому регулированию и метрологии (Росстандарт) от 07.02.20018 г. № 256
ГОСТ 8.346-2000 ГСИ. Резервуары стальные горизонтальные цилиндрические. Методика поверки
Поверка
Поверкаосуществляется объёмным методом по документу ГОСТ 8.346-2000 «ГСИ. Резервуары стальные горизонтальные цилиндрические. Методика поверки».
Основные средства поверки:
-
- комплекс градуировки резервуаров «Зонд» (регистрационный № 17906-08);
-
- ареометр стеклянный АНТ-1 (регистрационный № 34711-07).
Допускается применение аналогичных средств поверки, обеспечивающих определение метрологических характеристик поверяемых СИ с требуемой точностью.
Знак поверки наносится в свидетельство о поверке и градуировочную таблицу.
Изготовитель
Акционерное общество «РОСПАН ИНТЕРНЕШНЛ»(АО «РОСПАН ИНТЕРНЕШНЛ»)
ИНН 7727004530
Адрес: 629300, Ямало-Ненецкий автономный округ, г. Новый Уренгой, ул. Геологоразведчиков, д. 16В
Телефон:7 (3494) 24-35-10, факс: 7 (3494) 24-33-11
E-mail: cdo-rospan@rsneft.ru
Испытательный центр
Общество с ограниченной ответственностью «Сибирская интернет компания» (ООО ИК «СИБИНТЕК»)
Адрес: 117152, г. Москва, Загородное шоссе, д. 1, стр. 1
Телефон: +7 (495) 755-52-73, факс: +7 (495) 785-09-71
E-mail: info@sibintek.ru
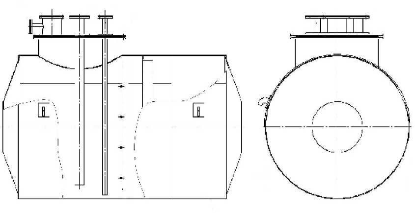
Резервуары стальные горизонтальные цилиндрические РГС-18, РГС-25, РГС-40, РГС-50 представляют собой горизонтальные цилиндрические сварные стальные сосуды, оборудованные приемо-раздаточными патрубками и технологическими люками.
Расположение резервуаров РГС-18, РГС-40 подземное.
Заполнение и опорожнение резервуаров осуществляется через приемо-раздаточные патрубки.
Резервуары стальные горизонтальные цилиндрические РГС-18 №№ 2772, 2778, РГС-25 №№ 83, 2357, 2796, 2797, 2811, 2814, РГС-40 №№ 1798, 1799, 1995, 1996, РГС-50 №№ 2790-1, 2790-2, 2790-3, 2790-4, 2790-6, 34612, 34628, 34634 расположены: Тюменская обл., ЯмалоНенецкий автономный округ, Пуровский район, в 23 км к северо-востоку от г. Новый Уренгой АО «РОСПАН ИНТЕРНЕШНЛ» Восточно-Уренгойский лицензионный участок.
Общий вид резервуаров стальных горизонтальных цилиндрических РГС-18, РГС-25, РГС-40, РГС-50 представлен на рисунке 1-3.
Рисунок 1 - Эскиз резервуаров стальных горизонтальных цилиндрических РГС-18, РГС-40
Рисунок 2 - Общий вид резервуара стального горизонтального цилиндрического РГС-25
Рисунок 3 - Общий вид резервуара стального горизонтального цилиндрического РГС-50
Пломбирование резервуаров стальных горизонтальных цилиндрических РГС-18, РГС-25, РГС-40, РГС-50 не предусмотрено.
Программное обеспечение отсутствует.
Таблица 3 -
|
Наименование |
Обозначение |
Количество |
|
Резервуар стальной горизонтальный цилиндрический |
РГС-18 |
2 шт. |
|
Резервуар стальной горизонтальный цилиндрический |
РГС-25 |
6 шт. |
|
Резервуар стальной горизонтальный цилиндрический |
РГС-40 |
4 шт. |
|
Резервуар стальной горизонтальный цилиндрический |
РГС-50 |
8 шт. |
|
Паспорт |
- |
20 экз. |
Таблица 1 - Метрологические характеристики
|
Наименование характеристики |
Значение | |||
|
РГС-18 |
РГС-25 |
РГС-40 |
РГС-50 | |
|
Номинальная вместимость, м3 |
18 |
25 |
40 |
50 |
|
Пределы допускаемой относительной погрешности определения вместимости резервуара, % |
±0,25 | |||
Таблица 2 - Основные технические характеристики
|
Средний срок службы, лет |
30 |
|
Условия эксплуатации: о
|
от -60 до +50 от 84,0 до 106,7 |

