№2655 от 04.12.2025
Приказ Федерального агентства по техническому регулированию и метрологии (Росстандарт)
# 735788
ПРИКАЗ О внесении изменений в сведения об утвержденных типах СИ (1)
Приказы по основной деятельности по агентству Вн. Приказ № 2655 от 04.12.2025
V
МИНИСТЕРСТВО ПРОМЫШЛЕННОСТИ И ТОРГОВЛИ РОССИЙСКОЙ ФЕДЕРАЦИИ
ФЕДЕРАЛЬНОЕ АГЕНТСТВО
ПО ТЕХНИЧЕСКОМУ РЕГУЛИРОВАНИЮ И МЕТРОЛОГИИ (Росстандарт)
ПРИКАЗ
04 декабря 2025 г.
2655
Москва
О внесении изменений в сведения об утвержденном типе
средства измерений
В соответствии с Административным регламентом по предоставлению Федеральным агентством по техническому регулированию и метрологии государственной услуги по утверждению типа стандартных образцов или типа средств измерений, утвержденным приказом Федерального агентства по техническому регулированию и метрологии от 12 ноября 2018 г. № 2346, п р и к а з ы в а ю:
1. Внести изменения в сведения об утвержденном типе средства измерений в части конструктивных изменений, влияющих на его метрологические характеристики, согласно приложению к настоящему приказу.
2. Утвердить измененное описание типа средства измерений, прилагаемое к настоящему приказу.
3. ФБУ «НИЦ ПМ - Ростест» внести сведения об утвержденном типе
средства измерений согласно приложению к настоящему приказу в Федеральный информационный фонд по обеспечению единства измерений в соответствии с Порядком создания и ведения Федерального информационного фонда по обеспечению единства измерений, передачи сведений в него и внесения изменений в данные сведения, предоставления
содержащихся в нем документов и сведений, утвержденным приказом Министерства промышленности и торговли Российской Федерации от 28 августа 2020 г. № 2906.
4. Контроль за исполнением настоящего приказа оставляю за собой.
Подлинник электронного документа, подписанного ЭП, хранится в системе электронного документооборота Федерального агентства по техническому регулированию и метрологии
Заместитель руководителя
Сертификат: 7B1801563EA497F787EAF40A918A8D6F Кому выдан: Лазаренко Евгений Русланович Действителен: с 19.05.2025 до 12.08.2026
Е.Р. Лазаренко
ПРИЛОЖЕНИЕ
к приказу Федерального агентства по техническому регулированию
04
от « »
и метрологии
2025 г № _____
Сведения
об утвержденном типе средства измерений, подлежащие изменению
в части конструктивных изменений, влияющих на метрологические характеристики средства измерений
|
№ п/п |
Наименование типа |
Обозначение типа |
Заводской номер |
Регистрационный номер в ФИФ |
Правообладатель |
Отменяемая методика поверки |
Действие методики поверки сохраняется |
Устанавливаемая методика поверки |
Добавляемый изготовитель |
Дата утвер ж-дения акта испыт а-ний |
Заявитель |
Юридическое лицо, проводившее испытания |
|
1 |
2 |
3 |
4 |
5 |
6 |
7 |
8 |
9 |
10 |
11 |
12 |
13 |
|
1. |
Автоцистерны, автотопливозапр авщики и прицепы-цистерны |
ФоксТанк-АЦ, ФоксТанк-АТЗ, ФоксТанк-ПЦ |
ФоксТанк- ПЦ-14.А зав. № (VIN) EAP966636 S0000076 |
68994-17 |
ГОСТ 8.6002011 |
09.10 .2025 |
Общество с ограниченной ответственност ью «ФоксТанк Моторс» (ООО «ФоксТанк Моторс»), г. Нижний Новгород |
ФБУ «НИЦ ПМ -Ростест», г. Москва |
УТВЕРЖДЕНО приказом Федерального агентства по техническому регулированию и метрологии от «04 » декабря 2025 Г. № 2655
Лист № 1
Всего листов 10
Регистрационный № 68994-17
ОПИСАНИЕ ТИПА СРЕДСТВА ИЗМЕРЕНИЙ
Автоцистерны ФоксТанк-АЦ, автотопливозаправщики ФоксТанк-АТЗ и прицепы-цистерны ФоксТанк-ПЦ Назначение средства измеренийАвтоцистерны ФоксТанк-АЦ, автотопливозаправщики ФоксТанк-АТЗ и прицепы-цистерны ФоксТанк-ПЦ (далее - АЦ, АТЗ и ПЦ) предназначены для измерений объема нефтепродуктов, нефти и других жидкостей за исключением пищевых.
Описание средства измеренийПринцип действия АЦ, АТЗ и ПЦ основан на заполнении их жидкостями до указателя уровня налива, соответствующего определенному объему жидкости. Слив жидкости производится самотеком или через насос.
АЦ, АТЗ и ПЦ состоят из стальной или алюминиевой сварной цистерны постоянного или переменного сечения, установленной и закрепленной на шасси при помощи сварных и болтовых соединений, технологического оборудования. Цистерна может иметь теплоизоляцию.
Цистерна имеет в поперечном сечении круглую, эллиптическую или чемоданообразную форму, установленную на 2-х, 3-х или 4-х осном шасси. АЦ, АТЗ и ПЦ являются транспортными мерами полной вместимости (далее - ТМ). Цистерна является транспортной мерой полной вместимости (далее - ТМ) и может состоять из нескольких герметичных секций. При сливе секции могут объединяться с помощью технологического оборудования, установленного на цистерне. Внутри секций имеются перегородки-волнорезы с отверстиями-лазами. Каждая секция цистерны оборудована заливной горловиной круглой формы с установленным указателем уровня налива из металлического уголка или пластины. В зависимости от места расположения указателя уровня налива цистерна может быть оборудована компенсационным коробом для предотвращения перелива жидкости в следствии ее объемного расширения из-за изменения температуры. Для удобства измерений уровня перелива/недолива жидкости может быть установлена измерительная шкала, представляющая собой двухшкальную линейку с двойным отсчетом по 100 мм в обе стороны, приклепанную к указателю уровня налива.
ППЦ изготавливаются по заказу в любой цветовой гамме.
Технологическое оборудование предназначено для операций налива-слива жидкостей и включает в себя:
-
- горловину с указателем уровня и воздухоотводящим устройством;
-
- съемную крышку горловины с заливным люком и дыхательным клапаном;
-
- клапан донный;
-
- кран шаровой;
-
- узел выдачи топлива для АТЗ;
-
- насос и датчик уровня, оборудование для нижнего налива (по дополнительному заказу).
Для измерений объема жидкости при заправке автотранспорта узел выдачи топлива АТЗ, расположенный в ящике, закрепленном на раме шасси, комплектуется одним или двумя счетчиками жидкости СЖ-ППО (регистрационный номер 59916-15).
АЦ, АТЗ и ПЦ имеют модификации: ФоксТанк-АЦ/АТЗ/ПЦ-3.(С/А), ФоксТанк-АЦ/АТЗ/ПЦ-3,5.(С/А), ФоксТанк-АЦ/АТЗ/ПЦ-4.(С/А), ФоксТанк-АЦ/АТЗ/ПЦ-4,5.(С/А), ФоксТанк-АЦ/АТЗ/ПЦ-5.(С/А),ФоксТанк-АЦ/АТЗ/ПЦ-5,5.(С/А), ФоксТанк-АЦ/АТЗ/ПЦ-6.(С/А), ФоксТанк-АЦ/АТЗ/ПЦ-6,5.(С/А), ФоксТанк-АЦ/АТЗ/ПЦ-7.(С/А), ФоксТанк-АЦ/АТЗ/ПЦ-7,5.(С/А), ФоксТанк-АЦ/АТЗ/ПЦ-8.(С/А), ФоксТанк-АЦ/АТЗ/ПЦ-8,5.(С/А), ФоксТанк-АЦ/АТЗ/ПЦ-9.(С/А), ФоксТанк-АЦ/АТЗ/ПЦ-9,5.(С/А), ФоксТанк-АЦ/АТЗ/ПЦ-10.(С/А), ФоксТанк-АЦ/АТЗ/ПЦ-10,5.(С/А), ФоксТанк-АЦ/АТЗ/ПЦ-11.(С/А), ФоксТанк-АЦ/АТЗ/ПЦ-11,5.(С/А), ФоксТанк-АЦ/АТЗ/ПЦ-12.(С/А), ФоксТанк-АЦ/АТЗ/ПЦ-12,5.(С/А), ФоксТанк-АЦ/АТЗ/ПЦ-13.(С/А), ФоксТанк-АЦ/АТЗ/ПЦ-13,5.(С/А), ФоксТанк-АЦ/АТЗ/ПЦ-14.(С/А), ФоксТанк-АЦ/АТЗ/ПЦ-14,5.(С/А), ФоксТанк-АЦ/АТЗ/ПЦ-15.(С/А), ФоксТанк-АЦ/АТЗ/ПЦ-15,5.(С/А), ФоксТанк-АЦ/АТЗ/ПЦ-16.(С/А), ФоксТанк-АЦ/АТЗ/ПЦ-16,5.(С/А), ФоксТанк-АЦ/АТЗ/ПЦ-17.(С/А), ФоксТанк-АЦ/АТЗ/ПЦ-17,5.(С/А), ФоксТанк-АЦ/АТЗ/ПЦ-18.(С/А), ФоксТанк-АЦ/АТЗ/ПЦ-18,5.(С/А), ФоксТанк-АЦ/АТЗ/ПЦ-19.(С/А), ФоксТанк-АЦ/АТЗ/ПЦ-19,5.(С/А), ФоксТанк-АЦ/АТЗ/ПЦ-20.(С/А), ФоксТанк-АЦ/АТЗ/ПЦ-20,5.(С/А), ФоксТанк-АЦ/АТЗ/ПЦ-21.(С/А), ФоксТанк-АЦ/АТЗ/ПЦ-21,5.(С/А), ФоксТанк-АЦ/АТЗ/ПЦ-22.(С/А), ФоксТанк-АЦ/АТЗ/ПЦ-22,5.(С/А), ФоксТанк-АЦ/АТЗ/ПЦ-23.(С/А), ФоксТанк-АЦ/АТЗ/ПЦ-23,5.(С/А), ФоксТанк-АЦ/АТЗ/ПЦ-24.(С/А), ФоксТанк-АЦ/АТЗ/ПЦ-24,5.(С/А), ФоксТанк-АЦ/АТЗ/ПЦ-25.(С/А), ФоксТанк-АЦ/АТЗ/ПЦ-25,5.(С/А), ФоксТанк-АЦ/АТЗ/ПЦ-26.(С/А), ФоксТанк-АЦ/АТЗ/ПЦ-26,5.(С/А), ФоксТанк-АЦ/АТЗ/ПЦ-27.(С/А), ФоксТанк-АЦ/АТЗ/ПЦ-27,5.(С/А), ФоксТанк-АЦ/АТЗ/ПЦ-28.(С/А), ФоксТанк-АЦ/АТЗ/ПЦ-28,5.(С/А), ФоксТанк-АЦ/АТЗ/ПЦ-29.(С/А), ФоксТанк-АЦ/АТЗ/ПЦ-29,5.(С/А), ФоксТанк-АЦ/АТЗ/ПЦ-30.(С/А), ФоксТанк-АЦ/АТЗ/ПЦ-30,5.(С/А), которые отличаются геометрическими размерами, номинальной вместимостью и материалом изготовления: С (сталь), А (алюминиевые сплавы).
На боковых сторонах и сзади АЦ, АТЗ и ПЦ имеют надпись «ОГНЕОПАСНО», знак ограничения скорости и знаки с информационными табличками для обозначения транспортного средства, перевозящего опасный груз.
Заводской номер (VIN) АЦ, АТЗ и ПЦ в виде цифро-буквенного обозначения, состоящего из семнадцати букв латинского алфавита и арабских цифр, нанесен методом фотопечати на информационную табличку. На АЦ и АТЗ расположено две информационных таблички. Первая с указанием заводского номера располагается в кабине автомобиля справой стороны дверного проема по направлению движения, место нахождения таблички приведено на рисунке 4. Вторая информационная табличка с указанием вместимости на АЦ и АТЗ установлена на передней лапе цистерны, в месте, указанном на рисунке 5. Информационная табличка с указанием заводского номера и вместимости на ПЦ расположена слева либо справа на передней опорной лапе ПЦ, в месте, указанном на рисунке 6.
Знак утверждения типа на средство измерений не наносится.
Общие виды АЦ, АТЗ и ПЦ представлены на рисунках 1, 2 и 3.
Рисунок 1 - Общий вид автотопливозаправщика ФоксТанк-АТЗ
Рисунок 2 - Общий вид автоцистерны ФоксТанк-АЦ
Рисунок 3 - Общий вид прицепа-цистерны ФоксТанк-ПЦ
|
ЕН |
Г 607650 Russia, Kstovo, | Nixhniy Novgorod Region 1 I тел. 8-800-350-68-84 T Д N К ' |
”--------------------------1 ООО "ФОКСТАНК МОТОРС www.foKtankru а 4 | ||
|
VIN |
|X89 9666B1 R0EY9102 |
МйСйц/ГйД | ||
|
оттс |
СнйрИисеннМ MJKd н | |||
|
Марка |
1/1 |
Текничк-ки долустимаа масса It- | ||
|
Теки й*>«сми дол fCTrfMM ма«с масса аатолмада, иг | ||||
1
-
1 - место расположения информационной таблички
-
2 - общий вид информационной таблички
-
3 - место нанесения заводского номера
Рисунок 4 - Место расположения информационной таблички


-
1 - место расположения информационной таблички с указанием вместимости АЦ и АТЗ
-
2 - общий вид информационной таблички с указанием вместимости АЦ и АТЗ

Рисунок 5 - Место расположения информационной таблички с указанием вместимости АЦ и АТЗ

1 - место расположения информационной таблички
2 - общий вид информационной таблички
-
3 - место нанесения заводского номера
Рисунок 6 - Место нанесения заводского номера ПЦ
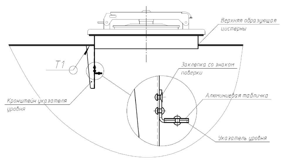
Схема пломбировки для защиты от несанкционированного изменения положения указателя уровня налива, обозначение места нанесения знака поверки представлены на рисунках 7 и 8. Знак поверки наносится ударным способом на заклепку, крепящую указатель уровня налива
цистерны
П
верхняя образующая
Заое/жа со ононом
лоберхи
Лронштеин уха затеян
уробня
АлюминиеЬоя таблички
Указатель уровня
Рисунок 7 - Схема пломбировки от несанкционированного изменения положения указателя уровня налива, обозначение места нанесения знака поверки на заклепку, проходящую через верхнюю образующую цистерны и указатель уровня налива в виде пластины
Заклепка со зникон поберки
про дня
Укста тень уродня
Кронттеин икр за теля
Верхняя одра зуыщая цистерны
/
i
Алюминиевая табличка
Рисунок 8 - Схема пломбировки от несанкционированного изменения положения указателя уровня налива, обозначение места нанесения знака поверки на заклепку, проходящую через стенку горловины и указатель уровня налива в виде уголка
Метрологические и технические характеристикиаблица 1 - Метрологические характеристики
|
Наименование характеристики |
Значение | |||
|
ФоксТанк-АЦ/АТЗ/ПЦ- 3.(С/А) |
ФоксТанк- АЦ/АТЗ/ПЦ- 3,5.(С/А) |
ФоксТанк- АЦ/АТЗ/ПЦ- 4.(С/А) |
ФоксТанк- АЦ/АТЗ/ПЦ- 4,5.(С/А) | |
|
Номинальная вместимость, дм3 |
3000 |
3500 |
4000 |
4500 |
|
аблица 2 - Метрологические характеристики | ||||
|
Наименование характеристики |
Значение | |||
|
ФоксТанк- АЦ/АТЗ/ПЦ- 5.(С/А) |
ФоксТанк- АЦ/АТЗ/ПЦ- 5,5.(С/А) |
ФоксТанк- АЦ/АТЗ/ПЦ- 6.(С/А) |
ФоксТанк- АЦ/АТЗ/ПЦ- 6,5.(С/А) | |
|
Номинальная вместимость, дм3 |
5000 |
5500 |
6000 |
6500 |
|
аблица 3 - Метрологические характеристики | ||||
|
Наименование характеристики |
Значение | |||
|
ФоксТанк- АЦ/АТЗ/ПЦ- 7.(С/А) |
ФоксТанк- АЦ/АТЗ/ПЦ- 7,5.(С/А) |
ФоксТанк- АЦ/АТЗ/ПЦ- 8.(С/А) |
ФоксТанк- АЦ/АТЗ/ПЦ- 8,5.(С/А) | |
|
Номинальная вместимость, дм3 |
7000 |
7500 |
8000 |
8500 |
|
аблица 4 - Метрологические характеристики | ||||
|
Наименование характеристики |
Значение | |||
|
ФоксТанк- АЦ/АТЗ/ПЦ- 9.(С/А) |
ФоксТанк- АЦ/АТЗ/ПЦ- 9,5.(С/А) |
ФоксТанк- АЦ/АТЗ/ПЦ- 10.(С/А) |
ФоксТанк- АЦ/АТЗ/ПЦ- 10,5 .(С/А) | |
|
Номинальная вместимость, дм3 |
9000 |
9500 |
10000 |
10500 |
|
аблица 5 - Метрологические характеристики | ||||
|
Наименование характеристики |
Значение | |||
|
ФоксТанк- АЦ/АТЗ/ПЦ- 11.(С/А) |
ФоксТанк- АЦ/АТЗ/ПЦ- 11,5 .(С/А) |
ФоксТанк- АЦ/АТЗ/ПЦ- 12.(С/А) |
ФоксТанк- АЦ/АТЗ/ПЦ- 12,5 .(С/А) | |
|
Номинальная вместимость, дм3 |
11000 |
11500 |
12000 |
12500 |
|
аблица 6 - Метрологические характеристики | ||||
|
Наименование характеристики |
Значение | |||
|
ФоксТанк- АЦ/АТЗ/ПЦ- 13.(С/А) |
ФоксТанк- АЦ/АТЗ/ПЦ- 13,5 .(С/А) |
ФоксТанк- АЦ/АТЗ/ПЦ- 14.(С/А) |
ФоксТанк- АЦ/АТЗ/ПЦ- 14,5 .(С/А) | |
|
Номинальная вместимость, дм3 |
13000 |
13500 |
14000 |
14500 |
|
аблица 7 - Метрологические характеристики | ||||
|
Наименование характеристики |
Значение | |||
|
ФоксТанк- АЦ/АТЗ/ПЦ- 15.(С/А) |
ФоксТанк- АЦ/АТЗ/ПЦ- 15,5 .(С/А) |
ФоксТанк- АЦ/АТЗ/ПЦ- 16.(С/А) |
ФоксТанк- АЦ/АТЗ/ПЦ- 16,5 .(С/А) | |
|
Номинальная вместимость, дм3 |
15000 |
15500 |
16000 |
16500 |
аблица 8 - Метрологические характеристики
|
Наименование характеристики |
Значение | |||
|
ФоксТанк- АЦ/АТЗ/ПЦ- 17.(С/А) |
ФоксТанк- АЦ/АТЗ/ПЦ- 17,5 .(С/А) |
ФоксТанк- АЦ/АТЗ/ПЦ- 18.(С/А) |
ФоксТанк- АЦ/АТЗ/ПЦ- 18,5 .(С/А) | |
|
Номинальная вместимость, дм3 |
17000 |
17500 |
18000 |
18500 |
|
аблица 9 - Метрологические характеристики | ||||
|
Наименование характеристики |
Значение | |||
|
ФоксТанк- АЦ/АТЗ/ПЦ- 19.(С/А) |
ФоксТанк- АЦ/АТЗ/ПЦ- 19,5 .(С/А) |
ФоксТанк- АЦ/АТЗ/ПЦ- 20.(С/А) |
ФоксТанк- АЦ/АТЗ/ПЦ- 20,5 .(С/А) | |
|
Номинальная вместимость, дм3 |
19000 |
19500 |
20000 |
20500 |
|
аблица 10 - Метрологические характеристики | ||||
|
Наименование характеристики |
Значение | |||
|
ФоксТанк- АЦ/АТЗ/ПЦ- 21.(С/А) |
ФоксТанк- АЦ/АТЗ/ПЦ- 21,5 .(С/А) |
ФоксТанк- АЦ/АТЗ/ПЦ- 22.(С/А) |
ФоксТанк- АЦ/АТЗ/ПЦ- 22,5 .(С/А) | |
|
Номинальная вместимость, дм3 |
21000 |
21500 |
22000 |
22500 |
|
аблица 11 - Метрологические характеристики | ||||
|
Наименование характеристики |
Значение | |||
|
ФоксТанк- АЦ/АТЗ/ПЦ- 23.(С/А) |
ФоксТанк- АЦ/АТЗ/ПЦ- 23,5 .(С/А) |
ФоксТанк- АЦ/АТЗ/ПЦ- 24.(С/А) |
ФоксТанк- АЦ/АТЗ/ПЦ- 24,5 .(С/А) | |
|
Номинальная вместимость, дм3 |
23000 |
23500 |
24000 |
24500 |
|
аблица 12 - Метрологические характеристики | ||||
|
Наименование характеристики |
Значение | |||
|
ФоксТанк- АЦ/АТЗ/ПЦ- 25.(С/А) |
ФоксТанк- АЦ/АТЗ/ПЦ- 25,5 .(С/А) |
ФоксТанк- АЦ/АТЗ/ПЦ- 26.(С/А) |
ФоксТанк- АЦ/АТЗ/ПЦ- 26,5 .(С/А) | |
|
Номинальная вместимость, дм3 |
25000 |
25500 |
26000 |
26500 |
|
аблица 13 - Метрологические характеристики | ||||
|
Наименование характеристики |
Значение | |||
|
ФоксТанк- АЦ/АТЗ/ПЦ- 27.(С/А) |
ФоксТанк- АЦ/АТЗ/ПЦ- 27,5 .(С/А) |
ФоксТанк- АЦ/АТЗ/ПЦ- 28.(С/А) |
ФоксТанк- АЦ/АТЗ/ПЦ- 28,5 .(С/А) | |
|
Номинальная вместимость, дм3 |
27000 |
27500 |
28000 |
28500 |
|
аблица 14 - Метрологические характеристики | ||||
|
Наименование характеристики |
Значение | |||
|
ФоксТанк- АЦ/АТЗ/ПЦ- 29.(С/А) |
ФоксТанк- АЦ/АТЗ/ПЦ- 29,5 .(С/А) |
ФоксТанк- АЦ/АТЗ/ПЦ- 30.(С/А) |
ФоксТанк- АЦ/АТЗ/ПЦ-30,5(С/А) | |
|
Номинальная вместимость, дм3 |
29000 |
29500 |
30000 |
30500 |
Таблица 15 - Метрологические характеристики
|
Наименование характеристики |
Значение |
|
Пределы допускаемой относительной погрешности ТМ, % |
±0,4 |
|
Разность между номинальной и действительной вместимостью ТМ, %, не более: - ФоксТанк-АЦ/АТЗ/ПЦ-3.(С/А), ФоксТанк-АЦ/АТЗ/ПЦ-3,5.(С/А), ФоксТанк-АЦ/АТЗ/ПЦ-4.(С/А), ФоксТанк-АЦ/АТЗ/ПЦ-4,5.(С/А), ФоксТанк-АЦ/АТЗ/ПЦ-5.(С/А) |
±2,5 |
|
- ФоксТанк-АЦ/АТЗ/ПЦ-5,5.(С/А), ФоксТанк-АЦ/АТЗ/ПЦ-6.(С/А), ФоксТанк-АЦ/АТЗ/ПЦ-6,5.(С/А), ФоксТанк-АЦ/АТЗ/ПЦ-7.(С/А), ФоксТанк-АЦ/АТЗ/ПЦ-7,5.(С/А), ФоксТанк-АЦ/АТЗ/ПЦ-8.(С/А), ФоксТанк-АЦ/АТЗ/ПЦ-8,5.(С/А), ФоксТанк-АЦ/АТЗ/ПЦ-9.(С/А), ФоксТанк-АЦ/АТЗ/ПЦ-9,5.(С/А), ФоксТанк-АЦ/АТЗ/ПЦ-10.(С/А) |
±2,0 |
|
- ФоксТанк-АЦ/АТЗ/ПЦ-10,5.(С/А), ФоксТанк-АЦ/АТЗ/ПЦ-11.(С/А), ФоксТанк-АЦ/АТЗ/ПЦ-11,5.(С/А),ФоксТанк-АЦ/АТЗ/ПЦ-12.(С/А), ФоксТанк-АЦ/АТЗ/ПЦ-12,5.(С/А), ФоксТанк-АЦ/АТЗ/ПЦ-13.(С/А), ФоксТанк-АЦ/АТЗ/ПЦ-13,5.(С/А), ФоксТанк-АЦ/АТЗ/ПЦ-14.(С/А), ФоксТанк-АЦ/АТЗ/ПЦ-14,5.(С/А), ФоксТанк-АЦ/АТЗ/ПЦ-15.(С/А), ФоксТанк-АЦ/АТЗ/ПЦ-15,5.(С/А), ФоксТанк-АЦ/АТЗ/ПЦ-16.(С/А), ФоксТанк-АЦ/АТЗ/ПЦ-16,5.(С/А), ФоксТанк-АЦ/АТЗ/ПЦ-17.(С/А), ФоксТанк-АЦ/АТЗ/ПЦ-17,5.(С/А), ФоксТанк-АЦ/АТЗ/ПЦ-18.(С/А), ФоксТанк-АЦ/АТЗ/ПЦ-18,5.(С/А), ФоксТанк-АЦ/АТЗ/ПЦ-19.(С/А), ФоксТанк-АЦ/АТЗ/ПЦ-19,5.(С/А), ФоксТанк-АЦ/АТЗ/ПЦ-20.(С/А), ФоксТанк-АЦ/АТЗ/ПЦ-20,5.(С/А), ФоксТанк-АЦ/АТЗ/ПЦ-21.(С/А), ФоксТанк-АЦ/АТЗ/ПЦ-21,5.(С/А), ФоксТанк-АЦ/АТЗ/ПЦ-22.(С/А), ФоксТанк-АЦ/АТЗ/ПЦ-22,5.(С/А), ФоксТанк-АЦ/АТЗ/ПЦ-23.(С/А), ФоксТанк-АЦ/АТЗ/ПЦ-23,5.(С/А), ФоксТанк-АЦ/АТЗ/ПЦ-24.(С/А), ФоксТанк-АЦ/АТЗ/ПЦ-24,5.(С/А), ФоксТанк-АЦ/АТЗ/ПЦ-25.(С/А), ФоксТанк-АЦ/АТЗ/ПЦ-25,5.(С/А), ФоксТанк-АЦ/АТЗ/ПЦ-26.(С/А), ФоксТанк-АЦ/АТЗ/ПЦ-26,5.(С/А), ФоксТанк-АЦ/АТЗ/ПЦ-27.(С/А), ФоксТанк-АЦ/АТЗ/ПЦ-27,5.(С/А), ФоксТанк-АЦ/АТЗ/ПЦ-28.(С/А), ФоксТанк-АЦ/АТЗ/ПЦ-28,5.(С/А), ФоксТанк-АЦ/АТЗ/ПЦ-29.(С/А), ФоксТанк-АЦ/АТЗ/ПЦ-29,5.(С/А), ФоксТанк-АЦ/АТЗ/ПЦ-30.(С/А), ФоксТанк-АЦ/АТЗ/ПЦ-30,5.(с/А) |
±1,5 |
|
Пределы допускаемой относительной погрешности счетчика для АТЗ, % |
±0,25; ±0,50 |
|
Минимальная доза отпуска, дм3 |
50 |
Таблица 16 - Основные технические характеристики
|
Наименование характеристики |
Значение |
|
Снаряженная масса, кг, не более |
25000 |
|
Длина, мм, не более |
12000 |
|
Ширина, мм, не более |
2550 |
|
Высота, мм, не более |
4000 |
|
Температура окружающей среды при эксплуатации, °С |
от -40 до +50 |
наносится на титульный лист руководства по эксплуатации и паспорта-формуляра печатным способом.
Комплектность средства измеренийТаблица 17 - Комплектность средства измерений
|
Наименование |
Обозначение |
Количество |
|
Автоцистерна, автотопливозаправщик, прицеп-цистерна |
ФоксТанк-АЦ/АТЗ/ПЦ-ХХ.(Х) |
1 шт. |
|
Запасные части, инструменты и принадлежности |
1 комплект | |
|
Руководство по эксплуатации |
1 шт. | |
|
Паспорт-формуляр |
1 шт. |
приведены в разделе 11 Руководства по эксплуатации «Руководство по эксплуатации автоцистерн, автотопливозаправщиков и прицепов-цистерн для перевозки опасных грузов».
Нормативные документы, устанавливающие требования к средству измеренийПриказ Росстандарта от 26.09.2022 № 2356 Об утверждении Государственной поверочной схемы для средств измерений массы и объема жидкости в потоке, объема жидкости и вместимости при статических измерениях, массового и объемного расходов жидкости (Часть 3)
ТУ 4521-01-62239059-2016 Автоцистерны ФоксТанк-АЦ, автотопливозаправщики ФоксТанк-АТЗ и прицепы-цистерны ФоксТанк-ПЦ. Технические условия
ИзготовительОбщество с ограниченной ответственностью «ФоксТанк Моторс»
(ООО «ФоксТанк Моторс»)
ИНН 5261068651
Юридический адрес: 603000, Нижегородская обл., Г.О. г. Нижний Новгород, г. Нижний Новгород, наб. Верхне-Волжская, д. 2А, кв. 36
Адрес осуществления деятельности: 607686, Нижегородская обл., м.р-н Кстовский, с.п. Ройкинский сельсовет, п. Селекционной Станции сельский, кв-л Промзона, ул. Заводская, д. 1
Тел./факс: +7(831)216-07-53 / +7(831)216-07-53
E-mail: info@foxtank.ru
Испытательный центрФедеральное бюджетное учреждение «Научно-исследовательский центр прикладной метрологии - Ростест»
(ФБУ «НИЦ ПМ - Ростест»)
Юридический адрес: 117418, г. Москва, Нахимовский пр-кт, д. 31
Адрес места осуществления деятельности: 119361, г. Москва, ул. Озерная, д. 46
Телефон: +7 (495) 544-00-00
E-mail: info@rostest.ru
Web-сайт: www.rostest.ru
Уникальный номер записи в реестре аккредитованных лиц № 30004-13

