№2316 от 28.10.2025
Приказ Федерального агентства по техническому регулированию и метрологии (Росстандарт)
# 725172
ПРИКАЗ О внесении изменений в сведения об утвержденных типах СИ (2)
Приказы по основной деятельности по агентству Вн. Приказ № 2316 от 28.10.2025
ПРИЛОЖЕНИЕ
к приказу Федерального агентства по техническому регулированию
и метрологии
от «28 » октября 2025 г. № 2316
Сведения об утвержденных типах средств измерений, подлежащие изменению
в части конструктивных изменений, влияющих на метрологические характеристики средств измерений
|
№ п/п |
Наименование типа |
Обозначение типа |
Заводской номер |
Регистрационный номер в ФИФ |
Правообладатель |
Отменяемая методика поверки |
Действие методики поверки сохраняется |
Устанавливаемая методика поверки |
Добавляемый изготовитель |
Дата утверждения акта испытаний |
Заявитель |
Юридическое лицо, проводившее испытания |
|
1 |
2 |
3 |
4 |
5 |
6 |
7 |
8 |
9 |
10 |
11 |
12 |
13 |
|
1. |
Дефектоскопы внутритрубные магнитные |
6-МСК.00- 00.000 зав. № 201770, 6-МСК.01- 00.000-01 зав. № 2150140, 8- МСК.01- 00.000 зав. № 107391, 8-МСК.01- 00.000-01 зав. № 2150150, 12- МСК.01- 00.000-01 зав. № 107337, 14- |
72594-18 |
МП 033.Д4-18 |
МП 651-24-052 |
10.02. 2025 |
Акционерное общество «Транснефть
(АО «Транснефть
обл., г. Луховицы |
ФГУП «ВНИИФТР И», Московская обл., г. Солнечногорск, р.п. Менделеево |
|
МСК.01- 00.000-01 зав. № 107217, 16- МСК.00- 00.000 зав. № 2122800, 20- МСК.01- 00.000-01 зав. № 211920, 42- МСК.01- 00.000-01 зав. № 211900, 48- МСК.01- 00.000-01 зав. № 211890 | ||||||||||||
|
2. |
Система автоматизирова нная информационно -измерительная коммерческого учета электроэнергии (АИИС КУЭ) ООО «СЛК Цемент» |
001 |
79901-20 |
МП 30-26-2020 |
МП 55-26-2025 |
14.07. 2025 |
Общество с ограниченно й ответственно стью «СЛК Цемент» (ООО «СЛК Цемент»), Свердловская обл., г. Сухой Лог |
УНИИМ - филиалом ФГУП «ВНИИМ им. Д.И. Менделеева» г. Екатеринбург |
V
МИНИСТЕРСТВО ПРОМЫШЛЕННОСТИ И ТОРГОВЛИ РОССИЙСКОЙ ФЕДЕРАЦИИ
ФЕДЕРАЛЬНОЕ АГЕНТСТВО
ПО ТЕХНИЧЕСКОМУ РЕГУЛИРОВАНИЮ И МЕТРОЛОГИИ (Росстандарт)
ПРИКАЗ
28 октября 2025 г.
2316
Москва
О внесении изменений в сведения об утвержденных типах
средств измерений
В соответствии с Административным регламентом по предоставлению Федеральным агентством по техническому регулированию и метрологии государственной услуги по утверждению типа стандартных образцов или типа средств измерений, утвержденным приказом Федерального агентства по техническому регулированию и метрологии от 12 ноября 2018 г. № 2346, п р и к а з ы в а ю:
1. Внести изменения в сведения об утвержденных типах средств измерений в части конструктивных изменений, влияющих на их метрологические характеристики, согласно приложению к настоящему приказу.
2. Утвердить измененные описания типов средств измерений, прилагаемые к настоящему приказу.
3. ФБУ «НИЦ ПМ - Ростест» внести сведения об утвержденных типах
средств измерений согласно приложению к настоящему приказу в Федеральный информационный фонд по обеспечению единства измерений в соответствии с Порядком создания и ведения Федерального информационного фонда по обеспечению единства измерений, передачи сведений в него и внесения изменений в данные сведения, предоставления
содержащихся в нем документов и сведений, утвержденным приказом Министерства промышленности и торговли Российской Федерации от 28 августа 2020 г. № 2906.
4. Контроль за испол з за собой.
Подлинник электронного документа, подписанного ЭП, хранится в системе электронного документооборота Федерального агентства по техническому регулированию и метрологии
Заместитель руководителя
Сертификат: 7B1801563EA497F787EAF40A918A8D6F Кому выдан: Лазаренко Евгений Русланович Действителен: с 19.05.2025 до 12.08.2026
Е.Р. Лазаренко
УТВЕРЖДЕНО приказом Федерального агентства по техническому регулированию и метрологии от «__ » язября 2025 г. № _31 6
Лист № 1 Регистрационный № 72594-18 Всего листов 12
ОПИСАНИЕ ТИПА СРЕДСТВА ИЗМЕРЕНИЙ
Дефектоскопы внутритрубные магнитныеНазначение средства измерения
Дефектоскопы внутритрубные магнитные (далее - дефектоскопы) предназначены для измерения толщины стенки трубы методом магнитной дефектоскопии и координаты выявленных дефектов вдоль оси трубы при проведении внутритрубного диагностирования магистральных нефтепроводов и нефтепродуктопроводов.
Описание средства измерений
Дефектоскопы являются модульными измерительными приборами неразрушающего контроля. Конструктивно дефектоскопы состоят:
в исполнении 6-МСК.00-00.000 из батарейной, дополнительной батарейной, одометрической, соединительной, магнитной секции и секции электроники;
в исполнении 6-МСК.01-00.000-01 из секций электроники, магнитной
и одометрической;
в исполнении 8-МСК.01-00.000 и 8-МСК.01-00.000-01 из секций батарейной, электроники, соединительной, магнитной, одометрической;
в исполнении 12-МСК.01-00.000-01 и 14-МСК.01-00.000-01 из секций батарейной, магнитной и одометрической;
в исполнении 16-МСК.00-00.000 и 20-МСК.01-00.000-01 из секций батарейной и магнитной;
в исполнении 42-МСК.01-00.000-01 и 48-МСК.01-00.000-01 из секции магнитной.
Секция магнитная состоит магнитопровода и внешнего устройства измерительной системы продольного намагничивания, состоящей из кольца с установленными на нем блоками датчиков, блоками магнитов, пластинами щеточными и мультиплексором.
Принцип действия магнитной секции дефектоскопа основан на методе регистрации рассеяния магнитного потока. Магнитная секция комплекса оснащена постоянными магнитами, создающими в теле трубы магнитное поле, которое насыщает металл стенок трубопровода. Во время движения дефектоскопа вдоль трубопровода датчики, установленные между полюсами магнитной измерительной системы, регистрируют любое изменение магнитного потока, вызванное изменением толщины стенки трубы или несплошностью металла трубы.
К настоящему типу средств измерений относятся дефектоскопы, указанные в таблице 1:
Таблица 1 - Типоразмеры дефектоскопов внутритрубных магнитных
|
№ п/п |
Обозначение исполнения дефектоскопов |
Заводской номер |
Типоразмеры | |
|
мм |
дюйм | |||
|
1. |
6-МСК.00-00.000 |
201770 |
159,0 |
6 |
|
2. |
6-МСК.01-00.000-01 |
2150140 |
159,0 |
6 |
|
168,3 |
6 API | |||
|
3. |
8-МСК.01-00.000 |
107391 |
219,0 |
8 |
|
273,0 |
10 | |||
|
4. |
8-МСК.01-00.000-01 |
2150150 |
219,0 |
8 |
|
273,0 |
10 | |||
|
5. |
12-МСК.01-00.000-01 |
107337 |
325,0 |
12 |
|
323,8 |
12 API | |||
|
6. |
14-МСК.01-00.000-01 |
107217 |
377,0 |
14 |
|
355,6 |
14 API | |||
|
7. |
16-МСК.00-00.000 |
2122800 |
426,0 |
16 |
|
8. |
20-МСК.01-00.000-01 |
211920 |
530,0 |
20 |
|
9. |
42-МСК.01-00.000-01 |
211900 |
1067,0 |
42 |
|
1020,0 |
40 | |||
|
10. |
48-МСК.01-00.000-01 |
211890 |
1220,0 |
48 |
Дефектоскопы помимо типоразмера отличаются наличием дополнительного, не метрологического, оборудования и количеством секций.
Так как каждый дефектоскоп предназначен для диагностирования магистральных нефтепроводов и нефтепродуктопроводов нескольких диаметров, для лучшего прохождения изгибов трубопровода имеется комплект сменных секций и манжет разных размеров, которые устанавливаются перед проведением диагностирования.
Нанесение знака поверки на дефектоскоп не предусмотрено.
Заводской номер наносится на дефектоскоп гравировкой или ударным методом в виде цифрового обозначения на бирку, закреплённую на корпусе дефектоскопа.
Пломбирование дефектоскопов не предусмотрено.
Фотография общего вида дефектоскопов внутритрубных магнитных представлена на рисунке 1.
Рисунок 1 - общий вид дефектоскопов.
Чертежи общего вида и места нанесения заводского номера дефектоскопов представлены на рисунках 2-7.

Место нанесения
заводского номера

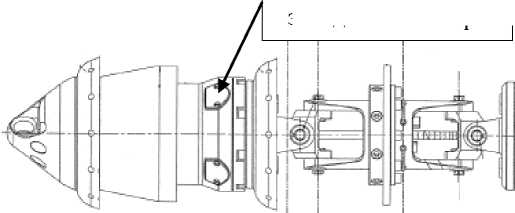
Рисунок 3 - Чертеж общего вида дефектоскопа внутритрубного магнитного
6-МСК.01-00.000-01
Место нанесения
заводского номера

Рисунок 4 - Чертеж общего вида дефектоскопа внутритрубного магнитного
8-МСК.01-00.000 и 8-МСК.01-00.000-01

Место нанесения
заводского номера
Рисунок 5 - Чертеж общего вида дефектоскопа внутритрубного магнитного
12-МСК.01-00.000-01 и 14-МСК.01-00.000-01

Место нанесения
заводского номера
Рисунок 6 - Чертеж общего вида дефектоскопа внутритрубного магнитного
16-МСК.00-00.000 и 20-МСК.01-00.000-01

Место нанесения заводского номера
Рисунок 7 - Чертеж общего вида дефектоскопа внутритрубного магнитного
42-МСК.01-00.000-01 и 48-МСК.01-00.000-01
Программное обеспечениеПрограммное обеспечение «Терминал» (ПО), служит для подготовки и настройки оборудования перед пропуском дефектоскопа по трубопроводу, отображения результатов измерения на экране персонального компьютера, передачи данных пропуска на внешние накопители.
Идентификационные данные ПО приведены в таблице 2.
Таблица 2 - Идентификационные данные ПО
|
Идентификационные данные (признаки) |
Значение | |||||
|
Наименование дефектоскопа |
6- МСК.00- 00.000 |
6-МСК.01- 00.000-01 |
8-МСК.01- 00.000 |
8-МСК.01- 00.000-01 |
12- МСК.01- 00.000-01 |
14- МСК.01- 00.000-01 |
|
Идентификационное наименование ПО |
Терминал ВИП |
Терминал ВИП |
Терминал ВИП |
Терминал ВИП |
Терминал ВИП серии МСК.01 |
Терминал ВИП серии МСК.01 |
|
Номер версии (идентификационный номер) ПО |
22.0437.18 и выше |
22.0869.05 и выше |
22.0437.18 и выше |
22.0437.18 и выше |
22.0392.04 и выше |
22.0392.04 и выше |
|
Цифровой идентификатор ПО |
- |
- |
- |
- |
- |
- |
П Продолжение таблицы 2
|
Идентификационные данные (признаки) |
Значение | |||
|
Наименование дефектоскопа |
16-МСК.00- 00.000 |
20-МСК.01- 00.000-01 |
42-МСК.01- 00.000-01 |
48-МСК.01- 00.000-01 |
|
Идентификационное наименование ПО |
Терминал ВИП серии МСК.01 |
Терминал ВИП серии МСК.01 |
Терминал ВИП серии МСК.01 |
Терминал ВИП серии МСК.01 |
|
Номер версии (идентификационный номер) ПО |
22.0392.04 и выше |
22.0392.04 и выше |
22.0392.04 и выше |
22.0392.04 и выше |
|
Цифровой идентификатор ПО |
- |
- |
- |
- |
Уровень защиты ПО соответствует типу «средний» согласно Р 50.2.077-2014.
Метрологические и технические характеристики
Таблица 3 - Метрологические характеристики
|
Наименование характеристики |
Типоразмеры |
Значение | |
|
мм |
дюйм | ||
|
Диапазоны измерений координат дефекта (вдоль оси трубы) для исполнений дефектоскопов, мм: • 6-МСК.00-00.000; |
159,0 |
6 |
от 251 до 18000 |
|
• 6-МСК.01-00.000-01; |
159,0 |
6 |
от 170 до 18000 |
|
168,3 |
6 API | ||
|
• 8-МСК.01-00.000; |
219,0 |
8 |
от 251 до 18000 |
|
273,0 |
10 |
от 383 до 18000 | |
|
• 8-МСК.01-00.000-01; |
219,0 |
8 |
от 278 до 18000 |
|
273,0 |
10 | ||
|
• 12-МСК.01-00.000-01; |
325,0 |
12 |
от 282 до 18000 |
|
323,8 |
12 API | ||
|
• 14-МСК.01-00.000-01 |
377,0 |
14 |
от 282 до 18000 |
|
355,6 |
14 API | ||
|
• 16-МСК.00-00.000 |
426,0 |
16 |
от 282 до 18000 |
|
• 20-МСК.01-00.000-01 |
530,0 |
20 |
от 282 до 18000 |
|
• 42-МСК.01-00.000-01; |
1067,0 |
42 |
от 496 до 18000 |
|
1020,0 |
40 | ||
|
• 48-МСК.01-00.000-01 |
1220,0 |
48 |
от 496 до 18000 |
|
Пределы допускаемой абсолютной погрешности измерений координат дефекта (вдоль оси трубы), мм |
±(34+0,0083-L), где L - измеренная координата дефекта (вдоль оси трубы), мм | ||
П Продолжение таблицы 3
|
Наименование характеристики |
Типоразмеры |
Значение | |
|
мм |
дюйм | ||
|
Диапазоны измерений толщины стенки трубопровода магнитным методом для исполнений дефектоскопов, мм: • 6-МСК.00-00.000; |
159,0 |
6 |
от 4 до 9 |
|
• 6-МСК.01-00.000-01; |
159,0 |
6 |
от 4 до 9 |
|
168,3 |
6 API | ||
|
• 8-МСК.01-00.000; |
219,0 |
8 |
от 6 до 12 |
|
273,0 |
10 |
от 7 до 13 | |
|
• 8-МСК.01-00.000-01; |
219,0 |
8 |
от 6 до 12 |
|
273,0 |
10 |
от 7 до 13 | |
|
• 12-МСК.01-00.000-01; |
325,0 |
12 |
от 6 до 14 |
|
323,8 |
12 API | ||
|
• 14-МСК.01-00.000-01; |
377,0 |
14 |
от 7 до 14 |
|
355,6 |
14 API | ||
|
• 16-МСК.00-00.000 |
426,0 |
16 |
от 6 до 15 |
|
• 20-МСК.01-00.000-01; |
530,0 |
20 |
от 6 до 16 |
|
• 42-МСК.01-00.000-01; |
1067,0 |
42 |
от 11 до 25 |
|
1020,0 |
40 |
от 10 до 27 | |
|
• 48-МСК.01-00.000-01 |
1220,0 |
48 |
от 10 до 27 |
|
Пределы допускаемой относительной погрешности измерений толщины стенки трубопровода магнитным методом, % |
± 30 | ||
аблица 4 - Технические характеристики
|
Наименование характеристики |
Значение |
|
Наружный диаметр обследуемого трубопровода, мм |
от 159 до 1220 |
|
Рабочая среда эксплуатации |
нефть, нефтепродукты, газ, вода и неагрессивные жидкости |
|
Максимальное давление в трубопроводе, МПа |
14 |
|
Допустимая скорость движения дефектоскопа, м/с |
от 0,2 до 4,0 |
|
Допустимая овальность трубопровода, % от Du, не более: |
от 6 до 15 |
|
Максимальная протяженность участка, обследуемого за один пропуск, при средней скорости движения 1 м/с, км |
от 60 до 350 |
|
Длина дефектоскопа, мм, не более |
3360 |
|
Масса дефектоскопа, включая батареи питания и транспортировочно-запасовочное устройство, кг, не более |
4600 |
|
Температура среды эксплуатации, °С |
от - 15 до + 50 |
|
Температура хранения, °С |
от 0 до + 35 |
|
Температура транспортирования, °С |
от - 40 до + 50 |
наносится на титульном листе руководства по эксплуатации в правом верхнем углу методом печати.
Комплектность средства измеренияТаблица 5 - Комплектность дефектоскопа 6-МСК.00-00.000
|
Наименование |
Обозначение |
Количество |
|
Дефектоскоп внутритрубный магнитный |
6-МСК.00-00.000 |
1 шт. |
|
Транспортно-запасовочное устройство (ТЗУ) |
6-МСК.00-28.000 |
1 компл. |
|
Комплект вспомогательного оборудования |
6-МСК.00-14.000 |
1 компл. |
|
Программа интерпретации данных |
RU.18024722.00050 |
1 шт. |
|
Комплект запасных частей |
6-МСК.00-17.000 |
1 компл. |
|
Комплект инструмента и принадлежностей |
6-МСК.00-18.000 |
1 компл. |
|
Комплект терминала |
- |
1 компл. |
|
Комплект эксплуатационных документов |
- |
1 компл. |
Таблица 6 - Комплектность дефектоскопа 6-МСК.01-00.000-01
|
Наименование |
Обозначение |
Количество |
|
Дефектоскоп внутритрубный магнитный |
6-МСК.01-00.000-01 |
1 шт. |
|
Транспортно-запасовочное устройство (ТЗУ) |
6-МСК.01-28.000 |
1 компл. |
|
Комплект сменных частей типоразмера 168 мм (6” API) |
6-МСК.01-13.000 |
1 компл. |
|
Комплект вспомогательного оборудования |
6-МСК.01-14.000 |
1 компл. |
|
Программа интерпретации данных |
RU.18024722.00050 |
1 шт. |
|
Комплект запасных частей |
6-МСК.01-17.000 |
1 компл. |
|
Комплект инструмента и принадлежностей |
6-МСК.01-18.000 |
1 компл. |
|
Комплект терминала |
6-МСК.01-60.000 |
1 компл. |
|
Комплект эксплуатационных документов |
- |
1 компл. |
Таблица 7 - Комплектность дефектоскопа 8-МСК.01-00.000
|
Наименование |
Обозначение |
Количество |
|
Дефектоскоп внутритрубный магнитный |
8-МСК.01-00.000 |
1 шт. |
|
Транспортно-запасовочное устройство (ТЗУ) |
8-МСК.00-29.000 |
1 компл. |
|
Комплект сменных частей типоразмера 273 мм, секция одометрическая |
10-МСК.01-02.000 |
1 компл. |
|
Комплект сменных частей типоразмера 273 мм, секция магнитная |
10-МСК.01-05.000 |
1 компл. |
|
Комплект сменных частей для прохождения отводов 1,5Dy |
8-МСК.01-11.000 |
1 компл. |
|
Комплект сменных частей для прохождения отводов 1,5Dy |
8-МСК.01-12.000 |
1 компл. |
|
Комплект вспомогательного оборудования |
8-МСК.01-14.000 |
1 компл. |
|
Программа интерпретации данных |
RU.18024722.00050 |
1 шт. |
|
Комплект запасных частей |
8-МСК.01-17.000 |
1 компл. |
|
Комплект инструмента и принадлежностей |
8-МСК.01-18.000 |
1 компл. |
|
Комплект оборудования для обслуживания электроники |
8-МСК.01-50.000 |
1 компл. |
|
Комплект терминала |
8-МСК.01-60.000 |
1 компл. |
|
Комплект эксплуатационных документов |
- |
1 компл. |
|
Таблица 8 - Комплектность дефектоскопа 8-МСК.01-00.000-01 | ||
|
Наименование |
Обозначение |
Количество |
|
Дефектоскоп внутритрубный магнитный |
8-МСК.01-00.000-01 |
1 шт. |
|
Транспортно-запасовочное устройство (ТЗУ) |
8-МСК.00-29.000 |
1 компл. |
|
Комплект сменных частей для прохождения отводов 1,5DN |
8-МСК.01-11.000 |
1 компл. |
|
Комплект сменных частей секции батарейной 1,5DN |
8-МСК.01-11.010 |
1 компл. |
|
Комплект сменных частей секции соединительной 1,5DN |
8-МСК.01-11.030 |
1 компл. |
|
Комплект сменных частей секции магнитной 1,5DN |
8-МСК.01-11.050 |
1 компл. |
|
Комплект сменных частей для прохождения отводов 1,5DN |
8-МСК.01-12.000 |
1 компл. |
|
Комплект сменных частей секции соединительной 1,5DN |
8-МСК.01-12.030 |
1 компл. |
|
Комплект сменных частей секции магнитной 1,5DN |
8-МСК.01-11.000 |
1 компл. |
|
Комплект сменных частей типоразмера 273 мм, секция одометрическая |
10-МСК.01-02.000 |
1 компл. |
|
Комплект сменных частей типоразмера 273 мм, секция магнитная |
10-МСК.01-05.000-01 |
1 компл. |
|
Комплект сменных частей секции батарейной |
8-МСК.01-15.010 |
1 компл. |
|
Комплект сменных частей секции электроники |
8-МСК.01-15.020 |
1 компл. |
|
Комплект сменных частей секции соединительной |
8-МСК.01-15.030 |
1 компл. |
|
Комплект вспомогательного оборудования |
8-МСК.01-14.000 |
1 компл. |
|
Программа интерпретации данных |
RU.18024722.00050 |
1 компл. |
|
Комплект запасных частей |
8-МСК.01-17.000 |
1 компл. |
|
Комплект инструмента и принадлежностей |
8-МСК.01-18.000 |
1 компл. |
|
Комплект оборудования для обслуживания электроники |
8-МСК.01-50.000 |
1 компл. |
|
Комплект терминала |
8-МСК.01-60.000 |
1 компл. |
|
Комплект эксплуатационных документов |
- |
1 компл. |
аблица 9 - Комплектность дефектоскопа 12-МСК.01-00.000-01
|
Наименование |
Обозначение |
Количество |
|
Дефектоскоп внутритрубный магнитный |
12-МСК.01-00.000-01 |
1 шт. |
|
Комплект вспомогательного оборудования |
12-МСК.01-14.000 |
1 компл. |
|
Программа интерпретации данных |
RU.18024722.00050 |
1 компл. |
|
Комплект запасных частей |
12-МСК.01-17.000 |
1 компл. |
|
Комплект инструмента и принадлежностей |
12-МСК.01-18.000 |
1 компл. |
|
Транспортно-запасовочное устройство (ТЗУ) |
12-МСК.00-29.000 или 12-МСК.00-28.000 |
1 компл. |
|
Комплект терминала |
12-МСК.01-60.000 |
1 компл. |
|
Комплект эксплуатационных документов |
- |
1 компл. |
Лист № 10 Всего листов 12 аблица 10 - Комплектность дефектоскопа 14-МСК.01-00.000-01
|
Наименование |
Обозначение |
Количество |
|
Дефектоскоп внутритрубный магнитный |
14-МСК.01-00.000-01 |
1 шт. |
|
Комплект вспомогательного оборудования |
14-МСК.01-14.000 |
1 компл. |
|
Комплект сменных частей типоразмера 355,6 мм, секция батарейной |
14-МСК.01-13.100 |
1 компл. |
|
Комплект сменных частей типоразмера 355,6 мм, секция магнитной |
14-МСК.01-13.200 |
1 компл. |
|
Комплект сменных частей типоразмера 355,6 мм, секция одометрической |
14-МСК.01-13.300 |
1 компл. |
|
Программа интерпретации данных |
RU.18024722.00050 |
1 компл. |
|
Комплект запасных частей |
14-МСК.01-17.000 |
1 компл. |
|
Комплект инструмента и принадлежностей |
14-МСК.01-18.000 |
1 компл. |
|
Транспортно-запасовочное устройство (ТЗУ) |
14-МСК.01-28.000 или 14-МСК.00-29.000 |
1 компл. |
|
Комплект терминала |
12-МСК.01-60.000 |
1 компл. |
|
Комплект эксплуатационных документов |
- |
1 компл. |
'аблица 11 - Комплектность дефектоскопа 16-МСК.00-00.000
|
Наименование |
Обозначение |
Количество |
|
Дефектоскоп внутритрубный магнитный |
16-МСК.00-00.000 |
1 шт. |
|
Комплект вспомогательного оборудования |
16-МСК.00-14.000 |
1 компл. |
|
Программа интерпретации данных |
RU.18024722.00050 |
1 компл. |
|
Комплект запасных частей |
16-МСК.00-17.000 |
1 компл. |
|
Комплект инструмента и принадлежностей |
16-МСК.00-18.000 |
1 компл. |
|
Комплект сменных частей для прохождения отводов 1,5Dy |
16-МСК.00-11.000 |
1 компл. |
|
Транспортно-запасовочное устройство (ТЗУ) |
16-МСК.00-28.000 |
1 компл. |
|
Комплект терминала |
48-МСК.01-60.000-03 |
1 компл. |
|
Комплект эксплуатационных документов |
- |
1 компл. |
Таблица 12 - Комплектность дефектоскопа 20-МСК.01-00.000-01
|
Наименование |
Обозначение |
Количество |
|
Дефектоскоп внутритрубный магнитный |
20-МСК.01-00.000-01 |
1 шт. |
|
Транспортно-запасовочное устройство (ТЗУ) |
20-МСК.01-29.000 |
1 компл. |
|
Комплект сменных частей типоразмера 530 мм для прохождения отводов 1,5 Dy |
20-МСК.01-13.000 |
1 компл. |
|
Комплект вспомогательного оборудования |
20-МСК.01-14.000-01 |
1 компл. |
|
Программа интерпретации данных |
RU.18024722.00050 |
1 шт. |
|
Комплект запасных частей |
20-МСК.01-17.000-01 |
1 компл. |
|
Комплект инструмента и принадлежностей |
20-МСК.01-18.000-01 |
1 компл. |
|
Комплект терминала |
48-МСК.01-60.000-02 |
1 компл. |
|
Комплект эксплуатационных документов |
- |
1 компл. |
аблица 13 - Комплектность дефектоскопа 42-МСК.01-00.000-01
|
Наименование |
Обозначение |
Количество |
|
Дефектоскоп внутритрубный магнитный |
42-МСК.01-00.000-01 |
1 шт. |
|
Комплект вспомогательного оборудования |
42-МСК.01-14.000-01 |
1 компл. |
|
Комплект сменных частей |
42-МСК.01-15.000-01 |
1 компл. |
|
Программа интерпретации данных |
RU.18024722.00050 |
1 компл. |
|
Комплект запасных частей |
42-МСК.01-17.000-01 |
1 компл. |
|
Комплект инструмента и принадлежностей |
42-МСК.01-18.000-01 |
1 компл. |
|
Транспортно-запасовочное устройство (ТЗУ) |
42-МСК.01-29.000 |
1 компл. |
|
Комплект терминала |
48-МСК.01-60.000-02 |
1 компл. |
|
Комплект эксплуатационных документов |
- |
1 компл. |
'аблица 14 - Комплектность дефектоскопа 48-МСК.01-00.000-01
|
Наименование |
Обозначение |
Количество |
|
Дефектоскоп внутритрубный магнитный |
48-МСК.01-00.000-01 |
1 шт. |
|
Комплект вспомогательного оборудования |
48-МСК.01-14.000-01 |
1 компл. |
|
Программа интерпретации данных |
RU.18024722.00050 |
1 компл. |
|
Комплект запасных частей |
48-МСК.01-17.000-01 |
1 компл. |
|
Комплект инструмента и принадлежностей |
48-МСК.01-18.000-01 |
1 компл. |
|
Транспортно-запасовочное устройство (ТЗУ) |
48-МСК.01-29.000 |
1 компл. |
|
Комплект терминала |
48-МСК.01-60.000-02 |
1 компл. |
|
Комплект эксплуатационных документов |
- |
1 компл. |
приведены в документах: 6-МСК.00-00.000 РЭ «Дефектоскоп внутритрубный магнитный 6-МСК.00-00.000. Руководство по эксплуатации», раздел 2 «Использование по назначению», 6-МСК.01-00.000-01 РЭ «Дефектоскоп внутритрубный магнитный 6-МСК.01-00.000-01. Руководство по эксплуатации», раздел 2 «Использование по назначению», 8-МСК.01-00.000 РЭ «Дефектоскоп внутритрубный магнитный 8-МСК.01-00.000. Руководство по эксплуатации», раздел 2 «Использование по назначению», 8-МСК.01-00.000-01 РЭ «Дефектоскоп внутритрубный магнитный 8-МСК.01-00.000-01. Руководство по эксплуатации», раздел 2 «Использование по назначению», 12-МСК.01-00.000-01 «Дефектоскоп внутритрубный магнитный 12-МСК.01-00.000-01. Руководство по эксплуатации», раздел 2 «Использование по назначению», 14-МСК.01-00.000-01 РЭ «Дефектоскоп внутритрубный магнитный
14-МСК.01-00.000-01. Руководство по эксплуатации», раздел 2 «Использование по назначению», 16-МСК.00-00.000 РЭ «Дефектоскоп внутритрубный магнитный
16-МСК.00-00.000. Руководство по эксплуатации», раздел 2 «Использование по назначению», 20-МСК.01-00.000-01 РЭ «Дефектоскоп внутритрубный магнитный 20-МСК.01-00.000-01. Руководство по эксплуатации», раздел 2 «Использование по назначению»,
42-МСК.01-00.000-01 РЭ «Дефектоскоп внутритрубный магнитный 42-МСК.01-00.000-01. Руководство по эксплуатации», раздел 2 «Использование по назначению»,
48-МСК.01-00.000-01 РЭ «Дефектоскоп внутритрубный магнитный 48-МСК.01-00.000-01. Руководство по эксплуатации», раздел 2 «Использование по назначению»; ФР.1.27.2024.48384 «Методика (метод) измерений расстояния, пройденного колесом датчика пути (энкодера)».
Нормативные документы, устанавливающие требования к средству измеренийТУ 4834-093-18024722-2013 Дефектоскопы внутритрубные магнитные типа МСК. Технические условия
ИзготовительАкционерное общество «Транснефть - Диаскан»
(АО «Транснефть - Диаскан»)
ИНН 5072703668
Адрес: Московская область, г. Луховицы, ул. Куйбышева, 7
Испытательный центрФедеральное государственное унитарное предприятие «Всероссийский научно-исследовательский институт оптико-физических измерений»
(ФГУП «ВНИИОФИ»)
Адрес: 119361, г. Москва, ул. Озерная, 46
Адрес места осуществления деятельности: 119361, РОССИЯ, г. Москва, ул. Озёрная, 46
Уникальный номер записи об аккредитации в реестре аккредитованных лиц в области обеспечения единства измерений 30003-2014
В части вносимых изменений
Федеральное государственное унитарное предприятия «Всероссийский научно-исследовательский институт физико-технических и радиотехнических измерений» (ФГУП «ВНИИФТРИ»)
Адрес: 141570, РОССИЯ, Московская обл., г. Солнечногорск, р.п. Менделеево, промзона ФГУП «ВНИИФТРИ»
Адрес места осуществления деятельности: 141570, РОССИЯ, Московская обл., г. Солнечногорск, р.п. Менделеево, промзона ФГУП «ВНИИФТРИ»
Уникальный номер записи об аккредитации в реестре аккредитованных лиц в области обеспечения единства измерений 30002-13
УТВЕРЖДЕНО приказом Федерального агентства по техническому регулированию и метрологии от «__ » 01СТябРя 2025 г. № _31 6Лист № 1 Регистрационный № 79901-20 Всего листов 12
ОПИСАНИЕ ТИПА СРЕДСТВА ИЗМЕРЕНИЙ
Система автоматизированная информационно-измерительная коммерческого учета электроэнергии (АИИС КУЭ) ООО «СЛК Цемент» Назначение средства измеренийСистема автоматизированная информационно-измерительная коммерческого учета электроэнергии (АИИС КУЭ) ООО «СЛК Цемент» (далее - АИИС КУЭ) предназначена для измерения активной и реактивной электроэнергии, осуществления эффективного автоматизированного коммерческого учета и контроля потребления электроэнергии и мощности по всем расчетным точкам учета, а также регистрации параметров электропотребления, формирования отчетных документов для Администратора торговой системы, Системного оператора и смежных участников оптового рынка электроэнергии.
Описание средства измерений
АИИС КУЭ представляет собой многофункциональную, многоуровневую автоматизированную измерительную систему с централизованным управлением, распределенной функцией измерения.
АИИС КУЭ имеет 3-х уровневую структуру:
-
1- й уровень - измерительно-информационные комплексы (ИИК), включающие в себя измерительные трансформаторы напряжения (ТН), измерительные трансформаторы тока (ТТ), многофункциональные счетчики активной и реактивной электрической энергии (счетчики), вторичные измерительные цепи и технические средства приема-передачи данных;
-
2- й уровень - измерительно-вычислительный комплекс электроустановки (ИВКЭ), включающий устройство сбора и передачи данных (УСПД), осуществляющее сбор данных от счетчиков, подключенных к его входам; технические средства приема-передачи данных, каналы связи для обеспечения информационного взаимодействия между уровнями системы;
-
3- й уровень - информационно-вычислительный комплекс (ИВК), включающий в себя сервер баз данных (БД), автоматизированное рабочее место (АРМ ИВК), программное обеспечение (ПО) «Энергосфера», каналообразующую аппаратуру.
АИИС КУЭ решает следующие задачи:
-
- измерение 30-минутных приращений активной и реактивной электроэнергии;
-
- периодический (1 раз в 30 мин) и/или по запросу автоматический сбор привязанных к календарному времени результатов измерений приращений электроэнергии с заданной дискретностью учета 30 мин;
-
- хранение результатов измерений в специализированной базе данных, отвечающей требованию повышенной защищенности от потери информации (резервирование баз данных) и от несанкционированного доступа;
-
- передача результатов измерений в организации-участники оптового рынка электроэнергии;
- обеспечение защиты оборудования, программного обеспечения и данных от несанкционированного доступа на физическом и программном уровне (установка паролей и т.п.);
- диагностику и мониторинг функционирования технических и программных средств АИИС КУЭ;
- конфигурирование и настройка параметров АИИС КУЭ;
- ведение системы единого времени в АИИС КУЭ (коррекция времени).
Первичные токи и напряжения трансформируются измерительными трансформаторами в аналоговые сигналы низкого уровня, которые по проводным линиям измерительных цепей поступают на соответствующие входы электронного счетчика электрической энергии. В счетчике мгновенные значения аналоговых сигналов преобразуются в цифровой сигнал. По мгновенным значениям силы электрического тока и напряжения в микропроцессоре счетчика вычисляются мгновенные значения активной, реактивной и полной мощности, которые усредняются за период 0,02 с. Измерительная информация на выходе счетчика без учета коэффициента трансформации:
- активная и реактивная электрическая энергия, как интеграл по времени от средней за период 0,02 с активной и реактивной мощности, соответственно, вычисляемая для интервалов времени 30 мин;
- средняя на интервале времени 30 мин активная (реактивная) электрическая мощность.
Цифровой сигнал с выходов счетчиков поступает на входы УСПД, входящие в состав ИВКЭ, где осуществляется хранение измерительной информации, ее накопление и передача накопленных данных на сервер БД. Измерительная информация поступает на сервер БД по локальной сети предприятия или с помощью GSM-связи.
Сервер БД при помощи ПО осуществляет сбор, обработку измерительной информации, в частности вычисление электроэнергии и мощности с учетом коэффициентов трансформации ТТ и ТН, формирование, хранение, оформление справочных и отчетных документов. АРМ ИВК представляет собой персональный компьютер, на который установлена клиентская часть ПО «Энергосфера», подключенный к локальной сети предприятия и считывающий данные об энергопотреблении с сервера по сети Ethernet.
Передача информации в организации - участники оптового рынка электроэнергии и другие заинтересованные организации за электронной цифровой подписью в формате XML в соответствии с согласованным регламентом осуществляется сервером БД.
АИИС КУЭ оснащена системой обеспечения единого времени (СОЕВ), включающей в себя часы УСПД, сервера БД и счетчиков электроэнергии, подключенных к УСПД. СОЕВ АИИС КУЭ построена на базе приемника ГЛОНАСС, встроенного в УСПД. Время УСПД синхронизировано с временем приемника. Пределы допускаемых смещений формируемой шкалы времени УСПД относительно национальной шкалы времени UTC (SU) в режиме синхронизации по источнику точного времени ГНСС с использованием PPS-сигнала ±1 мс.
Сличение времени часов счетчиков с временем часов УСПД осуществляется с интервалом времени не более 60 минут, корректировка времени часов счетчиков выполняется при достижении расхождения с временем часов УСПД ±3 с. УСПД осуществляет синхронизацию времени сервера БД. Сличение времени часов сервера БД с временем часов УСПД осуществляется каждые 30 минут, корректировка времени сервера выполняется при достижении расхождения времени часов УСПД и сервера ±1 с.
Журналы событий счетчиков, УСПД и сервера БД отображают факты коррекции времени с обязательной фиксацией времени до и после коррекции и (или) величины коррекции времени, на которую было скорректировано устройство.
Нанесение знака поверки на АИИС КУЭ не предусмотрено. Заводской номер АИИС КУЭ в цифровом формате наносится на этикетку, расположенную на корпусе шкафа управления УСПД, а также в Формуляр-Паспорт. АИИС КУЭ присвоен заводской номер 001.
Программное обеспечениеВ АИИС КУЭ используется программное обеспечение «Энергосфера». Идентификационные данные ПО указаны в таблице 1.
Таблица 1 - Идентификационные данные программного обеспечения
|
Идентификационные данные (признаки) |
Значение |
|
Идентификационное наименование ПО |
pso metr.dll |
|
Номер версии (идентификационный номер) ПО |
1.1.1.1 |
|
Цифровой идентификатор ПО |
CBEB6F6CA69318BED976E08A2BB7814B |
|
Алгоритм вычисления цифрового идентификатора ПО |
MD5 |
Уровень защиты программного обеспечения от непреднамеренных и преднамеренных изменений «высокий» в соответствии с Р 50.2.077-2014.
Влияние ПО на метрологические характеристики АИИС КУЭ незначимо. Метрологические характеристики измерительных каналов (ИК) АИИС КУЭ, указанные в таблице 2, нормированы с учетом ПО.
Метрологические и технические характеристикиСостав ИК АИИС КУЭ и их основные метрологические и технические характеристики приведены в таблицах 2, 3, 4.
Таблица 2 - Состав ИК
|
Номер ИК |
Наименование ИК |
ТТ |
ТН |
Счетчик |
УСПД |
Сервер |
|
1 |
2 |
3 |
4 |
5 |
6 |
7 |
|
1 |
ПС "Кунарская" 1В-1Т яч .4 |
ТПОЛ-10 1500/5 Класс точности 0,5S Рег. № 47958-16 |
НТМИ-6-66 6000/100 Класс точности 0,5 Рег. № 2611-70 |
СЭТ-4ТМ.03 Класс точности 0,2S/0,5 Рег. № 27524-04 |
«ЭКОМ-3000» Рег. № 17049-19 |
Сервер баз данных |
|
2 |
ПС "Кунарская" 2В-1Т яч .40 |
ТПОЛ-10 1500/5 Класс точности 0,5 Рег. № 1261-59 |
ЗНОЛ.06-6 6000/^3/100/^3 Класс точности 0,5 Рег. № 46738-11 |
СЭТ-4ТМ.03 Класс точности 0,2S/0,5 Рег. № 27524-04 | ||
|
3 |
ПС "Кунарская" 3В-2Т яч .14 |
ТПОЛ-10 1500/5 Класс точности 0,5 Рег. № 1261-59 |
НТМИ-6-66 6000/100 Класс точности 0,5 Рег. № 2611-70 |
СЭТ-4ТМ.03 Класс точности 0,2S/0,5 Рег. № 27524-04 | ||
|
4 |
ПС "Кунарская" 4В-2Т яч .32 |
ТПОЛ-10 1500/5 Класс точности 0,5 Рег. № 1261-59 |
НТМИ-6-66 6000/100 Класс точности 0,5 Рег. № 2611-70 |
СЭТ-4ТМ.03 Класс точности 0,2S/0,5 Рег. № 27524-04 |
|
1 |
2 |
3 |
4 |
5 |
6 |
7 |
|
5 |
ПС "Кунарская" 5В-1Т яч .52 |
ТПОЛ-10 1500/5 Класс точности 0,5 Рег. № 1261-59 |
НТМИ-6-66 6000/100 Класс точности 0,5 Рег. № 2611-70 |
СЭТ-4ТМ.03 Класс точности 0,2S/0,5 Рег. № 27524-04 |
«ЭКОМ-3000» Рег. № 17049-19 |
Сервер баз данных |
|
6 |
ПС "Кунарская" 6В-1Т яч .78 |
ТПОЛ-10 1500/5 Класс точности 0,5 Рег. № 1261-59 |
НТМИ-6-66 6000/100 Класс точности 0,5 Рег. № 2611-70 |
СЭТ-4ТМ.03 Класс точности 0,2S/0,5 Рег. № 27524-04 | ||
|
7 |
ПС "Кунарская" 7В-2Т яч .60 |
ТПОЛ-10 1500/5 Класс точности 0,5 Рег. № 1261-59 |
НТМИ-6 6000/100 Класс точности 0,5 Рег. № 831-53 |
СЭТ-4ТМ.03 Класс точности 0,2S/0,5 Рег. № 27524-04 | ||
|
8 |
ПС "Кунарская" 8В-2Т яч .68 |
ТПОЛ-10 1500/5 Класс точности 0,5 Рег. № 1261-59 |
НТМИ-6-66 6000/100 Класс точности 0,5 Рег. № 2611-70 |
СЭТ-4ТМ.03 Класс точности 0,2S/0,5 Рег. № 27524-04 | ||
|
9 |
ПС "Кунарская" ТСН-1 |
ТОП-0,66 100/5 Класс точности 0,5 Рег. № 47959-16 |
- |
СЭТ-4ТМ.03М.09 Класс точности 0,5S/1,0 Рег. № 36697-17 | ||
|
10 |
ПС "Кунарская" ТСН-2 |
ТОП-0,66 100/5 Класс точности 0,5 Рег. № 47959-16 |
- |
СЭТ-4ТМ.03М.09 Класс точности 0,5S/1,0 Рег. № 36697-12 |
|
1 |
2 |
3 |
4 |
5 |
6 |
7 |
|
11 |
ПС "Кунарская" Город-1 яч .24 |
ТПЛ-10 300/5 Класс точности 0,5 Рег. № 1276-59 |
НТМИ-6-66 6000/100 Класс точности 0,5 Рег. № 2611-70 |
СЭТ-4ТМ.03 Класс точности 0,2S/0,5 Рег. № 27524-04 |
«ЭКОМ-3000» Рег. № 17049-19 |
Сервер баз данных |
|
12 |
ПС "Кунарская" Город-2 яч .73 |
ТПЛ-10-М 300/5 Класс точности 0,5 Рег. № 47958-11 |
НТМИ-6-66 6000/100 Класс точности 0,5 Рег. № 2611-70 |
СЭТ-4ТМ.03М Класс точности 0,2S/0,5 Рег. № 36697-08 | ||
|
13 |
ВЛ-6кВ ф"Карьер" ЯКНО-10 |
ТВК-10 200/5 Класс точности 0,5 Рег. № 8913-82 |
ЗНОЛ.06-6 6000/^3/100/^3 Класс точности 0,5 Рег. № 3344-08 |
СЭТ-4ТМ.03М.04 Класс точности 0,2S/0,5 Рег. № 36697-12 | ||
|
14 |
РП-1 яч№31 |
ТЛО-10 200/5 Класс точности 0,5S Рег. № 25433-11 |
ЗНОЛ.06-6 6000/^3/100/^3 Класс точности 0,5 Рег. № 3344-08 |
СЭТ-4ТМ.03М.01 Класс точности 0,5S/1,0 Рег. № 36697-12 | ||
|
16 |
ПС 220/10кВ "Анна"; ОПУ, панель №8, ТСНр |
ТШП-0,66 1000/5 Класс точности 0,5 Рег. № 15173-06 |
- |
СЭТ-4ТМ.03М.09 Класс точности 0,5S/1,0 Рег. № 36697-12 |
|
1 |
2 |
3 |
4 |
5 |
6 |
7 |
|
17 |
ШУ-1 (ОАО МТС) |
ТОП М-0,66 У3 20/5 Класс точности 0,5S Рег. № 59924-15 |
- |
СЭТ-4ТМ.03М.09 Класс точности 0,5S/1,0 Рег. № 36697-08 |
«ЭКОМ-3000» Рег. № 17049-19 |
Сервер баз данных |
|
18 |
ШУ-2 (ОАО МТС) |
ТОП М-0,66 У3 20/5 Класс точности 0,5S Рег. № 59924-15 |
- |
СЭТ-4ТМ.03М.09 Класс точности 0,5S/1,0 Рег. № 36697-08 | ||
|
19 |
КРУН-10кВ КЛ-10кВ "Цемент-1" яч№3 |
GSWS-12D 3000/5 Класс точности 0,5S Рег. № 28402-04 |
ЗНОЛ.06-10 10000/^3/100/^3 Класс точности 0,5 Рег. № 3344-08 |
СЭТ-4ТМ.03М.01 Класс точности 0,5S/1,0 Рег. № 36697-12 | ||
|
20 |
КРУН-10кВ КЛ-10кВ "Цемент-2" яч№4 |
GSWS-12D 3000/5 Класс точности 0,5S Рег. № 28402-04 |
ЗНОЛ.06-10 10000/^3/100/^3 Класс точности 0,5 Рег. № 3344-08 |
СЭТ-4ТМ.03М.01 Класс точности 0,5S/1,0 Рег. № 36697-12 | ||
|
Примечания
| ||||||
Таблица 3 - Основные метрологические характеристики ИК
|
Наименование характеристики |
Значение |
|
1 |
2 |
|
Границы основной относительной погрешности, %, измерения электрической энергии и средней мощности: - для ИК № 1
|
±1,1 ±2,6 |
|
- для ИК №№ 2, 3, 4, 5, 6, 7, 8, 11, 12, 13
|
±1,1 ±2,6 |
|
- для ИК №№ 9, 10, 16
|
±1,1 ±2,4 |
|
- для ИК №№ 17, 18
|
Cxf -н -н |
|
- для ИК №№ 14, 19, 20
|
±1,2 ±2,8 |
|
Границы относительной погрешности, %, в рабочих условиях измерения электрической энергии и средней мощности: - для ИК № 1
|
±2,7 ±4,4 |
|
- для ИК №№ 2, 3, 4, 5, 6, 7, 8, 11, 12, 13
|
±3,0 ±4,5 |
|
- для ИК №№ 9, 10, 16
|
±3,0 ±4,9 |
|
- для ИК №№ 17, 18
|
±2,8 ±5,5 |
|
- для ИК №№ 14, 19, 20
|
±2,9 ±5,6 |
|
Пределы допускаемой относительной погрешности передачи и обработки данных, % |
±0,01 |
|
Пределы допускаемой относительной погрешности вычисления приращения электрической энергии, % |
±0,01 |
|
Пределы допускаемой относительной погрешности вычисления средней мощности, % |
±0,01 |
|
1 |
2 |
|
Пределы допускаемой погрешности системы обеспечения единого времени, с |
±5 |
|
Примечания
| |
Таблица 4 - Основные технические характеристики ИК
|
Наименование характеристики |
Значение |
|
1 |
2 |
|
Количество измерительных каналов |
19 |
|
Нормальные условия: - параметры сети: - напряжение, % от ином |
от 98 до 102 |
|
- ток, % от 1ном |
от 100 до 120 |
|
- коэффициент мощности, cosф |
0,9 |
|
- температура окружающей среды, °С |
от +15 до +25 |
|
Условия эксплуатации: - параметры сети: - напряжение, % от ином |
от 90 до 110 |
|
- ток, % от 1ном |
от 2 до 120 |
|
- коэффициент мощности cos9 |
от 0,5 инд до 0,8 емк |
|
- температура окружающей среды для ТТ и ТН, °C |
от -45 до +45 |
|
- температура окружающей среды в месте расположения счетчиков и | |
|
УСПД, °C |
от +5 до +35 |
|
Надежность применяемых в АИИС КУЭ компонентов: | |
|
Счетчик электрической энергии: - средняя наработка на отказ, ч, не менее для счетчиков: | |
|
- СЭТ-4ТМ.03 |
90000 |
|
- СЭТ-4ТМ.03М |
140000 |
|
- срок службы, лет, не менее для счетчиков: - СЭТ-4ТМ.03, СЭТ-4ТМ.03М |
30 |
|
- время восстановления, ч, для счетчиков: - СЭТ-4ТМ.03, СЭТ-4ТМ.03М |
2 |
|
УСПД: - средняя наработка на отказ, ч, не менее |
75000 |
|
- срок службы, лет, не менее |
20 |
|
Сервер: - средняя наработка на отказ, ч, не менее |
70000 |
|
- время восстановления (при наличии ЗИП), ч, не более |
2 |
|
1 |
2 |
|
Глубина хранения информации | |
|
Счетчик электрической энергии: | |
|
- тридцатиминутный профиль нагрузки в двух направлениях, сут, не | |
|
менее |
100 |
|
- при отключении питания, лет, не менее |
10 |
|
УСПД: | |
|
- суточные данные о тридцатиминутных приращениях | |
|
электроэнергии по каждому каналу и электропотребление за месяц по | |
|
каждому каналу, сут, не менее |
40 |
|
- сохранение информации при отключении питания, лет, не менее |
10 |
|
Сервер: | |
|
- хранение результатов измерений и информации о состояниях | |
|
средств измерений, лет, не менее |
3,5 |
Надежность системных решений:
- резервирование питания УСПД с помощью источника бесперебойного питания;
- резервирование каналов связи: информация о результатах измерений может передаваться в организации-участники оптового рынка электроэнергии по электронной почте.
Регистрация событий:
- в журнале событий счетчика:
- параметрирования;
- пропадания напряжения;
- коррекции времени в счетчике;
- журнал УСПД:
- параметрирования;
- пропадания напряжения.
Защищенность применяемых компонентов:
- механическая защита от несанкционированного доступа и опломбирование:
- счетчика;
- промежуточных клеммников вторичных цепей напряжения;
- испытательной коробки;
- УСПД;
- сервера БД;
- защита информации на программном уровне, возможность установки многоуровневых паролей на счетчиках, УСПД, сервере, АРМ;
- организация доступа к информации ИВК посредством паролей обеспечивает идентификацию пользователей и эксплуатационного персонала;
- защита результатов измерений (при передаче, возможность использования цифровой подписи).
Возможность коррекции времени:
- счетчика (функция автоматизирована);
- УСПД (функция автоматизирована);
- сервера БД (функция автоматизирована).
Знак утверждения типа
наносится на титульные листы эксплуатационной документации на АИИС КУЭ типографским способом.
Комплектность средства измеренийВ комплект поставки входит эксплуатационная документация на систему и на комплектующие средства измерений. Комплектность АИИС КУЭ представлена в таблице 5.
Таблица 5 - Комплектность АИИС КУЭ
|
Наименование |
Обозначение |
Количество |
|
Трансформатор тока |
ТПОЛ-10 |
16 шт. |
|
Трансформатор тока |
ТПЛ-10 |
2 шт. |
|
Трансформатор тока |
ТЛО-10 |
2 шт. |
|
Трансформатор тока |
ТПЛ-10-М |
2 шт. |
|
Трансформатор тока |
ТОП-0,66 |
6 шт. |
|
Трансформатор тока |
ТШП-0,66 |
3 шт. |
|
Трансформатор тока |
ТОП М-0,66 У3 |
6 шт. |
|
Трансформатор тока |
ТВК-10 |
2 шт. |
|
Трансформатор тока |
GSWS-12D |
6 шт. |
|
Трансформатор напряжения |
НТМИ-6-66 |
8 шт. |
|
Трансформатор напряжения |
НТМИ-6 |
1 шт. |
|
Трансформатор напряжения |
ЗНОЛ.06-6 |
3 шт. |
|
Трансформатор напряжения |
ЗНОЛ.06-10 |
6 шт. |
|
Счетчик электрической энергии |
СЭТ-4ТМ.03 |
9 шт. |
|
Счетчик электрической энергии |
СЭТ-4ТМ.03М |
1 шт. |
|
Счетчик электрической энергии |
СЭТ-4ТМ.03М.01 |
3 шт. |
|
Счетчик электрической энергии |
СЭТ-4ТМ.03M.04 |
1 шт. |
|
Счетчик электрической энергии |
СЭТ-4ТМ.03M.09 |
5 шт. |
|
Устройство сбора и передачи данных |
«ЭКОМ-3000» |
1 шт. |
|
Программное обеспечение |
«Энергосфера» |
1 шт. |
|
Формуляр-Паспорт |
ИЮНД.411711.024 ФО-ПС |
1 экз. |
|
Руководство по эксплуатации |
ИЮНД.411711.024 РЭ |
1 экз. |
|
Методика поверки |
- |
1 экз. |
|
Примечание - Состав эксплуатационной документации АИИ Формуляру- Паспорту ИЮНД.411711.024 ФО-ПС. |
С КУЭ согласно | |
приведены в разделе «Метод измерений» Формуляра-Паспорта ИЮНД.411711.024 ФО-ПС.
Нормативные документы, устанавливающие требования к средству измеренийГОСТ 22261-94 Средства измерений электрических и магнитных величин. Общие технические условия
ГОСТ Р 8.596-2002 ГСИ. Метрологическое обеспечение измерительных систем. Основные положения
Изготовитель
Общество с ограниченной ответственностью «СЛК Цемент»
(ООО «СЛК Цемент»)
ИНН 6633028244
Адрес: 624800, РФ, Свердловская область, г. Сухой Лог, ул. Кунарская, 20
Телефон: +7 (34373) 79-0-38
Факс: +7 (34373) 4-35-32
Web-сайт: www.sl-cement.ru
Е-mail: info@sl-cement.ru
Испытательный центрУральский научно-исследовательский институт метрологии - филиал
ФГУП «Всероссийского научно-исследовательского института метрологии им. Д.И.Менделеева»
Адрес: 620075, г. Екатеринбург, ул. Красноармейская, д. 4
Телефон: +7 (343) 350-26-18
Факс: +7 (343) 350-20-39
Е-mail: uniim@uniim.ru
Уникальный номер в реестре аккредитованных лиц УНИИМ - филиала ФГУП «ВНИИМ им. Д.И. Менделеева» по проведению испытаний средств измерений в целях утверждения типа № RA.RU.311373

