№2794 от 18.12.2025
Приказ Федерального агентства по техническому регулированию и метрологии (Росстандарт)
# 739802
ПРИКАЗ О внесении изменений в сведения об утвержденных типах СИ (4)
Приказы по основной деятельности по агентству Вн. Приказ № 2794 от 18.12.2025
V
МИНИСТЕРСТВО ПРОМЫШЛЕННОСТИ И ТОРГОВЛИ РОССИЙСКОЙ ФЕДЕРАЦИИ
ФЕДЕРАЛЬНОЕ АГЕНТСТВО
ПО ТЕХНИЧЕСКОМУ РЕГУЛИРОВАНИЮ И МЕТРОЛОГИИ (Росстандарт)
ПРИКАЗ
18 декабря 2025 г.
2794
Москва
О внесении изменений в сведения об утвержденных типах средств измерений
В соответствии с Административным регламентом по предоставлению Федеральным агентством по техническому регулированию и метрологии государственной услуги по утверждению типа стандартных образцов или типа средств измерений, утвержденным приказом Федерального агентства по техническому регулированию и метрологии от 12 ноября 2018 г. № 2346, п р и к а з ы в а ю:
-
1. Внести изменения в сведения об утвержденных типах средств измерений в части конструктивных изменений, влияющих на их метрологические характеристики, согласно приложению к настоящему приказу.
-
2. Утвердить измененные описания типов средств измерений, прилагаемые к настоящему приказу.
-
3. Распространить действие методик поверки средств измерений, установленных согласно приложению к настоящему приказу, на средства измерений, находящиеся в эксплуатации.
-
4. ФБУ «НИЦ ПМ - Ростест» внести сведения об утвержденных типах средств измерений согласно приложению к настоящему приказу в Федеральный информационный фонд по обеспечению единства измерений в соответствии с Порядком создания и ведения Федерального информационного фонда по обеспечению единства измерений, передачи сведений в него и внесения изменений в данные сведения, предоставления содержащихся в нем документов и сведений, утвержденным приказом Министерства промышленности и торговли Российской Федерации от 28 августа 2020 г. № 2906.
-
5. Контроль за исполненном настоящего приказа оставляю за собой.
Заместитель руководителя
Е.Р. Лазаренко
Подлинник электронного документа, подписанного ЭП, хранится в системе электронного документооборота Федерального агентства по техническому регулированию и метрологии
Сертификат: 7B1801563EA497F787EAF40A918A8D6F Кому выдан: Лазаренко Евгений Русланович Действителен: с 19.05.2025 до 12.08.2026
ПРИЛОЖЕНИЕ
к приказу Федерального агентства по техническому регулированию
и метрологии
от « _8 » декабря 2025 Г. № _____
Сведения
об утвержденных типах средств измерений, подлежащие изменению
в части конструктивных изменений, влияющих на метрологические характеристики средств измерений
|
№ п/п |
Наименование типа |
Обозначение типа |
Заводской номер |
Регистрационный номер в ФИФ |
Правообладатель |
Отменяемая методика поверки |
Действие методики поверки сохраняется |
Устанавливаемая методика поверки |
Добавляемый изготовитель |
Дата утверждения акта испытаний |
Заявитель |
Юридическое лицо, проводившее испытания |
|
1 |
2 |
3 |
4 |
5 |
6 |
7 |
8 |
9 |
10 |
11 |
12 |
13 |
|
1. |
Газосигнализато ры |
СЕНС СГ-А2 |
Исполнени е СЕНС СГ-А2- СН4-КСВЗ с зав. № 231282; исполнение СЕНС СГ-А2-С3Н8-ППК с зав. № 232892 |
76364-19 |
СЕНС.413347. 021 МП |
МП 677-2025 |
21.07. 2025 |
Общество с ограниченно й ответственно стью Научно-производстве нное предприятие «СЕНСОР» (ООО НПП «СЕНСОР»), Пензенская обл., г. Заречный |
ФБУ «Пензенский ЦСМ», г. Пенза | |||
|
2. |
Термометры медицинские безртутные |
AMRUS TVY-130 |
Зав.№ 2502 (порядковы й номер 1, 2, 3, 4, 5) |
84643-22 |
Amrus Enterprises, Ltd., США |
МП 001-2021 |
МП 004-2025 |
15.08. 2025 |
Закрытое акционерное общество фирма |
ОАО «Медтехника », г. Волгоград |
|
«Москва-Амрос» (ЗАО фирма «Москва-Амрос»), г. Москва | ||||||||||||
|
3. |
Установки измерительные высоковольтные |
Метерон ИСП/М |
модификац ия Метерон ИСП/М-40 заводской № 00020334; модификац ия Метерон ИСП/М-60П заводской № 00020220 |
90789-23 |
«WUHAN GOLDSOL CO., LIMITED», Китай |
МП-НИЦЭ- 064-23 |
МП-ЛМ-002- 2025 |
04.08. 2025 |
Общество с ограниченно й ответственно стью «Евротест» (ООО «Евротест»), г. Санкт-Петербург |
ООО «ЛЕММА», г. Екатеринбур г | ||
|
4. |
Модули приема сигналов СНС ГЛОНАСС и GPS (NAVSTAR) |
ТН3/СНС |
ТН3/СНС/0 01 зав. № 373, ТН3/СНС/0 01-01 зав. № 311, ТН3/СНС/3 01 зав. № 019, ТН3/СНС/3 01-01 зав. № 002 |
89089-23 |
Акционерное общество «Конвед-6 ЛИИ» (АО «Конвед-6 ЛИИ»), Московская обл., г. Жуковский |
МП 8501-22-07 |
МП 8501-25-03 |
24.10. 2025 |
Акционерное общество «Конвед-6 ЛИИ» (АО «Конвед-6 ЛИИ»), Московская обл., г. Жуковский |
ФГУП «ВНИИФТР И», Московская обл., г. Солнечногор ск, р.п. Менделеево |
УТВЕРЖДЕНО приказом Федерального агентства по техническому регулированию и метрологии от «_ » декабря 2025 Г. № 11794
Лист № 1 Регистрационный № 84643-22 Всего листов 4
ОПИСАНИЕ ТИПА СРЕДСТВА ИЗМЕРЕНИЙ
Термометры медицинские безртутные AMRUS TVY-130Назначение средства измерений
Термометры медицинские безртутные AMRUS TVY-130 (далее - термометры) предназначены для измерений температуры тела человека.
Описание средства измерений
Принцип действия термометров основан на тепловом изменении объема термометрической жидкости в зависимости от температуры тела человека.
Конструктивно термометры состоят из герметично запаянной капиллярной трубки с резервуаром, заполненным термометрической жидкостью - нетоксичным жидким сплавом (галлий 68,5 %, индий 21,5 %, олово 10 %). Капиллярная трубка защищена прозрачной герметичной стеклянной оболочкой, внутрь которой вставлена и прикреплена продольно к капиллярной трубке пластина с нанесенной на нее шкалой для отсчета температуры. Отсчет показаний производится по вершине мениска термометрической жидкости в капиллярной трубке. Термометры имеют специальный щелевой пережим в нижней части капилляра, препятствующий спаданию столбика термометрической жидкости при охлаждении термометра.
Термометры комплектуются обычным пластмассовым футляром или футляром с увеличительной линзой, или футляром для встряхивания.
Заводской номер лота (партии) наносится на обратную сторону пластины шкалы термометра типографским способом в виде цифрового кода, также на корпус термометров наносится порядковый номер термометра в партии (лоте) любым технологическим способом в виде цифрового кода.
Общий вид термометров с указанием места нанесения знака утверждения типа, места нанесения заводского номера лота (партии) представлен на рисунке 1.
Нанесение знака поверки на термометры не предусмотрено. Пломбирование термометров не предусмотрено.
а) термометр в пластмассовом футляре

б) термометр в футляре с увеличительной линзой
в) термометр в футляре для встряхивания
Место нанесения
знака утверждения
Рисунок 1 - Общий вид термометров
типа
Место нанесения порядкового номера термометра в партии
Место нанесения заводского номера лота (партии)
Программное обеспечение отсутствует.
Лист № 3 Всего листов 4 Метрологические и технические характеристики средства измеренийТаблица 1 - Метрологические характеристики
|
Наименование характеристики |
Значение |
|
Диапазоны измерений температуры, °С |
от +35 до +42 |
|
Пределы допускаемой абсолютной погрешности измерений температуры, °С |
±0,1 |
Таблица 2 - Основные технические характеристики
|
Наименование характеристики |
Значение |
|
Цена деления шкалы, °С |
0,1 |
|
Ширина видимого столбика термометрической жидкости, мм |
0,8 |
|
Габаритные размеры (длинахширинахглубина), мм, не более |
128х12х9 |
|
Масса, г, не более |
7,7 |
|
Рабочие условия измерений: - температура окружающей среды, °С |
от +15 до +42 |
|
- относительная влажность при температуре окружающей среды +25 °С, %, не более |
98 |
|
Средняя наработка на отказ, ч |
30000 |
|
Средний срок службы, лет |
10 |
наносится на обратную сторону пластины шкалы термометра, на титульный лист руководства по эксплуатации и этикетку групповой тары типографским способом.
Комплектность средства измеренийТаблица 3 - Комплектность средства измерений
|
Наименование |
Обозначение |
Количество |
|
Термометр медицинский безртутный AMRUS TVY-130 |
- |
1 шт. |
|
Руководство по эксплуатации |
- |
1 экз. |
|
Пластмассовый футляр или футляр с увеличительной линзой или футляр для встряхивания (в зависимости от заказа) |
- |
1 шт. |
Сведения о методиках (методах) измерений приведены в разделе «Способ применения» руководства по эксплуатации.
Нормативные документы, устанавливающие требования к средству измеренийГОСТ 31516-2012 «Термометры медицинские максимальные стеклянные. Общие технические условия»
Приказ Федерального агентства по техническому регулированию и метрологии от 19 ноября 2024 г. № 2712 «Об утверждении Государственной поверочной схемы для средств измерений температуры»
Постановление Правительства Российской Федерации от 16 ноября 2020 года № 1847 п. 1.1.
Термометры медицинские безртутные AMRUS TVY-130. Стандарт предприятия
ПравообладательAmrus Enterprises, Ltd., США
Место нахождения и адрес юридического лица: 720 King Georges Post Road, Suite 305, Fords, New Jersey, 08863-1974, USA
Изготовитель
Amrus Enterprises, Ltd., США
Место нахождения и адрес юридического лица: 720 King Georges Post Road, Suite 305, Fords, New Jersey, 08863-1974, USA
Производственная площадка
1. Hangzhou Long Can Liquid Metal Technology Co, Ltd., Китай Адрес деятельности по изготовлению средств измерений: Gate 2, No. 18 Zhiren Street,
Puyan Binjiang District, 310051 Hangzhou, Zhejiang, China
2. Ningbo Hi-life Medical Technology Co., Ltd., Китай Адрес деятельности по изготовлению средств измерений: Qiaoli Village, Jiangshan
Town, Yinzhou District, Ningbo City, Zhejiang Province, 315191, P.R. China
Испытательный центр
Открытое акционерное общество «Медтехника»
(ОАО «Медтехника»)
Место нахождения и адрес юридического лица: 400002, Волгоградская обл., г. Волгоград, ул. Революционная, 57 А
Уникальный номер записи об аккредитации в реестре аккредитованных лиц RA.RU.314864
УТВЕРЖДЕНО приказом Федерального агентства по техническому регулированию и метрологии от «18 » декабря 2025 Г. № ___Лист № 1 Регистрационный № 89089-23 Всего листов 8
ОПИСАНИЕ ТИПА СРЕДСТВА ИЗМЕРЕНИЙ
Модули приема сигналов СНС ГЛОНАСС и GPS (NAVSTAR) ТН3/СНСНазначение средства измерений
Модули приема сигналов СНС ГЛОНАСС и GPS (NAVSTAR) ТН3/СНС (далее - модули) предназначены для измерений текущих навигационных параметров по сигналам навигационных космических аппаратов глобальных навигационных спутниковых систем (далее - ГНСС) ГЛОНАСС и GPS одновременно, определения на их основе координат местоположения в системе координат WGS-84, составляющих вектора скорости и синхронизации внутренней шкалы времени модуля с национальной шкалой координированного времени UTC(SU).
Описание средства измерений
К настоящему типу средств измерений относятся модули следующих модификаций ТН3/СНС/001, ТН3/СНС/001-01, ТН3/СНС/301, ТН3/СНС/301-01, которые отличаются интерфейсами подключения, габаритными размерами и комплектностью.
Принцип действия модулей основан на измерении псевдодальностей и доплеровских смещений частот по сигналам L1OF ГНСС ГЛОНАСС и L1C/A ГНСС GPS.
Параметры сигналов ГНСС согласно интерфейсному контрольному документу «ГЛОНАСС», редакция 5.1 от 2008; IS-GPS-200E от 08.06.2010.
Отслеживаются сигналы ГНСС в зоне видимости на углах возвышения более 5° относительно местного горизонта.
Условия эксплуатации в номинальной шумовой обстановке, которая не прерывает возможностей устройств к обнаружению и отслеживанию сигналов навигационных космических аппаратов.
Конструктивно модули состоят из модуля (модулей) приёма сигналов навигационных космических аппаратов ГНСС, блока антенного (блоков антенных) типа 743АТ1-А2 и (или) изделия (изделий) ААР-8Э, а также антенного разветвителя (антенных разветвителей) РГГ-2 (РГГ-2П).
Модуль эксплуатируется в составе базового комплекта твердотельного накопителя ТН3 (ТН3.100, ТН3.300) (не входит в комплект поставки). Модуль может быть установлен в любой слот базового комплекта твердотельного накопителя ТН3 в количестве не более одной штуки в один накопитель.
Диапазон расстояний до базовой станции в дифференциальном фазовом режиме работы модулей указан в руководстве по эксплуатации.
Выдача потребителю измерительной информации осуществляется по протоколам NMEA 2000 и форматах файлов данных TND, TNE с темпом 1 Гц.
Нанесение знака поверки на модули не предусмотрено.
Заводской номер в виде цифрого обозначения, состоящего из арабских цифр, наносится на переднюю панель модулей методом фрезеровки.
Общий вид модулей представлен на рисунках 1-4.
Обозначение мест нанесения знака утверждение типа Ш и заводского номера 12 представлены на рисунках 1-4. Пломбирование модулей не предусмотрено (покрыты лаком).
Рисунок 1 - Общий вид модулей модификации ТН3/СНС/001
Рисунок 2 - Общий вид модулей модификации ТН3/СНС/001-01 (наземная часть представлена в кожухе наземном (не входит в комплект поставки))
Рисунок 3 - Общий вид модулей модификации ТН3/СНС/301
Рисунок 4 - Общий вид модулей модификации ТН3/СНС/301-01 (наземная часть представлена в кожухе наземном (не входит в комплект поставки))

Общий вид антенных разветвителей РГГ-2 (РГГ-2П) представлен на рисунке 5, блоков антенных типа 743АТ1-А2 представлен на рисунке 6, изделий ААР-8Э представлен на рисунке 7.
Рисунок 6 - Общий вид блоков антенных типа 743АТ1-А2
Рисунок 7 - Общий вид
изделий ААР-8Э

Рисунок 5 - Общий вид антенных разветвителей
РГГ-2 (РГГ-2П)
Программное обеспечениеМодули работают под управлением встроенного специализированного программного обеспечения (далее - СПО).
Внешнее СПО «TN3LAB» включает прикладные управляющие программы, предназначенные для:
-
- считывания или стирания накопленной информации, загрузке подготовленных заданий в кассету памяти накопителя;
-
- подготовки заданий для функционирования накопителя при экспериментах;
-
- преобразования полученных при считывании файлов данных к виду, пригодному для дальнейшей обработки.
Внешнее специальное программно-математическое обеспечение (далее - СПМО) «Полет» предназначено для комплексной обработки измерительной информации, представляет собой пакет программ автоматизированной обработки, представления и документирования информации.
Внешнее СПО «SNSDump» позволяет сохранять информацию модулей модификаций ТН3/СНС/001 и ТН3/СНС/301, установленных в кожух ТН3/КН, в виде файлов на жёсткий диск ПЭВМ.
Встроенное и внешнее СПО (СПМО) реализовано без выделения метрологически значимой части. Влияние встроенного и внешнего СПО (СПМО) не приводит к выходу метрологических характеристик за пределы допускаемых значений.
Уровень защиты встроенного СПО TPS2, TPS3, SNM1, SNM2 «высокий» в соответствии с Р 50.2.077-2014.
Уровень защиты внешнего СПО (СПМО) TN3LAB, Полет, SNS Dump «средний» в соответствии с Р 50.2.077-2014.
Идентификационные данные программного обеспечения (далее - ПО) приведены в таблице 1.
Таблица 1 - Идентификационные данные ПО
|
Идентификационные данные (признаки) |
Значение | |||
|
внешнее ПО |
встроенное ПО | |||
|
Модуль ТН3/СНС/001 | ||||
|
Идентификационное наименование ПО |
СПО «TN3LAB» |
TPS2 | ||
|
Номер версии (идентификационный номер) ПО |
не ниже 1.0.0.7 |
не ниже 3.12 | ||
|
Модуль ТН3/СН |
[С/001-01 | |||
|
Идентификационное наименование ПО |
СПО «TN3LAB» |
СПМО «Полет» |
СПО «SNS Dump» |
TPS3 |
|
Номер версии (идентификационный номер) ПО |
не ниже 1.0.0.7 |
не ниже 4 |
не ниже 1.0.0.0 |
не ниже 3.0 |
|
Модуль ТН3/СНС/301 | ||||
|
Идентификационное наименование ПО |
СПО «TN3LAB» |
SNM1 | ||
|
Номер версии (идентификационный номер) ПО |
не ниже 1.0.0.7 |
не ниже 1.0 | ||
|
Модуль ТН3/СН |
[С/301-01 | |||
|
Идентификационное наименование ПО |
СПО «TN3LAB» |
СПМО «Полет» |
СПО «SNS Dump» |
SNM2 |
|
Номер версии (идентификационный номер) ПО |
не ниже 1.0.0.7 |
не ниже 4 |
не ниже 1.0.0.0 |
не ниже 1.0 |
Метрологические и технические характеристики
Таблица 2 - Метрологические характеристики
|
Наименование характеристики |
Значение |
|
Модуль ТН3/СНС/001 | |
|
Доверительные границы абсолютной погрешности при доверительной вероятности 0,95 определения координат местоположения по каждой координатной оси, м |( |
±5 |
|
Доверительные границы абсолютной погрешности при доверительной вероятности 0,95 определения составляющих вектора скорости, м/с |( |
±0,2 |
|
Пределы допускаемой абсолютной погрешности синхронизации внутренней шкалы времени модуля с национальной шкалой координированного времени UTC(SU) при работе по сигналам ГЛОНАСС и GPS, мкс 1) |
±1 |
|
Модуль ТН3/СНС/001-01 | |
|
Доверительные границы абсолютной погрешности при доверительной вероятности 0,95 определения координат местоположения по каждой координатной оси, м:
|
±5 ±0,3 |
Продолжение таблицы 2
|
Наименование характеристики |
Значение |
|
Доверительные границы абсолютной погрешности при доверительной вероятности 0,95 определения составляющих вектора скорости, м/с:
|
±0,2 ±0,1 |
|
Пределы допускаемой абсолютной погрешности синхронизации внутренней шкалы времени модуля с национальной шкалой координированного времени UTC(SU) при работе по сигналам ГЛОНАСС и GPS, мкс 1) |
±1 |
|
Модуль ТН3/СНС/301 | |
|
Доверительные границы абсолютной погрешности при доверительной вероятности 0,95 определения координат местоположения по каждой координатной оси, м 1) |
±5 |
|
Доверительные границы абсолютной погрешности при доверительной вероятности 0,95 определения составляющих вектора скорости, м/с 1) |
±0,2 |
|
Пределы допускаемой абсолютной погрешности синхронизации внутренней шкалы времени модуля с национальной шкалой координированного времени UTC(SU) при работе по сигналам ГЛОНАСС и GPS, мкс 1) |
±1 |
|
Модуль ТН3/СНС/301-01 | |
|
Доверительные границы абсолютной погрешности при доверительной вероятности 0,95 определения координат местоположения по каждой координатной оси, м:
|
£ -И ° -н |
|
Доверительные границы абсолютной погрешности при доверительной вероятности 0,95 определения составляющих вектора скорости, м/с:
|
±0,2 ±0,1 |
|
Пределы допускаемой абсолютной погрешности синхронизации внутренней шкалы времени модуля с национальной шкалой координированного времени UTC(SU) при работе по сигналам ГЛОНАСС и GPS, мкс 1) |
±1 |
|
Примечание - Метрологические характеристики обеспечиваются при:
| |
Таблица 3 - Технические характеристики
|
Наименование характеристики |
Значение |
|
Напряжение питания от сети постоянного тока, В |
от 24,3 до 29,7 |
|
Масса, кг, не более: | |
|
- модуль ТН3/СНС/001 (ТН3/СНС/001-01) |
0,21 |
|
- модуль ТН3/СНС/301 (ТН3/СНС/301-01) |
0,25 |
|
- блок антенный типа 743АТ1-А2 |
0,23 |
|
- изделие ААР-8Э |
1,80 |
|
- антенный разветвитель РГГ-2 (РГГ-2П) |
0,14 |
Продолжение таблицы 3
|
Наименование характеристики |
Значение |
|
Габаритные размеры, мм, не более: - модуль ТН3/СНС/001 (ТН3/СНС/001-01) | |
|
- длина |
152,5 |
|
- ширина |
21,7 |
|
- высота |
103 |
|
- модуль ТН3/СНС/301 (ТН3/СНС/301-01) | |
|
- длина |
119 |
|
- ширина |
20 |
|
- высота |
79 |
|
- блок антенный типа 743АТ1-А2 | |
|
- длина |
119 |
|
- ширина |
76 |
|
- высота |
23 |
|
- изделие ААР-8Э | |
|
- длина |
140 |
|
- ширина |
140 |
|
- высота |
75 |
|
- антенный разветвитель РГГ-2 (РГГ-2П) | |
|
- длина |
82 |
|
- ширина |
53 |
|
- высота |
22 |
|
Условия эксплуатации: | |
|
- температура окружающего воздуха, °С |
от -50 до +60 |
|
- относительная влажность окружающего воздуха |
до 80 |
наносится на титульный лист руководства по эксплуатации типографским способом и на переднюю панель модулей методом фрезеровки.
Комплектность средства измерений
Таблица 4 - Комплектность модулей модификации ТН3/СНС/001
|
Наименование |
Обозначение |
Количество |
|
Модуль ТН3/СНС/001 в составе:
|
КМНТ.464349.001 КМНТ.464349.001 ПС |
1 шт. 1 экз. |
|
Блок антенный типа 743АТ1-А2 |
- |
количество определяется договором поставки |
|
Изделие ААР-8Э |
- |
количество определяется договором поставки |
|
Антенный разветвитель РГГ-2 (РГГ-2П) |
- |
количество определяется договором поставки |
|
Руководство по эксплуатации |
КМНТ.464349.001 РЭ |
1 шт. |
|
Комплект монтажных частей |
- |
1 компл. |
|
* - поставляется по отдельному заказу | ||
Таблица 5 - Комплектность модулей модификации ТН3/СНС/001-01
|
Наименование |
Обозначение |
Количество |
|
Модуль ТН3/СНС/001-01 в составе: | ||
|
- модуль ТН3/СНС/001-01; |
КМНТ.464349.001-01 |
1 шт. |
|
- модуль ТН3/СНС/001; |
КМНТ.464349.001 |
1 шт. |
|
- паспорт |
КМНТ.464349.001-01 ПС |
1 экз. |
|
Блок антенный типа 743АТ1-А2 |
- |
количество определяется договором поставки |
|
Изделие ААР-8Э |
- |
количество определяется договором поставки |
|
Антенный разветвитель РГГ-2 (РГГ-2П) |
- |
количество определяется договором поставки |
|
Руководство по эксплуатации |
КМНТ.464349.001 РЭ |
1 шт. |
|
Комплект монтажных частей* |
- |
1 компл. |
|
* - поставляется по отдельному заказу | ||
Таблица 6 - Комплектность модулей модификации ТН3/СНС/301
|
Наименование |
Обозначение |
Количество |
|
Модуль ТН3/СНС/301 в составе:
|
КМНТ.464349.002 КМНТ.464349.002 ПС |
1 шт. 1 экз. |
|
Блок антенный типа 743АТ1-А2 |
- |
количество определяется договором поставки |
|
Изделие ААР-8Э |
- |
количество определяется договором поставки |
|
Антенный разветвитель РГГ-2 (РГГ-2П) |
- |
количество определяется договором поставки |
|
Руководство по эксплуатации |
КМНТ.464349.001 РЭ |
1 шт. |
|
Комплект монтажных частей* |
- |
1 компл. |
|
* - поставляется по отдельному заказу | ||
Таблица 7 - Комплектность модулей модификации ТН3/СНС/301-01
|
Наименование |
Обозначение |
Количество |
|
Модуль ТН3/СНС/301-01 в составе: | ||
|
- модуль ТН3/СНС/301-01; |
КМНТ.464349.002-01 |
1 шт. |
|
- модуль ТН3/СНС/001; |
КМНТ.464349.001 |
1 шт. |
|
- паспорт |
КМНТ.464349.002-01 ПС |
1 экз. |
|
Блок антенный типа 743АТ1-А2 |
- |
количество определяется договором поставки |
|
Изделие ААР-8Э |
- |
количество определяется договором поставки |
|
Антенный разветвитель РГГ-2 (РГГ-2П) |
- |
количество определяется договором поставки |
|
Руководство по эксплуатации |
КМНТ.464349.001 РЭ |
1 шт. |
|
Комплект монтажных частей* |
- |
1 компл. |
|
* - поставляется по отдельному заказу | ||
приведены в п 1.1 «Принцип работы модулей» документа КМНТ.464349.001 РЭ «Модули приема сигналов СНС ГЛОНАСС и GPS (NAVSTAR) ТН3/СНС. Руководство по эксплуатации».
Нормативные документы, устанавливающие требования к средству измерений
Приказ Федерального агентства по техническому регулированию и метрологии от 07 июня 2024 г. № 1374 «Об утверждении Государственной поверочной схемы для координатно-временных средств измерений»
КМНТ.464349.001 ТУ. Модуль приема сигналов СНС ГЛОНАСС и GPS (NAVSTAR) ТН3/СНС. Технические условия
Правообладатель
Акционерное общество «Конвед-6 ЛИИ»
(АО «Конвед-6 ЛИИ»)
ИНН 5013000335
Адрес юридического лица: 140180, Московская обл., г. Жуковский, ул. Гарнаева, д. 1, этаж 4, ком. 1
Телефон: +7(495)534-10-12
Web-сайт: https://konved.ru/
E-mail: info@konved.ru
Изготовитель
Акционерное общество «Конвед-6 ЛИИ»
(АО «Конвед-6 ЛИИ»)
ИНН 5013000335
Адрес: 140180, Московская обл., г. Жуковский, ул. Гарнаева, д. 1, этаж 4, ком. 1
Телефон: +7(495)534-10-12
Web-сайт: https://konved.ru/
E-mail: info@konved.ru
Испытательный центр
Федеральное государственное унитарное предприятие «Всероссийский научно-исследовательский институт физико-технических и радиотехнических измерений»
(ФГУП «ВНИИФТРИ»)
Адрес юридического лица: 141570, Московская обл., г. Солнечногорск, р.п. Менделеево, промзона ФГУП «ВНИИФТРИ», к. 11
Адрес места осуществления деятельности: 141570, Московская обл., г. Солнечногорск, р.п. Менделеево, промзона ФГУП «ВНИИФТРИ»
Уникальный номер записи в реестре аккредитованных лиц 30002-13
УТВЕРЖДЕНО приказом Федерального агентства по техническому регулированию и метрологии от «18 » ,^ек_^ря 2025 г. № 2794Лист № 1 Регистрационный № 90789-23 Всего листов 8
ОПИСАНИЕ ТИПА СРЕДСТВА ИЗМЕРЕНИЙ
Установки измерительные высоковольтные Метерон ИСП/МНазначение средства измерений
Установки измерительные высоковольтные Метерон ИСП/М (далее по тексту -установки) предназначены для воспроизведения высокого напряжения постоянного тока, измерений силы постоянного тока, а также для генерирования и индикации напряжения и силы переменного тока сверхнизкой частоты (от 0,01 до 0,1 Гц).
Описание средства измерений
Принцип действия установок основан на преобразовании напряжения питания в высокое напряжение переменного тока, выпрямлении этого напряжения, периодической коммутации напряжения и индуктивно-емкостной измерительной цепи.
На выходе установок может быть установлено симметричное высоковольтное синусоидальное напряжение или напряжение постоянного тока.
Для расширения диапазона нагрузки установок частота формируемого переменного напряжения может изменяться (вручную или автоматически) в пределах от 0,01 до 0,1 Гц.
Основная область применения установок: определение дефектов изоляции в силовых кабелях (в том числе с изоляцией из сшитого полиэтилена) и других изолированных цепях, имеющих значительную электрическую емкость.
Процесс измерений и вывод информации на дисплей автоматизирован и производится встроенным микропроцессором. Управление установками осуществляется оператором с помощью графического жидкокристаллического (ЖК) дисплея через интерфейс на основе меню. Установки обладают функциями таймера, часами и календарем. Результаты измерений сохраняются во встроенной памяти или выводятся на встроенный принтер.
Основные узлы установок: микропроцессор, блок управления, бустер, конденсатор, автоматическое устройство разряда, принтер, графический ЖК-дисплей, блок питания.
Установки выпускаются в девяти модификациях: Метерон ИСП/М-30, Метерон ИСП/М-40, Метерон ИСП/М-50, Метерон ИСП/М-60, Метерон ИСП/М-70, Метерон ИСП/М-80, Метерон ИСП/М-30П, Метерон ИСП/М-40П, Метерон ИСП/М-60П, отличающихся значением выходного напряжения, составом блоков и их массогабаритными характеристиками. Установки с индексом «П» представляют собой портативную версию.
Конструктивно установки состоят из следующих составных частей: блока управления, бустера, конденсатора. У модификаций с индексом «П» бустер встроен в блок управления.
Блок управления выполнен в переносном корпусе из полипропилена с откидывающейся крышкой и ручкой для переноски. На верхней панели размещены разъем сети питания, принтер, кнопка включения/выключения, графический ЖК-дисплей, разъем для подключения бустера, клемма заземления.
Бустеры выпускаются в двух модификациях: № 1 и № 2, а конденсаторы в трех модификациях: № 1, № 2 и № 3, отличающихся массогабаритными характеристиками.
Бустеры выполнены в металлических корпусах, а конденсаторы в пластиковых. Бустеры и конденсаторы и имеют высоковольтные клеммы и клеммы заземления.
Установки пломбируются от несанкционированного доступа нанесением наклеек между лицевой панелью и корпусом.
На крышке блока управления, боковых панелях бустера и конденсатора имеются информационные таблички, содержащие следующую информацию: название, технические данные, дату изготовления. На информационных табличках блока управления и бустера типографским способом нанесен заводской номер в виде цифровых обозначений, состоящий из арабских цифр, однозначно идентифицирующих каждый экземпляр.
Нанесение знака поверки на установки не предусмотрено.
Общий вид установок и их составных частей представлен на рисунках с 1 по 9.
Обозначение места пломбировки от несанкционированного доступа представлено на рисунке 1.
Обозначение места нанесения заводских номеров представлено на рисунках 8 и 9.
А
Рисунок 1 - Общий вид установок измерительных высоковольтных Метерон ИСП/М-30, Метерон ИСП/М-40, Метерон ИСП/М-50, Метерон ИСП/М-60, Метерон ИСП/М-70, Метерон ИСП/М-80 и обозначение места пломбировки от несанкционированного доступа (А)
Рисунок 2 - Общий вид блока управления для установок модификаций
Метерон ИСП/М-30, Метерон ИСП/М-40,
Метерон ИСП/М-50, Метерон ИСП/М-60
Рисунок 3 - Общий вид блока управления для установок модификаций Метерон ИСП/М-70,
Метерон ИСП/М-80
Рисунок 4 - Общий вид установок измерительных высоковольтных Метерон ИСП/М-30П,
Метерон ИСП/М-40П, Метерон ИСП/М-60П
Рисунок 5 - Общий вид блока управления для установок модификаций
Метерон ИСП/М-30П, Метерон ИСП/М-40П, Метерон ИСП/М-60П
Рисунок 7 - Общий вид конденсатора и обозначение места нанесения заводских номеров
Рисунок 6 - Общий вид бустеров

Место нанесения заводских номеров

Рисунок 8 - Обозначение места нанесения заводского номера на блоке управления
Рисунок 9 - Обозначение места нанесения заводского номера на бустере
Программное обеспечениеВстроенное ПО (микропрограмма) установок реализовано аппаратно. Метрологические характеристики установок нормированы с учетом влияния метрологически значимой части встроенного ПО. Микропрограмма заносится в программируемое постоянное запоминающее устройство установок предприятием-изготовителем и недоступна для потребителя.
Уровень защиты программного обеспечения от непреднамеренных и преднамеренных изменений - «средний» в соответствии с Р 50.2.077-2014.
Таблица 1 - Идентификационные данные программного обеспечения
|
Идентификационные данные (признаки) |
Значение |
|
Идентификационное наименование программного обеспечения |
- |
|
Номер версии (идентификационный номер) программного обеспечения |
1.Х |
|
Цифровой идентификатор программного обеспечения |
- |
|
Примечание - Х - номер версии метрологически незначимой части встроенного ПО, «Х» может принимать целые значения в диапазоне от 0 до 9 | |
Метрологические и технические характеристики
Таблица 2 - Метрологические характеристики
|
Наименование характеристики |
Значение |
|
Диапазоны воспроизведений и измерений напряжения постоянного тока положительной полярности, кВ - для модификаций Метерон ИСП/М-30, Метерон ИСП/М-30П |
от 1 до 30 |
|
- для модификаций Метерон ИСП/М-40, Метерон ИСП/М-40П |
от 1 до 40 |
|
- для модификации Метерон ИСП/М-50 |
от 1 до 50 |
|
- для модификаций Метерон ИСП/М-60, Метерон ИСП/М-60П |
от 1 до 60 |
|
- для модификации Метерон ИСП/М-70 |
от 1 до 70 |
|
- для модификации Метерон ИСП/М-80 |
от 1 до 80 |
|
Пределы допускаемой, приведенной к пределу измерений, погрешности воспроизведений и измерений напряжения постоянного тока положительной полярности, % |
±3,0 |
|
Диапазон измерений силы постоянного тока положительной полярности, мА |
св. 0 до 0,5 |
|
Наименование характеристики |
Значение |
|
Пределы допускаемой, приведенной к пределу измерений, погрешности измерений силы постоянного тока положительной полярности, % |
±3,0 |
|
Диапазоны отображений напряжения переменного тока в диапазоне частот от 0,01 до 0,1 Гц, кВ - для модификаций Метерон ИСП/М-30, Метерон ИСП/М-30П |
от 1 до 30 |
|
- для модификаций Метерон ИСП/М-40, Метерон ИСП/М-40П |
от 1 до 40 |
|
- для модификации Метерон ИСП/М-50 |
от 1 до 50 |
|
- для модификаций Метерон ИСП/М-60, Метерон ИСП/М-60П |
от 1 до 60 |
|
- для модификации Метерон ИСП/М-70 |
от 1 до 70 |
|
- для модификации Метерон ИСП/М-80 |
от 1 до 80 |
|
Диапазон отображений силы переменного тока в диапазоне частот от 0,01 до 0,1 Гц (только при емкостной нагрузке), мА: - для модификаций Метерон ИСП/М-30, Метерон ИСП/М-30П, Метерон ИСП/М-40, Метерон ИСП/М-40П, Метерон ИСП/М-50 |
св. 0 до 90 |
|
- для модификаций Метерон ИСП/М-60, Метерон ИСП/М-60П, Метерон ИСП/М-70, Метерон ИСП/М-80 |
св. 0 до 75 |
Таблица 3 - Основные технические характеристики
|
Наименование характеристики |
Значение |
|
Параметры электрического питания: | |
|
- напряжения переменного тока, В |
220 |
|
- частота переменного тока, Гц |
50 |
|
Габаритные размеры (длина х ширина х высота или диаметр), мм, не более - блока управления для модификаций Метерон ИСП/М-30, Метерон ИСП/М-40, Метерон ИСП/М-50, Метерон ИСП/М-60, Метерон ИСП/М-70, Метерон ИСП/М-80 |
400 х 310 х 200 |
|
- блока управления для модификаций Метерон ИСП/М-30П, Метерон ИСП/М-40П, Метерон ИСП/М-60П |
460 х 310 х 500 |
|
- бустера модификации № 1 |
290 х 150 х 350 |
|
- бустера модификации № 2 |
360 х 190 х 450 |
|
- конденсатора модификации № 1 |
90 х 310 |
|
- конденсатора модификации № 2 |
110 х 330 |
|
- конденсатора модификации № 3 |
110 х 450 |
|
Масса, кг, не более - блока управления для модификаций Метерон ИСП/М-30, Метерон ИСП/М-40, Метерон ИСП/М-50, Метерон ИСП/М-60, Метерон ИСП/М-70, Метерон ИСП/М-80 |
5 |
|
- блока управления для модификаций Метерон ИСП/М-30П, Метерон ИСП/М-40П |
40 |
|
- блока управления для модификации Метерон ИСП/М-60П |
45 |
|
- бустера модификации № 1 |
25 |
|
- бустера модификации № 2 |
45 |
|
- конденсатора модификации № 1 |
3 |
|
- конденсатора модификации № 2 |
4 |
|
- конденсатора модификации № 3 |
4,22 |
|
Рабочие условия измерений: | |
|
- температура окружающего воздуха, °С |
от -20 до +50 |
|
- относительная влажность при +30 °С, % |
до 85 |
|
Средний срок службы, лет |
10 |
|
Средняя наработка на отказ, ч |
10000 |
Таблица 4 - Конфигурация установок
|
Модификация установки |
Блок управления |
Модификация бустера |
Модификация конденсатора | |||
|
№ 1 |
№ 2 |
№ 1 |
№ 2 |
№ 3 | ||
|
Метерон ИСП/М-30 |
с одним выходом |
Да |
Нет |
Да |
Нет |
Нет |
|
Метерон ИСП/М-40 |
Да |
Нет |
Да |
Нет |
Нет | |
|
Метерон ИСП/М-50 |
Нет |
Да |
Нет |
Да |
Нет | |
|
Метерон ИСП/М-60 |
Нет |
Да |
Нет |
Да |
Нет | |
|
Метерон ИСП/М-70 |
с двумя выходами |
Да |
Да |
Нет |
Нет |
Да |
|
Метерон ИСП/М-80 |
Да |
Да |
Нет |
Нет |
Да | |
|
Метерон ИСП/М-30П |
- |
Нет |
Нет |
Да |
Нет |
Нет |
|
Метерон ИСП/М-40П |
Нет |
Нет |
Да |
Нет |
Нет | |
|
Метерон ИСП/М-60П |
Нет |
Нет |
Нет |
Да |
Нет | |
наносится на титульный лист руководства по эксплуатации типографским способом.
Комплектность средства измерений
Таблица 5 - Комплектность средства измерений
|
Наименование |
Обозначение |
Количество, шт./экз. |
|
Установка измерительная высоковольтная |
Метерон ИСП/М-30 |
1 |
|
Метерон ИСП/М (модификация по заказу) |
Метерон ИСП/М-40 |
1 |
|
Метерон ИСП/М-50 |
1 | |
|
Метерон ИСП/М-60 |
1 | |
|
Метерон ИСП/М-70 |
1 | |
|
Метерон ИСП/М-80 |
1 | |
|
Метерон ИСП/М-30П |
1 | |
|
Метерон ИСП/М-40П |
1 | |
|
в составе |
Метерон ИСП/М-60П |
1 |
|
- блок управления |
- |
1 |
|
- бустер |
- |
1 (2) 1) |
|
- разрядник |
- |
1 |
|
- конденсатор |
- |
1 2) |
|
Кабель высоковольтный соединительный |
1 | |
|
Кабель заземления |
1 | |
|
Кабель низковольтный соединительный |
1 | |
|
Предохранитель |
2 | |
|
Кабель питания |
1 | |
|
Бумага для принтера |
1 | |
|
Бокс для перевозки |
1 (2) 3) | |
|
Руководство по эксплуатации |
1 | |
|
Примечания: | ||
|
1) - для модификаций Метерон ИСП/М-70, Метерон ИСП/М-80; | ||
|
2) - опция; | ||
|
3) - для модификаций Метерон ИСП/М-60, Метерон ИСП/М-70, Метерон ИСП/М-80 | ||
приведены в руководстве по эксплуатации в разделе VIII. «Порядок выполнения операций».
Нормативные документы, устанавливающие требования к средству измерений
ГОСТ 22261-94 «Средства измерений электрических и магнитных величин. Общие технические условия»
приказ Федерального агентства по техническому регулированию и метрологии от 30 декабря 2022 г. № 3344 «Об утверждении государственной поверочной схемы для средств измерений электрического напряжения постоянного тока в диапазоне от 1 до 500 кВ»
приказ Федерального агентства по техническому регулированию и метрологии от 1 октября 2018 г. № 2091 «Об утверждении государственной поверочной схемы для средств измерений силы постоянного электрического тока в диапазоне от V10-16 до 100 А»
Установки измерительные высоковольтные Метерон ИСП/М. Стандарт предприятия. «WUHAN GOLDSOL CO., LIMITED», Китай
Правообладатель
«WUHAN GOLDSOL CO., LIMITED», Китай
Адрес: No. 128, Sanyang Road, Wuhan, China
Изготовитель
«WUHAN GOLDSOL CO., LIMITED», Китай
Адрес: No. 128, Sanyang Road, Wuhan, China
Испытательный центр
Общество с ограниченной ответственностью «Научно-исследовательский центр «ЭНЕРГО»
(ООО «НИЦ «ЭНЕРГО»)
Место нахождения и адрес юридического лица: 117405, г. Москва, вн.тер.г. муниципальный округ Чертаново Южное, ул. Дорожная, д. 60, эт./помещ. 1/1, ком. 14-17
Уникальный номер записи в реестре аккредитованных лиц № RA.RU.314019
В части вносимых изменений
Общество с ограниченной ответственностью «ЛЕММА»
(ООО «ЛЕММА»)
Адрес: 620102, Свердловская обл., г. Екатеринбург, ул. Ясная, д. 28, кв. 23
Телефон: +7 (343) 372-00-57
Web-сайт: www.lemma-ekb.ru
E-mail: lemma-ekb@mail.ru
Уникальный номер записи об аккредитации в реестре аккредитованных лиц Росаккредитации RA.RU.320074
УТВЕРЖДЕНО приказом Федерального агентства по техническому регулированию и метрологии от « 18 » декабря 2025 Г. № 2794Лист № 1 Регистрационный № 76364-19 Всего листов 7
ОПИСАНИЕ ТИПА СРЕДСТВА ИЗМЕРЕНИЙ
Газосигнализаторы СЕНС СГ-А2Назначение средства измерений
Газосигнализаторы СЕНС СГ-А2 (далее - газосигнализаторы) предназначены для автоматического, непрерывного измерения довзрывоопасных концентраций горючих газов и паров и сигнализации о превышении установленных порогов срабатывания сигнализации.
Описание средства измерений
Принцип действия газосигнализаторов основан на преобразовании с помощью оптического первичного преобразователя значений концентрации горючего газа в измерительный сигнал, пропорциональный содержанию определяемого компонента в воздухе, и выработке управляющих сигналов в соответствии с алгоритмом работы газосигнализаторов.
Метод измерений - прямой, инфракрасная абсорбция.
Способ отбора пробы - диффузионный.
Тип газосигнализаторов - стационарный, автоматический, электрический, одноканальный, непрерывного действия.
Конструкция газосигнализаторов представляет собой датчик газа в цилиндрическом металлическом корпусе. В корпусе имеется отсек для первичного преобразователя. Отсек закрывается колпаком с входным окном, закрытым огнепреградителем и защитным фильтром.
В состав коробки соединительной взрывозащищенной (далее - КСВЗ), обеспечивающей подключения датчика газа к внешним цепям, входят взрывозащищенные кабельные вводы, внутренняя и внешняя клемма заземления и кронштейн для крепления на месте эксплуатации.
В состав газосигнализаторов с постоянно присоединенным кабелем (далее - ППК) входят взрывозащищенный кабельный ввод и кронштейн, на котором установлена клемма заземления.
Газосигнализаторы обеспечивают выполнение следующих функций:
-
- измерение содержания определяемого компонента;
-
- выдачу цифровых сигналов по цифровым последовательным интерфейсам трехпроводной линии связи-питания системы измерительной СЕНС (протоколу СЕНС) и RS-485 (протоколам ModbusRTU или СЕНС, выбираемым пользователем).
Газосигнализаторы имеют несколько вариантов исполнения:
-
- в зависимости от поверочного компонента - метан (СН4) или пропан (С3Н8);
-
- с КСВЗ или без неё с ППК;
-
- с различными вариантами исполнения кабельных вводов или длиной кабеля (для газосигнализаторов с вариантом исполнения с ППК);
-
- в зависимости от выходного интерфейса - СЕНС (протокол СЕНС), RS-485 (протокол ModbusRTU).
Определяемые компоненты для вариантов исполнения газосигнализаторов с поверочным компонентом пропан (С3Н8): пропан (С3Н8), гексан (С6Н14), бутан (С4Н10), изобутан (2 метилпропан) (1-С4Н10), н-пентан (С5Н12), циклопентан (С5Н10), пропилен (СзНб), метиловый спирт (метанол) (СН3ОН), этанол (этиловый спирт) (С2Н5ОН), этан (С2Н6), 2-бутанон (этилметилкетон, метил ацетон, метилэтилкетон) (С4Н9ОН), 1-бутен (n-бутилен, этилэтилен) (ПС4Н8).
Определяемые компоненты для вариантов исполнения газосигнализаторов с поверочным компонентом метан (СН4): метан (СН4), этилен (этен) (С2Н4), ацетон (2-пропанон, диметилкетон) (СН3СОСН3).
Вариант исполнения газосигнализаторов определяется в соответствии со структурой условного обозначения по эксплуатационной документации следующим образом:
Газосигнализатор СЕНС СГ - А2 - A - B - C - D - E:
где A - код, определяющий тип поверочного компонента;
B - код, определяющий вариант исполнения устройства крепления;
С - код, определяющий вариант исполнения кабельных вводов или длину кабеля;
D - код, определяющий вариант исполнения кабельных вводов;
Е - код, определяющий вариант исполнения выходного интерфейса.
Примечания:
-
1 Подробное описание вариантов исполнения газосигнализатора приведено в руководстве по эксплуатации;
-
2 Коды вариантов исполнений по умолчанию не указываются.
Заводской номер газосигнализатора наносится на информационную табличку, размещенную на корпусе газосигнализатора, в цифровом формате, способом лазерной или ударно-точечной маркировки.
Нанесение знака поверки на газосигнализаторы не предусмотрено.
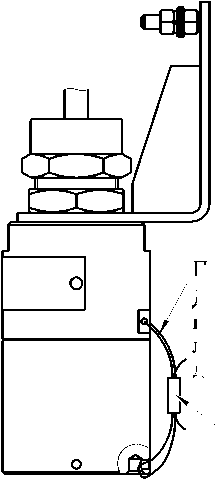
Внешний вид газосигнализаторов показан на рисунках 1 и 2.
В зависимости от варианта исполнения газосигнализатора конструкция кабельного ввода может отличаться от представленных на рисунках 1 и 2.
Место нанесения заводского номера
Место нанесения знака утверждения типа
Рисунок 1 - Внешний вид газосигнализатора с вариантом исполнения с КСВЗ


Рисунок 2 - Внешний вид газосигнализатора с вариантом исполнения с ППК
Конструкция газосигнализаторов обеспечивает ограничение доступа к внутренним элементам с целью предотвращения несанкционированного доступа. Схема пломбировки от несанкционированного доступа приведена на рисунке 3.



Проволока 0,5.
Допускается пломбировать проволокой вязальной любой стандартной марки диаметром 0,5 мм.
Пломба
а) б)
а) газосигнализатор с вариантом исполнения с КСВЗ
б) газосигнализатор с вариантом исполнения с ППК
Рисунок 3 - Схема пломбировки газосигнализаторов
Программное обеспечениеВ газосигнализаторах применяется встроенное программное обеспечение (далее - ПО), которое устанавливается (прошивается) в энергонезависимую память микроконтроллера газосигнализаторов при изготовлении. ПО имеет разделение на метрологически значимую часть и метрологически незначимую часть ПО.
Встроенное ПО предназначено для выполнения математической обработки результатов измерений от первичного преобразователя, хранения в энергонезависимой памяти результатов измерений, формирования цифровых сигналов, настройки и проведения диагностики газосигнализаторов.
Метрологически значимая часть исполняемого кода программы во внутренней памяти микроконтроллера защищается циклической контрольной суммой, которая непрерывно контролируется соответствующей функцией диагностики. При обнаружении ошибок контрольной суммы функция диагностики установит флаг ошибки.
Просмотр номера версии и цифрового идентификатора ПО возможен с помощью любой аппаратуры сбора данных, поддерживающей протоколы газосигнализаторов.
Встроенное ПО защищено от непреднамеренных и преднамеренных изменений посредством ввода пароля и механическим пломбированием.
Защита ПО и измерительной информации от непреднамеренных и преднамеренных изменений соответствует уровню «средний» по Р 50.2.077-2014.
Идентификационные данные метрологически значимой части ПО приведены в таблице 1.
Таблица 1 - Идентификационные данных метрологически значимой части ПО
|
Идентификационные данные (признаки) |
Значение |
|
Идентификационное наименование ПО |
Программа СЕНС СГ - А2 |
|
Номер версии (идентификационный номер) ПО |
А94Х* |
|
Цифровой идентификатор ПО (hex) |
0x9BD634E3 |
|
Алгоритм вычисления цифрового идентификатора ПО |
CRC32 |
|
* Последний индекс значения номера версии ПО допускает наличие буквенных или цифровых значений, отвечающих за метрологически незначимую часть ПО. | |
Метрологические характеристики приведены в таблицах 2-4.
Таблица 2 - Определяемые компоненты, диапазоны измерений и пределы допускаемой основной
погрешности измерений
|
Определяемый компонент |
Диапазон измерений довзрывоопасной концентрации, % НКПР |
Пределы допускаемой основной погрешности измерений довзрывоопасной концентрации | |
|
абсолютной в диапазоне измерений от 0 до 60 % НКПР включ., % НКПР |
относительной в диапазоне измерений св. 60 до 100 % НКПР, % | ||
|
метан (СН4) |
от 0 до 100 |
±3 |
±5 |
|
этилен (этен) (С2Н4) |
от 0 до 50 |
±3 |
- |
|
2-пропанон (ацетон, диметилкетон) (СН3СОСН3) | |||
Продолжение таблицы 2
|
Определяемый компонент |
Диапазон измерений довзрывоопасно й концентрации, % НКПР |
Пределы допускаемой основной погрешности измерений довзрывоопасной концентрации | |
|
абсолютной в диапазоне измерений от 0 до 60 % НКПР включ., % НКПР |
относительной в диапазоне измерений св. 60 до 100 % НКПР, % | ||
|
пропан (СзН8) |
от 0 до 100 |
±3 |
±5 |
|
гексан (СбН14) | |||
|
бутан (С4Н10) | |||
|
2-метилпропан (изобутан) (1-С4Н10) |
от 0 до 50 |
±3 |
- |
|
н-пентан (С5Н12) | |||
|
циклопентан (С5Н10) |
±5 | ||
|
пропилен (СзНб) |
±3 | ||
|
метанол (метиловый спирт) (СНзОН) | |||
|
этанол (этиловый спирт) (С2Н5ОН) |
±5 | ||
|
этан (С2Н6) |
±3 | ||
|
2-бутанон (этилметилкетон, метил ацетон, метилэтилкетон) (С4Н9ОН) |
±5 | ||
|
1-бутен (n-бутилен, этилэтилен) (ПС4Н8) |
±3 | ||
Таблица 3 - Поверочные компоненты, диапазоны измерений и пределы допускаемой основной
погрешности измерений
|
Поверочный компонент |
Диапазон измерений довзрывоопасной концентрации, % НКПР |
Пределы допускаемой основной погрешности измерений довзрывоопасной концентрации | |
|
абсолютной в диапазоне измерений от 0 до 60 % НКПР включ., % НКПР |
относительной в диапазоне измерений св. 60 до 100 % НКПР, % | ||
|
метан (СН4) |
от 0 до 100 |
±3 |
±5 |
|
пропан (С3Н8) | |||
Таблица 4 - Метрологические характеристики
|
Наименование характеристики |
Значение |
|
Вариация выходного сигнала, в долях от пределов допускаемой основной погрешности, не более |
1 |
|
Пределы допускаемой дополнительной погрешности измерений, вызванной отклонением температуры окружающей среды от нормальной на каждые 10 °С, в долях от пределов допускаемой основной погрешности |
±0,6 |
Продолжение таблицы 4
|
Наименование характеристики |
Значение |
|
Пределы допускаемой дополнительной погрешности измерений, вызванной отклонением давления окружающей среды в диапазоне от 80 до 120 кПа на каждые 3,3 кПа относительно нормального, в долях от пределов допускаемой основной погрешности |
±1 |
|
Пределы допускаемой дополнительной погрешности измерений, вызванной отклонением относительной влажности анализируемой среды от нормальной, в долях от пределов допускаемой основной погрешности |
±1 |
|
Время установления выходного сигнала t(90), с, не более |
60 |
Основные технические характеристики приведены в таблице 5.
Таблица 5 - Основные технические характеристики
|
Наименование характеристики |
Значение |
|
Напряжение питания постоянного тока, В |
от 5 до 36 |
|
Потребляемая мощность, Вт, не более |
1,2 |
|
Время прогрева, с, не более |
120 |
|
Нормальные условия измерений: - температура окружающей среды, °С |
от +15 до +25 |
|
- относительная влажность окружающей среды, %, не более |
80 |
|
- относительная влажность анализируемой среды, %, не более |
30 |
|
- атмосферное давление, кПа |
от 96,7 до 103,3 |
|
Рабочие условия применения: - температура окружающей среды, °С |
от -40 до +60 |
|
- относительная влажность окружающей среды и анализируемой среды | |
|
без конденсации влаги, %, не более |
98 |
|
- атмосферное давление, кПа |
от 80 до 120 |
|
Габаритные размеры (высотахширинахдлина), мм, не более: - для варианта исполнения с КСВЗ |
210х95х250 |
|
- для варианта исполнения с ППК |
170x75x65 |
|
Масса, кг, не более: - для варианта исполнения с КСВЗ |
2,5 |
|
- для варианта исполнения с ППК |
1,5* |
|
Маркировка взрывозащиты: - для варианта исполнения с КСВЗ |
1Ex db IIB T4 Gb |
|
- для варианта исполнения с ППК |
1Ex db IIB T4 Gb Х |
|
* Масса газосигнализатора для варианта исполнения с ППК указана при длине кабеля | |
|
равной 2 м. Значение массы газосигнализатора при других значениях длин кабеля | |
|
рассчитывается по следующей формуле: т = 1,3 + 0,1 • L, где т - масса газосигнализатора, кг; L - длина кабеля, м. | |
наносится на таблички газосигнализаторов методом металлографской печати и на титульные листы паспорта и руководства по эксплуатации в верхний правый угол типографским способом.
Комплектность средства измеренийКомплектность приведена в таблице 6.
Таблица 6 - Комплектность средства измерений
|
Наименование |
Обозначение |
Количество |
|
Газосигнализатор |
СЕНС СГ-А2 |
1 шт. |
|
Комплект монтажных частей |
- |
1 компл. |
|
Руководство по эксплуатации (на партию) |
СЕНС.413347.021 РЭ |
1 экз. |
|
Паспорт |
СЕНС.413347.021 ПС |
1 экз. |
приведены в разделе 1.4 «Устройство и работа» руководства по эксплуатации СЕНС.413347.021 РЭ.
Нормативные документы, устанавливающие требования к средству измеренийПриказ Росстандарта от 31.12.2020 № 2315 «Об утверждении государственной поверочной схемы для средств измерений содержания компонентов в газовых и газоконденсатных средах»
СЕНС.413347.021 ТУ Газосигнализатор СЕНС СГ-А2. Технические условия
ИзготовительОбщество с ограниченной ответственностью Научно-производственное предприятие «СЕНСОР» (ООО НПП «СЕНСОР»)
ИНН 5838002196
Адрес: 442961, РФ, Пензенская обл., г. Заречный, ул. Промышленная, стр. 5
Телефон/факс: (8412) 65-21-00
E-mail: info@nppsensor.ru
Web-сайт: www.nppsensor.ru
Испытательный центрФедеральное бюджетное учреждение «Государственный региональный центр стандартизации, метрологии и испытаний в Пензенской области»
(ФБУ «Пензенский ЦСМ»)
Адрес: 440028, г. Пенза, ул. Комсомольская, д. 20
Телефон (факс): (8412) 49-82-65
Е-mail: info@penzacsm.ru
Web-сайт: www.penzacsm.ru
Уникальный номер записи об аккредитации в Реестре аккредитованных лиц RA.RU.311197

